Curiosii for ever!: Car repair manuals for everyone.

Navigation System, RTI













Navigation system, RTI













































INTRODUCTION
- Read through all of the instructions before starting installation.
- Notifications and warning texts are for your safety and to minimize the risk of something breaking during installation.
- Ensure that all tools stated in the instructions are available before starting installation.
- Certain steps in the instructions are only presented in the form of images. Explanatory text is also given for more complicated steps.
- In the event of any problems with the instructions or the accessory, contact your local Volvo dealer.







Cars equipped with SRS/SIPS (Airbag)

Warning! Extra care must be taken when working on cars equipped with SRS/SIPS air bags. This is important to prevent:1. Personal injury2. Damage to or malfunction of the SRS/SIPS system.Work on the SRS/SIPS systems or related components must always be carried out by an authorized Volvo workshop.

Is the car equipped with SRS (supplemental restraint system)?
Cars equipped with a driver's airbag have the letters "SRS" imprinted on the centre panel of the steering wheel. Cars equipped with driver's and passenger airbags are marked with "SRS" on both the steering wheel centre panel and also on the dashboard close to the airbag.
If the car is equipped with SIPS (side impact protection system ) a "SIPS" decal is marked on both the front seats.
Cars equipped with inflatable curtains have the marking "SRS" on one of the panels along the posts on the inside of the car.
Cars equipped with SRS (supplemental restraint system) also have an "SRS" decal on the front windscreen.

Do not damage the SRS wiring!
Do not trap, chafe, pierce or damage the SRS wiring. SRS wiring has orange casing and/or is plaited.

Steering and front suspension
The contact reel in the SRS system can easily be damaged when working on the steering wheel, steering shaft or steering gear. Refer to the SRS (supplemental restraint system) for information on carrying out such work. This is to prevent damage.

SRS warning lamp
If the SRS warning lamp lights after repairs have been carried out, take the car to an authorized Volvo workshop.

SRS collision sensor control module







S60 / V70 (00-) / S80 / XC90
The collision sensor control module is located on the tunnel under the centre console, in front of the parking brake.

CAUTION!
The air bag inflation areas must not be obstructed. Never place any objects, such as upholstery or accessories, within these areas. The panels must be able to open in the correct manner at the right time, otherwise there is an increased risk of personal injury in the event of a collision.







CAUTION!
The ignition must be in position "0" and the key removed from the ignition switch if any connector in the SRS system is to be unplugged. Then wait at least one minute and disconnect the battery negative lead before unplugging any of the connectors. When work is completed, the ignition key must be turned to position "II" before reconnecting the battery negative lead.







Navigation system, RTI

Note! This accessory requires software unique to the car.

Note! For European users, the TMC unit, part number 6849907, can be purchased separately.

Preparations





- Download the software for the accessory's function.

Note! The software must be loaded before installing the accessory.





- Place the driver's seat in its rearmost position.
- Turn the ignition switch to position 0.
- Disconnect the battery negative lead

Note! Wait at least three minutes before unplugging the connectors or removing other electrical equipment.


Illustration A




Remove the loudspeaker grille as follows:
- Take a piece of welding rod - 1.5 mm (1/16"). Bend it 90° at one end, L=5 mm (13/64"). The other end is bent to create a handle.
- First insert the bent end in the joint between the loudspeaker grille and the dashboard approximately as illustrated, until it engages.
- Turn the welding rod 90°so that the bent section catches the underneath of the loudspeaker grille. The welding rod may need moving along the joint to be turned.

Illustration B




- Pull upwards until the loudspeaker grille detaches, it is securely fastened by four clips.

Note! Do not damage the dashboard.

- Place the loudspeaker grille to one side.

Illustration C





Applies to cars without centre loudspeakers
- Remove the bracket for the loudspeaker grille by removing the five screws and pulling the grille up from the dashboard.

Illustration D





Applies to cars with a centrally mounted loudspeaker
- Remove the five screws in the loudspeaker. Pull the loudspeaker up slightly from the dashboard and disconnect the connector.






Applies to cars with automatic gearbox
- Turn the ignition key to position II.

Applies to all models
- Move the gear selector lever to its rearmost position.
- Carefully pry off the gear level panel at the rear edge using a weatherstrip tool. Pull the panel backwards to access the screws for the climate control panel.





- Remove the two screws holding the bracket to the climate control panel and the control module.
- Pull out the bracket at the lower edge and pull it downwards away from the top edge.
- Disconnect the connectors from the climate control panel, control module and CD player and/or Minidisc player connectors, if applicable.





- Remove the center console's left-hand side panel by first pulling it away starting at the front edge and then backwards until all the clips have released.






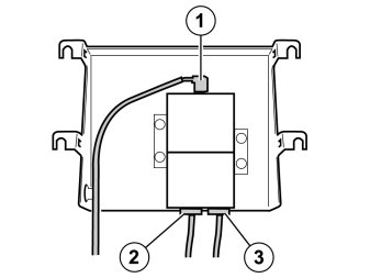
Image A. Applies to cars with Volvo on call (VOC)
- Remove the 4 VOC GPS tuner screws, the tuner will not be reused.





Image B. Applies to cars with Volvo on call (VOC)
- Remove:
1. 1- connection to the Global Positioning System (GPS) antenna.
2. 2- connection to MOST.
3. 3- existing power supply to GPS tuner.

Note! Cable connection (3) will no longer be used, clamp the connector in a suitable location.

Steps 7-19 do not apply to cars with Volvo On Call (VOC)




- Bend up the four punched out carpet tabs under the left-hand front seat.





- Take the four rivet nuts from the kit and install them in the pre-punched holes under the carpet tabs.
- Take rivet tool P/N 9512782 and tighten the rivet nuts. If necessary: Remove the mounting bracket for front-rear seat adjustment (applies to cars with manual seats).

Installing the antenna cable





- Remove the sound barrier on the right-hand side by first removing the two screws and then prizing it away at the top edge.





- Remove the panel on the right-hand end of the dashboard.





- Pry off the covers on the grab handle in the right-hand front door and remove the screws under them.





- Pull of the weatherstrip (1) for the door at the A-pillar.
- Remove the right-hand A-post panel by carefully pulling it out by the upper edge until the clips inside release. Pull it up from the mounting in the dashboard.

Note! Do not damage the headlining.





- Fold down the cover (1) by carefully pulling the front edge of the cover down.
- Press the catches (2) together. Pull the front edge of the panel down and then pull off at the rear edge.





- Detach the rear-view mirror and front interior lighting (1) by first removing the two screws (2) and then pressing in the eight catches (3) around the interior lighting.
- Carefully pull the components downwards and allow them to hang from their cables. The interior lighting is secured in the roof by clips (4).
- Remove the connector for the rain sensor (if applicable).





- NOTE! When installing the GPS antenna where there is already a GSM antenna, move the GSM section to the GPS antenna supplied with the kit. Make sure that the earth for the screen is correctly positioned when installing.





- Wrap foam tape around the entire cable before installing.
- Install the new antenna. Carefully bend the headlining downward and slide the antenna backward and inwards. Align the antenna lugs (1) with the grooves in the bracket (2)
- Insert the cable on the top of the roof panel's front edge. Pull it further along, out towards the right-hand A-post so that it is concealed at the top the headlining.
- Reinstall the bracket with rear-view mirror. Tighten the screws to 10 Nm (7.5 lbf.ft.).
- Reinstall the panel and lock using the cover.
- If there is a rain sensor, route the cable so that it lies underneath the antenna. Reinstall the connector.





- Install the cover over the antenna.
1. For cars with a rain sensor, use the larger cover from the kit.
2. For cars without a rain sensor, use the smaller cover from the kit.





- Route the cable above the headlining, all the way to the A-post.
- Route the cable down from the headlining and along the right-hand A-post
- Tape the cable onto the existing cable harness at points (1).

Warning! Do not route over the inflatable curtain as this may affect the function in the event of a collision.





- Wrap foam tape around the entire cable before installing
- Take the extension cable from the kit. Insert it down between the A-post and the right-hand side of the dashboard, continue along the right-hand end of the dashboard and pull out at the front edge of the floor.
- Pull the cable to the left, along the front edge of the floor and up to the inside of the center console.
- Connect both connectors (1) at the A-post to each other.
- Wrap foam tape around the connectors to prevent rattling.

Installing cable harness and antenna cable






Applies to cars with Volvo on call (VOC)
- Take the cable harness from the kit. The fiber optic cable connections on the cable harness will not be used.
- Wrap foam tape around the connectors for the fiber optic cables to prevent rattling.





- Take the two cable harnesses, fiber optic cable harness (1) with the cable harness for the power supply (2), and the cable harness for the display screen (3), from the kit. Route them up along the air duct on the left-hand side of the center console.

Note! Do not damage the fiber optic cables. They must not be bent to a radius less than 30mm (1 11/64") as they can damage and affect the function of the Multimedia Module (MMM).

- The fiber optic cable harness (1) with the cable harness for the power supply (2), are placed inside the center console.

Note! In cases where the TMC cable (Europe) requires to be routed in the same way as cable harness (1). The double connection must be connected to IAM.

- The blue connector in cable harness (2) and cable harness (3) is routed up to the outlet in the dashboard.
- Pull the cable harnesses backwards, in front of the carpet on the center console's left-hand side, under the left-hand seat's seat rail, and out through the carpet join under the seat.

Does not apply to cars with (VOC)
- Route the antenna cable (4) in the same direction as cable harness (1) to Multimedia Module (MMM).

- Reinstall the A post panel.
- Tighten the grab handle to 10 Nm (7.5 lbf. ft.) and reinstall the covers.
- Reinstall the rubber trim in the right-hand front door.
- Reinstall the panel on the dashboard end face.
- Reinstall the soundproofing panel on the right-hand side.

Installing and connecting the display screen.





- Install the bracket for the display screen by moving the screen unit up in the bracket from underneath.
- Tighten the display screen unit by the bracket using screws from the kit.






Applies to cars without centre loudspeakers
- Connect the cables from the Multimedia Module (MMM) (1) to the display screen (2).
- Install the display screen with the bracket in the dashboard. Use the existing screws (3).
- Take the new loudspeaker grille from the kit and press it into the dashboard.






Applies to cars with a centrally mounted loudspeaker
- Connect the three cables (1) to the display screen and the centrally mounted loudspeaker.
- Press the display screen and bracket into the dashboard. Tighten using the five existing screws (2).
- Press the new loudspeaker grille, from the kit, into place on the dashboard.






Applies to all models
- Connect the gray connector from the power supply cable harness to the existing connector.
- Secure the excess gray connector.





- Connect the TMC cable (Europe) as illustrated.
- Connect the TMC wiring between IAM and the existing connector in the car's cable harness.

Steps 28-30 do not apply to cars with Volvo On Call (VOC)




- NOTE: It is important that the wiring is connected to the IAM and not the ICM. Do not mix up the fiber optic connections in the existing cable network.





- Take the MOST cable from the kit and connect it between IAM and existing MOST cable.





- Take the bend protection from the kit and attach it with tape as illustrated. The bend protection is to prevent the fiber optic cable from bending too much, being damaged and risking malfunction of the accessory.
- When reinstalling the center console, the fiber optic cable to MOST must be positioned so that it does not get trapped when the center console is reinstalled.

Connecting and installing the Multimedia Module (MMM)





- Take the Multimedia Module (MMM) from the kit and remove the protective plug from the connector to the fiber optic cable connection.






Connect the pre-routed cables to the Multimedia Module (MMM)
- the cable (1) for the display screen.
- cable (2) to the car's fiber optic cable system.
- cable (3) to the power supply.
- cable (4) to the Global Positioning System (GPS) antenna.
- cable (5) to TMC (Europe).

Applies to cars with Volvo On Call (VOC)
- Secure the cable excess for the GPS antenna in a suitable location.
- When connecting cable (2), existing cables must be used, not those supplied in the kit.





- Take four screws from the kit, place the Multimedia Module (MMM) mounting brackets above the rivet nuts and tighten the unit.
- Conceal the cables under the carpet at the rear of the Multimedia Module (MMM).
- Bend the carpet tabs back over the screws.

Note! Do not damage the fiber optic cables. They must not be bent to a radius less than 30mm (1 11/64") as they may become damaged and affect the function of the Multimedia Module (MMM).

Installing the keypad in the steering wheel





- Position the steering wheel in its lowest and rearmost position.
- Remove the surround for the combined instrument panel and the upper steering wheel cover by first removing the screws (1) and then pull the surround off backwards, it is attached by two clips at the rear edge.
- Then carefully pry off the upper steering wheel cover using a plastic weatherstrip tool, it is secured by two clips on the inside of each long side.
- Remove and place the modules to one side.





- Turn the steering wheel 90° to the position shown in the illustration and so that the two holes on the back side are accessible.





- Insert a screwdriver in the hole along the rear edge of the steering wheel perpendicular to the rear surface of the steering wheel.
- Insert the screwdriver as far as possible to find the end of the locking spring (1).
- Place the end of the screwdriver on the top of the locking spring.
- Move the screwdriver upwards towards the upper edge of the hole (2) until the spring releases and one side of the steering wheel module detaches from the mounting.
- Turn the steering wheel 180° and repeat the operation on the other side.
- Turn the steering wheel to a neutral position.





- Fold the steering wheel module out
- Unplug the two connectors (1) to the airbag transmitter cables.

Note! The connectors are tightly secured. However, tools must not be used when removing.

- Place the steering wheel module to one side.






Remove:
- the screw (1) and detach the ground lead.
- the horn connector (2) and keypads.
- the three screws (3) and lift out the horn ring (4).





- Turn the steering wheel to the left so that the right-hand side of the steering wheel points to the left.
- Take the cutting template from the kit and secure it to the right-hand side of the steering wheel as illustrated.
- Attach the template using a tie strap.





- Set the steering wheel in a suitable position and cut-out following the template. Use a small knife.

Note! When cutting, make sure to hold the knife so that the cuts are perpendicular to the back side of the steering wheel. This will reduce the risk of cutting a hole that is too large since the edge around the keypad is only a few millimeters larger than the keypad itself.





- Cut away some of the material on the back side of the steering wheel spoke.
- Test and cut until the keypad fits properly.





- Remove the keypad, two screws and clamp from the kit.
- Ensure that the cable is underneath the steering wheel spoke (When the steering wheel is straight).
- Insert the keypad into the hole in the steering wheel with the text on the keypad facing up. Press until it connects securely against the steering column cover.





- Install the screws and attach the keypad with the clamp around the steering wheel spoke.





- Position the horn ring and position it as illustrated.
- Plug in the installed keypad connector to the terminal on the back side of the keypad on the right-hand side of the horn ring. The cable from the installed keypad is very short and it is not easy to plug into the connector.

- Reinstall the horn. Ensure that the three springs are in place and check that the ground lead is not trapped.
- Tighten the screws alternately to 6.5 Nm (5 lbf.ft.).
- Reinstall the ground lead. Tighten.
- Plug in the horn connector and keypads.
- Check the function of the horn ring by pressing around the entire edge.





- Check that the two springs (1) are in position
- Position the steering wheel module and press the two airbag transmitter cable connectors firmly in place.

Note! The cables must be routed through the existing holder (2).

- Insert the two lugs on the back side of the steering wheel module into the two springs and make sure the transmitter cables are not obstructed.
- Press the steering wheel module firmly into its mountings. Two clearly audible clicks should be heard.
- Reinstall the surround for the combined instrument panel and the steering wheel cover.





- Turn the ignition key to position II.
- Connect the battery negative lead.