Curiosii for ever!: Car repair manuals for everyone.

Connecting The Breakout Box, Brake Control Module (BCM)






Connecting the breakout box

Special tools:
951 1428 Breakout box 951 1428 Breakout box
951 2958 BCM-adapter 951 2958 BCM-adapter

Connecting the breakout box




- Ignition off
- Expose the brake control module (BCM). See: Anti-lock Brake System Module (ABS) Anti-Lock Brake System Module (ABS)
- Disconnect the connector from the brake control module (BCM)
- Check in particular that the male and female terminals on the control module and the control module connector are intact, secure and cannot be pressed in. Check that the female terminal cables are securely connected
- Especially check the pins that are in question for the diagnostic trouble code/symptom. See Signal description, brake control module (BCM) Signal Description, Brake Control Module (BCM).
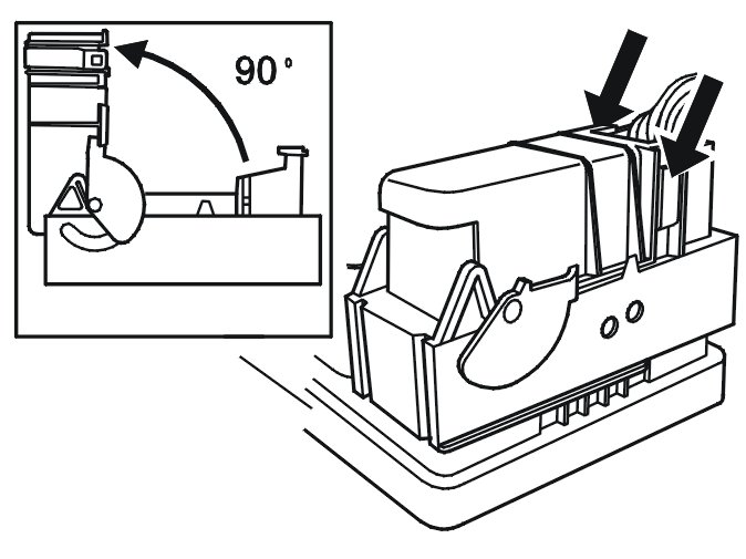
- Connect adapter 951 2958 BCM-adapter 951 2958 BCM-adapter to the brake control module (BCM) connector (wiring side). Connect breakout box 951 1428 Breakout box 951 1428 Breakout box to the adapter.
- The breakout box is designed to facilitate reading off the control module input and output signals when the control module is connected; and the resistance of the cable and component when the control module is disconnected. The use of a breakout box reduces the risk of accidental short-circuits and damage to the connector pins.