Curiosii for ever!: Car repair manuals for everyone.

Network Design






Network design

General

S80/V70/XC70/XC60 (from and including structure week 200946)





XC60 (up to structure week 200946)




The MOST network is an optical network where all control modules are connected in a ring.
All messages within the MOST-net pass in one and the same direction from Infotainment Control Module (ICM) to Accessory USB Unit (AUU) (applies to S80/V70/XC70) respective Remote digital audio receiver (RDAR)/Digital Audio Broadcast Module (DABM) (applies to XC60).
In a fiber optic network, light pulses are transmitted instead of electrical signals. The light pulses are interpreted in the same way as the electrical signals on the CAN network.
The MOST network uses the master-slave concept. This means that a master control module, infotainment control module (ICM) has overall control of communication on the MOST network.
The fiber optic cable is made of plastic. Communication is using red light on a wavelength of 650 Nm.

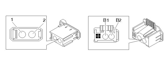
The optical connector









Each control module in the MOST network has an optical connector which consists of two diodes, a sender diode and a receiver diode. These transmit and receive light pulses.
The actual communication between two control modules is as follows. A sender diode transmits the message as a light pulse. This is transmitted from the control module via the MOST network to a photo-optical receiver diode in the receiving control module.
The two optical terminals in the connector are numbered in the same way on all control modules in the MOST network. There are two sizes of switch that the two optical terminals are mounted in. One with a connector with integrated power supply is integrated with the optical terminals and the other has a connector with only the optical terminals.

MOST communication
All messages are transmitted as light pulses in the same direction on the MOST network. This means that if other control modules are connected between the two control modules which are communicating, the light pulses pass through these with no effect on the information. The control modules which are passed through amplify the light pulse so that it does not become too weak.
A control module with an internal fault can be set to bypass mode. In this mode, the light pulses are sent straight through the control module without the control module amplifying the light pulse. This means that the distance before the light pulse is amplified is longer and therefore the luminance is weaker. If the light pulse is too weak, it cannot be received by the receiving control module.
The infotainment control module (ICM) is the gateway between the MOST and CAN networks for communication to and from control modules connected on the CAN network.
The infotainment control module (ICM) monitors the communication on the MOST network. This involves distributing sound channels on the MOST network, so that sound data can be distributed from, for example, the Integrated Audio Module (IAM) to the audio module (AUD). The majority of activations on the MOST network are initiated by the infotainment control module (ICM).
The infotainment control module (ICM) also manages diagnostic trouble codes (DTCs) on the MOST network.
If a control module on the MOST network stops working and is unable to transmit light pulses onwards, or if there is an open-circuit in the fiber optic cable, the entire MOST network will stop working. This means that all the control modules on the MOST network will stop working. For further information about remedying this, see: Fault management on the MOST network Fault Management on the MOST Network
The infotainment control module (ICM) must always be connected on the MOST network for communication on the MOST network to work.
The MOST network connections increase and the signal routing may change when control modules are added because a adapter cable harness is used to connect the new control module.

Location of control modules on the MOST network

S80/V70/XC70/XC60 (from and including structure week 200946)





XC60 (up to structure week 200946)





Note! The control modules on the MOST network should be positioned in a particular order. If this order is not followed, the fault-tracing of the MOST network will be more difficult.

When a control module is added to the MOST network, it should be placed in the correct order on the network to make it easier to fault-trace the control modules.
If the control modules are connected in another order, this does not effect the function of the MOST network, but fault-tracing will be more difficult.

The control modules are positioned in the following order (applies to S80/V70/XC70/XC60 from and including structure week 200946):
1. Infotainment control module (ICM)
2. Phone module (PHM)/ Bluetooth phone module (BPM)
3. Audio module (AUD)
4. Multimedia module (MMM)
5. Subwoofer module (SUB) (only V70/XC70/XC60)
6. Remote digital audio receiver (RDAR) (only USA market)/Digital Audio Broadcast Module (DABM) (applies to all other markets from and incl. structure week 200846)
7. Integrated Audio Module (IAM)
8. Accessory USB unit (AUU)

The control modules should be positioned in the following order (applies to the XC60 up to structure week 200946):
1. Infotainment control module (ICM)
2. Integrated Audio Module (IAM)
3. Accessory USB unit (AUU)
4. Phone module (PHM)/ Bluetooth phone module (BPM)
5. Audio module (AUD)
6. Multimedia module (MMM)
7. Subwoofer module (SUB)
8. Remote digital audio receiver (RDAR) (only USA)/ Digital Audio Broadcast Module (DABM) (applies to other markets)
If the minimum configuration of control modules on the MOST network in the car is used, the following control modules are connected:
- Infotainment control module (ICM)
- Integrated Audio Module (IAM)