Curiosii for ever!: Car repair manuals for everyone.

Signal Specification, Driver's Door Module / Passenger Door Module (DDM/PDM)






Signal specification

General
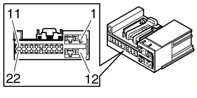
All the values given below are between the respective terminal in column 1 and terminal #C1:13 in column 2 (power ground) unless otherwise stated in brackets after the table entry.

Note! It is important to connect the breakout box and check the ground terminals before taking readings.





Driver door module (DDM), Passenger door module (PDM), control modules in rear doors










Driver door module (DDM), Passenger door module (PDM)