Information Bus: Service and Repair
Fibre Optic Cable Repair
Special tools:
951 2868 Fiber cutter 951 2868 Fiber Cutter
951 2869 Ferrule crimping tool 951 2869 Ferrule Crimping Tool
Note! The illustrations in this service information are used for different model years and/or models. Some variation may occur. However, the essential information in the illustrations is always correct.
Information
General
The components in the infotainment system are part of an optical network, known as the MOST network. (Media Oriented System Transportation). The network comprises fiber optics. Special connectors are used in the MOST network for fiber optics and MOST control modules, i.e. control modules that are connected to the MOST network.
Data is transmitted via the fiber optics, for example music, in the form of light signals. The MOST network is a ring which must be unbroken for it to work. If a fiber optic breaks or a connector is not connected, none of the infotainment system components will work. The ends of the fibers must also be free of dirt so that the light is not obstructed.
A fiber requires a larger bend radius than a copper cable. The bend radius must not be less than 25 mm. If the fiber bends too much, not enough light will be let through.
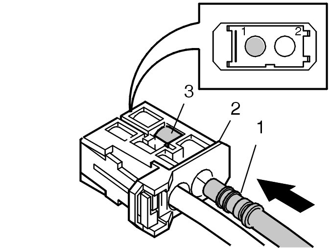
Note! Fiber optics must not be spliced.Damaged fiber optics can be repaired if there is sufficient length remaining to install a new ferrule (4). If the remaining fiber is not long enough, a new fiber optic must be routed parallel to the damaged fiber.
Note! Fiber optics are sensitive to bending and pinching. Be careful when routing and securing.
Removal
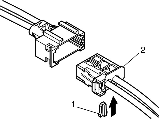
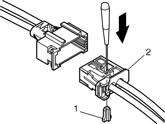
Disassembling the connector (2)
Note! There is one fiber for the input and one for the output signal. The system will not work if the are interchanged.
Press out the catch (1) using a screwdriver.
Open the catches (3) using a screwdriver.
Pull out the ferrule (1). Make a note of its location.
Disassembling the combined connector (optic and electrical conductor) (1)
Release the lock using a screwdriver. Remove the inner section (2).
Remove the ferrule. See: Disassembling the connector (2)
Installation
Installing the ferrule
Cut the required length (+10 mm) of fiber optic.
Strip the fiber optic. Use: 951 2868 Fiber cutter 951 2868 Fiber Cutter as illustrated
Cut the fiber optic. Use: 951 2868 Fiber cutter 951 2868 Fiber Cutter as illustrated.
Press the ferrule. Use: 951 2869 Ferrule crimping tool 951 2869 Ferrule Crimping Tool as illustrated.
Check that the ferrule is secure and is edge to edge with the fiber.
Assembling the connector
Note! There is one fiber for the input and one for the output signal. If they are mixed up the system will not work.
Press the ferrule (1) into place in the connector (2).
Install the catch (1).
Assembling the combined connector (2 optic and 4 electrical conductors)
Install the ferrule. See: Assembling the connector.
Press the inner section into place in the combined connector.
Finishing
Finishing work
Check the repair. See: Diagnostic Instructions - Fibre Optic Cable Diagnostic Instructions - Fibre Optic Cable.