Curiosii for ever!: Car repair manuals for everyone.

Part 3






Design

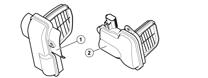
Engine cooling fan (FC) / engine cooling fan (FC) control module





Note! The engine cooling fan may have a post-run of up to approx. 6 minutes after the engine has been turned off. The time for the fan's post-run depends on engine temperature, temperature in the engine compartment and pressure level in the A/C-system.

Warning! Be careful since the engine cooling fan may have a post-run after the engine has been turned off.

The engine cooling fan (FC) consists of two fans and two control modules. The control modules are controlled by the same signal from the engine control module (ECM).

Hint: For different reasons, there are variants where the engine cooling fan consists of two fans and one control module.

The engine cooling fan (FC) has two functions. One is to cool the engine compartment, the other is to cool the condenser when the air conditioning (A/C) compressor is working.
The engine control module (ECM) transmits a pulse width modulated (PWM) signal to the engine cooling fan (FC) control modules. The control modules then activate the fans at different speeds. The speed is determined by the engine control module (ECM), depending on the coolant temperature and the vehicle speed.
The temperature conditions for engagement of the different engine cooling fan (FC) stages may vary slightly, depending on the engine variant and the equipment level. The temperature conditions apply when:
- the A/C is off
- no faults are detected by the engine control module (ECM).
The engine cooling fan (FC) is located behind the radiator and its control module is grounded and powered with battery voltage via a fuse.
There are diagnostics for the engine cooling fan (FC). The engine cooling fan (FC) transmits a diagnostic signal to the engine control module (ECM).

Fuel pump




The fuel pump consists of:





The function of the fuel pump is to ensure that the correct pressure and glow is maintained at the fuel rail on the request of the engine control module (ECM).
The fuel pump are supplied electrically via the pump electronic module (PEM) with variable effect to be able to supply variable fuel pressure/flow and grounded in the bodywork via the pump electronic module (PEM).
The engine control module (ECM) has diagnostics for the fuel pump function to check for correct pressure and electrical open-circuits. The engine control module (ECM) can also diagnose the fuel pump control module. Also Fuel pressure regulation, diagnostics, B6324S4 Fuel Pressure Regulation, Diagnostics
The fuel pump can be activated and its status read off using the diagnostic tool.
The pressure in the fuel rail can be measured by connecting a manometer to a service nipple. This nipple is on the right-hand end of the fuel rail.

Fuel pump control module




The fuel pump control module is called the PEM (Pump Electronic Module). The function of the PEM is to supply the fuel pump with voltage and to control the power output of the fuel pump. When the power output of the pump is changed the fuel pressure is also changed.
The pump electronic module (PEM) is supplied with battery voltage by the fuel pump (FP) relay and is grounded in the car body. The fuel pump (FP) relay is controlled by the central electronic module (CEM) when requested by the engine control module (ECM).
The engine cannot be started if the power supply to the fuel pump control module is faulty because the fuel pump will not then be powered.
The pump electronic module (PEM) is controlled by the engine control module (ECM) via serial communication. The pump electronic module (PEM) then controls the fuel pump by transmitting pulse width modulated (PWM) voltage on the ground lead for the fuel pump. This means that the voltage drop across the pump changes, and with it the output of the fuel pump. See also: Function, B6324S4 Function
There are no diagnostics for the fuel pump control module. The engine control module (ECM) has diagnostics for fuel pressure regulation and the associated components. See also: Fuel pressure regulation, diagnostics, B6324S4 Fuel Pressure Regulation, Diagnostics
The pulse width modulated (PWM) signal from the engine control module (ECM) to the pump electronic module (PEM) can be read off using the diagnostic tool.
The fuel pump control module is on the outside on the right-hand side of the fuel tank.

Actuator variable intake manifold




1. Primary actuator with throttle (upper)
2. Secondary actuator with throttle (lower)
The function of the actuators is to vary the length of the intake manifold, via throttles installed in the intake manifold.
The actuators are supplied with voltage from the system relay via fuse and ground (control) internally in the engine control module (ECM).
See also Function, B6324S4 Function
The actuators for variable intake can be diagnosed by the engine control module (ECM).
The actuators are bolted directly to the intake manifold.

Emissions warning lamp




The emissions warning lamp in the Driver Information Module (DIM) has a warning symbol. This warning symbol varies depending on the market. The warning symbols are:
- "Engine symbol" (not USA)
- "CHECK ENGINE" (MIL - Malfunction Indicator Lamp, only USA).
The warning lamp lights when the start control module (SCU) is moved to position II. The warning lamp goes out after approximately 15 seconds or if the engine is started when no fault is detected in the engine control system.
If Readiness is not complete (certain diagnostic functions have not been run through) the warning lamp will flash instead of going out when the start control module (SCU) is in position II.
The warning lamp will light if there is a fault in one of the parameters in the engine management system. The warning lamp will also light in response to a request transmitted via the control area network (CAN) if there is a fault in the transmission control module (TCM) which affects emissions.

Electronic throttle unit




The electronic throttle unit, using the PWM control signal from the engine control module (ECM), regulates the amount of air for engine combustion. This is done using an electronically controlled shutter.
The aluminium electronic throttle unit consists of a round throttle disc on a spindle. The spindle is driven by a DC motor (damper motor), gear wheel and two springs; one for opening and one for return.
By changing the polarity of the power supply, the DC motor can be run in both directions. At one of the limit positions the throttle disc is closed so that minimal air can pass the throttle unit. In the other limit position, the throttle disc is parallel to the air flow. This provides maximum airflow through the electronic throttle unit.
Two permanent magnets in the gear sector on the throttle spindle are used to check the position of the throttle disc. The permanent magnets affect two throttle position (TP) Hall sensors in the cover. The analog signals from the two sensors are transmitted to the engine control module (ECM). The signals are offset. The engine control module (ECM) compares these signals with the stored desired values to check if they are plausible.
The electronic throttle unit is located on the engine intake manifold. In the event of a fault, the throttle unit must be replaced as a single unit.
The engine control module (ECM) can diagnose the electronic throttle unit.

Throttle position (TP) sensor
See Design, Electronic throttle unit.

Cooler temperature sensor




The cooler has an integrated temperature sensor with logic. Engine control module (ECM) communicates continuously with the sensor via LIN.
The purpose of the sensor is to ensure that the cooler is of the correct type for the vehicle. This means that the cooler has a coating done according to the PremAir-technology and thus has a reducing effect on ground-level ozone. The technology means, in short, that some of the ozone that passes through the cooler is converted to oxygen.
If communication with the sensor cannot take place correctly, the diagnostic system signals in the Engine control module (ECM) for emission control, since the cooler's function no longer can be ensured.
Also, the control module evaluates temperature changes on the cooler in relation to other temperature sensors' signals during specific conditions. For example, during engine warm-up/cooling. This check is also done to ensure the cooler's type and function.
The cooler temperature sensor can be diagnosed by Engine control module (ECM).