Alignment: Service and Repair
Wheel angles, check
Note! Some variation in the illustrations may occur, but the essential information is always correct.
Preparatory work
Note! When working on the steering or wheel alignment on cars with DSTC, the adaptation of the steering wheel angle must be set to zero using VIDA. Test drive. .
Note! When checking and adjusting wheel angles, follow the preparation instructions carefully.
Since the car's rear wheels also have an adjustable toe angle, the toe angle of the front wheels must also be adjusted in relation to the geometrical driving axis (thrust line) in order to maximize stability and minimize tire wear.
All measurements must be made using alignment equipment for four-wheel drive vehicles.
All measurements must be made with the car empty.
All measurements must be made with a full fuel tank.
Check all the tire pressures before beginning measurement.
Checking play, front/rear
Checking play, front
Raise the front end. Lift under the control arms as close to the ball joint as possible.
Note! Only toe angle can adjusted on the front assembly. Camber angle can, however, be checked.
Raise the front end. Lift under the control arms as close to the ball joint as possible.
Note! Only toe angle can adjusted on the front assembly. Camber angle can, however, be checked.
Check that there is no play:
- in the steering gear or in the tie rods
- in the wheel bearings
- in the upper spring strut mounting
- in the ball joints or in the control arm bushings.
If there is play in any of the components above, this must be remedied before the wheel settings are checked and adjusted.
Checking play, rear
Lift up the rear suspension.
Note! Only toe angle can adjusted on the rear end. Camber angle can, however, be checked.
Check that there is no play:
- in the wheel bearings. (If there is play the wheel hub assembly must be replaced)
- in the control arms, the lateral link or in the tie rod.
If there is play in any of the components above, this must be remedied before the wheel settings are checked and adjusted.
Installing test equipment,
Set up the test equipment on the front and rear wheels. Set up the test equipment according to the instructions. Position the turntables under the front wheels. Use turntables which take up lateral movement.
Note! The car must stand level when the front wheels are on the turntables. This is to ensure that the correct values are obtained when checking the camber and caster.
Bounce the front and rear suspension heavily a few times when the car has sunk onto the turntables. This is so that the suspension resumes the normal setting.
Note! Check that none of the turntables is approaching its limit position.
Checking the rear camber angle
Check the camber angle on both sides.
For the correct values, see: Wheel cambers Specifications.
Checking rear toe angle
Note! Always check thrust angle when checking/adjusting rear toe angle.
Check that the instruments are calibrated to one another on the front and rear axle. This is extremely important in order to be able to adjust toe angle of the rear wheels in relation to the car's thrust line (geometrical driving axis).
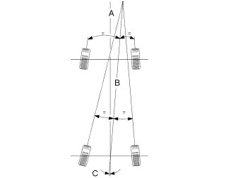
The thrust line is the line created when the toe-in angles for the rear wheels are equally divided (see the illustration).
The difference between the symmetry line of the wheels and the thrust line is called the thrust angle. The thrust angle must not deviate by more than a maximum of 0°± 0.25° from the symmetry line of the wheels.
Note! The differences in the diagram are heavily exaggerated in order to illustrate the differences.
Check:
- the symmetry line of the wheels
- the thrust line
- the thrust angle
- Toe angle.
For the correct values for each model, see Wheel cambers Specifications.
Adjusting rear toe angle
Slacken off the inner nut on the lower control arm.
Use the eccentric screw to adjust toe angle to the correct value. See Wheel cambers Specifications.
Tighten the nuts slightly.
Check the thrust angle. It it does not comply with the specified value, undo the nuts and readjust the toe angle.
Tighten the nut. Tighten to 100 Nm.
Checking the front camber angle
Check the camber angle on both sides.
For the correct values, see: Wheel cambers Specifications.
Checking the front caster angle
Check the caster angle on both sides.
For the correct values, see: Wheel cambers Specifications.
Checking front toe angle
Check that the instruments are adjusted in relation to each other on the front and rear axles. This is extremely important so that the front wheel toe-in can be adjusted in relation to the thrust line of the car (geometric driving axis). The thrust line is the line created when the toe-in angles for the rear wheels are equally divided (see the illustration). The difference between the symmetry line of the wheels and the thrust line is called the thrust angle. The thrust angle must not deviate by more than a maximum of 0° ± 0.25° from the symmetry line of the wheels.
Check:
- the symmetry line of the wheels
- the thrust line
- the thrust angle.
Note! The differences in the diagram are heavily exaggerated in order to illustrate the differences.
For the correct values for each model, see Wheel cambers Specifications.
Adjusting front toe angle
Adjust with the tie rods once the lock nuts have been slackened. Positive adjustment values generate a toe-in angle while negative values generate a toe-out angle.
For the correct values for each model, see Wheel cambers Specifications.
Note! The lengths of the tie rods must not vary between themselves by more than 2 mm. Measure between the lock nut and the edge of thread.
Treat the strut threads using rustproofing agent after tightening.