Curiosii for ever!: Car repair manuals for everyone.

Antitheft and Alarm Systems






Component specification

Start control module (SCU) (3/1)

General





Type
Ignition switch: Electro mechanical switch.
Immobilizer: Transponder reader that reads off the Key's ID.

The immobilizer checks that the key is valid. If the key is not valid, the vehicle cannot be started.

Characteristic
The resistance between the control module's pins must be at least 100 kohms for open circuit, and maximum 100 mohms for closed circuit.

Other information
On all vehicles with an automatic gearbox, and vehicles on the American market, there is a solenoid in the ignition switch that prevents the key from being turned from position I to 0 if the correct conditions are not met.

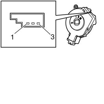
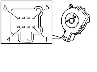
Terminal



















Check
Table showing the key positions that the control module's power supplies are active in respectively passive in.
X=Active






Conditions
- Breakout box connected to central electronic module (CEM).
- Or loose Start control module (SCU).

Check 1
With breakout box connected to central electronic module (CEM):
Measure the voltage on the pins that correspond to the different voltage supplies from the Start control module (SCU) for all key positions, and check that it corresponds with the table that describes in which key position each voltage supply is active.
Check, using Volvo's diagnostic tool, that the key has been approved by the immobilizer.

Check 2
With loose Start control module (SCU):
Measure the resistance between the control module pins in the different key positions. Compare the result with the table that describes in which position each voltage supply is active. Open switches have a resistance of at least 100 kohms. Closed switches have a resistance of a maximum of 100 mohms.