Curiosii for ever!
: Car repair manuals for everyone.
Home
>>
Volvo
>>
2012
>>
C30 R Design L5-2.5L Turbo VIN 67 B5254T7
>>
Repair and Diagnosis
>>
Relays and Modules
>>
Relays and Modules - Lighting and Horns
>>
Headlamp Control Module
>>
Testing and Inspection
>>
Pinout Values and Diagnostic Parameters
>>
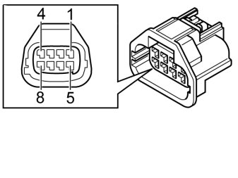
Signal Specification, Gas Discharge Lamp Module (GDL)
Signal Specification, Gas Discharge Lamp Module (GDL)
Signal specification
Signal table
Connector A, GDL-Master
Connector B, GDL-Master