Curiosii for ever!: Car repair manuals for everyone.

Function






Function

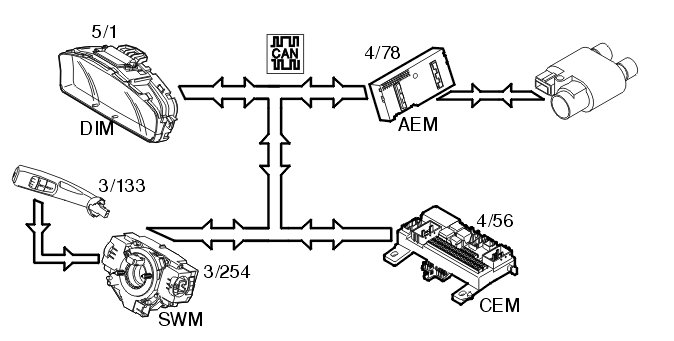
Starting the parking heater via the timer




The left-hand control stalk controls the start timer for the parking heater (3/133). No other timer is required when setting the timer control. The control stalk is directly connected to the steering wheel module (SWM) (3/254) which transmits a signal via the Controller area network (CAN) to the central electronic module (CEM) (4/56), which in turn transmits the signal on to the accessory electronic module (AEM) (4/78) when the electrical heater is to start.
The start timer functions on either the electrical or fuel driven parking heater. The accessory electronic module (AEM) is not involved when the fuel driven parking heater is selected. The heater to be used is selected in the driver information module (DIM) (5/1).

Alarm signal outputs




Output signals from the accessory electronic module (AEM) (4/78) are used when installing an after market alarm unit.
Access is available to signals indicating:
- alarm status
- door status
- key status.
In this case the accessory electronic module (AEM) functions as a port between the Controller area network (CAN) of the vehicle and the after market alarm unit.

Tele-mute function for mobile telephones




In the event of a call the accessory electronic module (AEM) (4/78) receives an input signal from the hands free unit (post installed) and forwards this on the Controller area network (CAN) to the infotainment control module (ICM) (16/1). The infotainment control module (ICM) transmits the signal in turn via the MOST network to the audio module (AUD) (16/105) which mutes the loudspeakers.
The tele-mute function is available as an accessory for the accessory electronic module (AEM).