Curiosii for ever!: Car repair manuals for everyone.

Checking Display, Multimedia Module (MMM)






Checking the display screen

Fault-tracing information
Fault causes which will stop the display working:
- Open-circuit in the signal cable between the display and the multimedia module (MMM)
- No power supply to the display screen
- The display screen is not working
- Defective multimedia module (MMM)
- The MOST network is not working
- The relay for the infotainment system (positioned on the central electronic module (CEM)) is not powered.

Hint: The display screen will not deploy in the event of a fault in the MOST network. If the display screen is deployed and the data on the screen does not update or the screen suddenly retracts, the MOST network may not be working. Check that the MOST network is working.

Continue - Symptom information

-------------------------------------------------

Symptom information




- Ignition on.
Activate the multimedia module (MMM) using the navigation buttons or the remote control so that the display screen deploys and folds away.

Does the screen deploy and fold away?

Yes - FAULT FOUND

No - Checking the cable

-------------------------------------------------

Checking the cable








- Ignition off
- Disconnect the 5-pin connector from the display screen
- Ignition on.

Checking the cable
Check the display screen cable terminals. Check for oxidation and loose connections.
Check the cable terminals in the female and male sections of the connector. The cable terminals must not be damaged or pressed back
Check the voltage at the 5-pin connector for the screen. The voltage should be 12 V.
Take readings between:
- terminals #1 and #5
- terminals #2 and #4
- terminals #3 and #4.
If the voltage is not 12 V, check terminals #1, #2 and #3 in the 5-pin connector for the screen. Check for a short-circuit to ground. Check for an open-circuit.
If the voltage is not 12 V, check terminals #4 and #5 in the 5-pin connector for the screen. Check for a short-circuit to supply voltage. Check for an open-circuit.

Other information:
- To access or replace the multimedia module (MMM), see Multimedia module (MMM), replacing Multimedia Module (MMM), Replacing
- To access or replace the display screen, see Central loudspeaker, replacing Center Loudspeaker
- For information about signals, see Signal specification Signal Description, Multimedia Module (MMM)
- For further information about the fuses and relays, see the Wiring Diagram
- Checking wiring and terminals Checking Wiring And Terminals.









Was the fault found?

Yes - Verification

No - Checking the cable

-------------------------------------------------

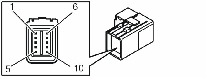
Checking the cable








- Ignition off
- Disconnect the 10-pin connector from the display screen and multimedia module (MMM).

Checking the cable
Check the cable terminals between the display screen and multimedia module (MMM). Check for loose connections and oxidation.
Check the cable terminals in the female and male sections of the connector. The cable terminals must not be damaged or pressed back.
Check the signal cable between display screen terminal #7 (10-pin connector) and multimedia module (MMM) terminal #B7 (#7). Check for a short-circuit to supply voltage. Check for an open-circuit.
Check the signal cable between display screen terminal #4 (10-pin connector) and multimedia module (MMM) terminal #B4 (#4). Check for a short-circuit to supply voltage. Check for a short-circuit to ground. Check for an open-circuit.
If no fault is found, replace the display screen.
Remedy as necessary.

Other information:
- To connect the breakout box, see
- To access or replace the multimedia module (MMM), see Multimedia module (MMM), replacing Multimedia Module (MMM), Replacing
- To access or replace the display screen, see Central loudspeaker, replacing Center Loudspeaker
- For information about signals, see Signal specification Signal Description, Multimedia Module (MMM)
- Checking wiring and terminals Checking Wiring And Terminals.









Continue - Verification

-------------------------------------------------

Verification




Verification

Hint: After carrying out the repair, check that the fault has been remedied.








- Ignition off
- Reinstall the connectors, components etc.
- Ignition on.
Check that the screen deploys when the ignition is switched on, when activated using the remote control or when using the steering wheel buttons for navigation.

Ensure that the image and the colors of the image are good.

Does the display function?

Yes - VERIFIED

No - VERIFICATION FAILED

------------------------

VERIFIED - FAULT FOUND

VERIFICATION FAILED - Fault-tracing information

-------------------------------------------------

Fault-tracing information




Information

Fault-tracing information
The fault should have been detected and remedied. As this is not the case fault-tracing has failed.
Exit fault-tracing for this diagnostic trouble code (DTC) or make another attempt.

Do you want to exit fault-tracing?

Yes - Exit fault-tracing

No - Attempt New Test

------------------------

Attempt New Test - Fault-tracing information

-------------------------------------------------