Curiosii for ever!: Car repair manuals for everyone.

Signal Description, Accessory Electronic Module (AEM)






Signal description. Accessory electronic module (AEM)









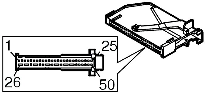
Note! It is important to connect the breakout box and check the ground terminals before taking readings.

Other information
- Connecting the breakout box. Accessory electronic module Connecting The Breakout Box, Accessory Electronic Module (AEM)
- Checking the ground terminal Checking Ground Terminal. Accessory Electronic Module