Curiosii for ever!: Car repair manuals for everyone.

Function






Function

Text messages




In the lower left section of the combined instrument panel (driver information module) (5/1) there is a small window where text messages are displayed. This gives the driver supplementary information for the different warning symbols in order to reduce the number of different symbols in the combined instrument panel. Other types of messages are also displayed, such as the functions of the trip odometer. There is an order of priority where warning signals are displayed first.
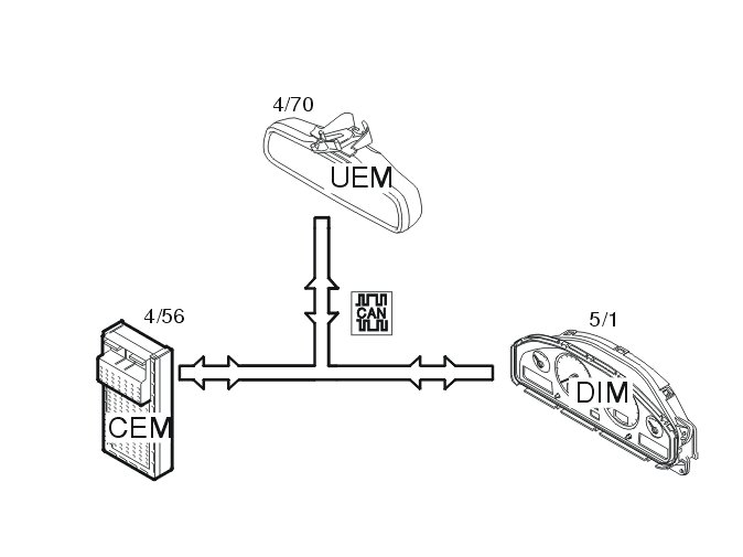
Depending on the circumstances, a request for these messages may come from the central electronic module (4/56) or the steering wheel module (3/130). The signals are transmitted via the Control Area Network (CAN).

Outside temperature




The outside temperature gauge is integrated in the tachometer. Its function is to display the outside temperature and to warn the driver when the conditions are icy by displaying a symbol of a snowflake. The snowflake is displayed at a range of -5 to +2 °C.
A sensor which detects the outside temperature is mounted in the right-hand door mirror. The temperature signal is then read off by either the passenger door module (3/127) or driver's door module (3/126), depending on whether the car is left or right-hand drive. The value is transmitted via the Control area network (CAN) to the central electronic module (4/56) which then forwards the message to the driver's information module (5/1). The temperature is displayed in Celsius or Fahrenheit, depending on the market, in increments of one degree. The temperature unit can be changed when reprogramming.

Clock




The only function of the clock is to display the time in hours and minutes.
The data is transmitted via the control area network (CAN) from the central electronic module (4/56) to the driver information module (5/1).
The customer can adjust the time using a knob on the clock display. The driver information module then transmits the new time to the central electronic module which registers the new data and updates its clock accordingly. The customer can select whether the time will be displayed using the 12 or 24 hour clock. If the 12 hour clock is selected AM or PM is automatically displayed.

Seat belt reminder




The seat belt reminder reminds the driver to put on the seat belt. There are two versions of the seat belt reminder - European and American. They are slightly different, which is outlined below. The signals which indicate the variant in the car (European or American) are transmitted by the central electronic module (4/56) via the Control Area Network (CAN). Two small symbols light in the upper electronic module (4/70) and indicate when a seat belt is not fastened. The driver information module (5/1) emits an audible signal to warn the driver that no seat belt is fastened. From model year 2002 inclusive, there is also a display on the combined instrument panel (5/1) which warns the driver if their belt is not fastened.

European version
If the seat belt is not fastened when the ignition is switched on, the symbols in the upper electronic module will light and there will be an audible signal from the driver information module. This continues for 6 seconds until either the seat belt is fastened or reverse gear is selected. If the car travels at 10 km/h or more, the audible signal reactivates if the driver has not fastened his/her seat belt.

American version
When the ignition is switched on, the symbols in the upper electronic module will light continuously for 6 seconds, or until the driver's seat belt is fastened. At the same time there will be a ringing sound from the driver information module for the same period of time. If the driver releases the belt after fastening it, the audible signal will not resume if more than 6 seconds have passed since the ignition was switched on.

Trip odometer / odometer




The function of the trip odometers and the odometer is to display the three available odometer modes. The two settings are the total mileage of the car and the mileage since the two trip odometers were last set to zero. These two can be reset individually. The odometer and one of the two trip odometers are always displayed. The central electronic module (4/56) receives a speed signal from the brake control module (ABS) (4/16) which is transmitted on the high speed section of the Control Area Network (CAN). The central electronic module then transmits the signal on to the driver information module (5/1) via the low speed section of the Control Area Network (CAN). The distance traveled is saved every fourth kilometer and the value is stored in the central electronic module (4/56). Press the button briefly to switch between the two trip odometers. Hold the button in longer to reset the trip odometer. There must be a power supply to the driver information module (5/1) before the odometer can be reset.

Service reminder indicator (SRI)




The service reminder indicator (SRI) lights the first time the ignition is switched on after the service interval has been reached. The service reminder indicator (SRI) will continue to light and remain lit for 2 minutes, every time the ignition is switched on until it is reset. The service indicator has changed from model year 2002. The need for a service is indicated partly by a lamp and partly by a text message - "time for service". Previously only the lamp indicated "Service". The service reminder indicator (SRI) can be programmed in three different ways: distance traveled, time since last service and engine hours since last service. The service reminder indicator (SRI) can be reset using VIDA or as follows:
Hold down the reset button for the trip odometer and turn the key to position II. Continue holding the button down until the service reminder indicator (SRI) begins to flash. Release the button.

Engine coolant temperature (ECT) gauge




The engine control module (ECM), (4/46) processes the value from the coolant temperature sensor (7/16). The processed value is then transmitted to the central electronic module (4/56) on the high speed section of the Control Area Network (CAN). The central electronic module receives the signal and generates a corresponding signal on the low speed section of the Control Area Network (CAN). The driver information module (5/1) reads the signal from the low speed section of the Control Area Network (CAN). The driver receives information about the temperature from the engine coolant temperature gauge in the combined instrument panel. If the value is too high a red lamp lights and a text message is displayed outlining the fault.

Handbrake




A switch is connected to the combined instrument panel (driver information module) (5/1) which detects the incoming signal indicating whether the Handbrake is applied or not. The switch is activated and the lamp is lit when the Handbrake is applied. This signal is directly connected.

SRS lamp




The supplementary restraint system (SRS) (4/9) contacts the driver information module (5/1) if there is a problem in the system. A signal is transmitted via the Control area network (CAN) and the driver information module lights a lamp and displays a text message. The combined instrument panel also informs the supplementary restraint system (SRS) whether the lamp is working or not.

Brake warning lamp




The brake control module (4/16) (called ABS module on model years up to and including 2001) informs the driver information module (5/1) via the Control area network (CAN) if there is a fault in the brake system. The driver information module indicates this to the driver by lighting the red general warning lamp and displaying a text message.
The brake fluid level sensor detects the level of the brake fluid in the reservoir. When the level is low, a switch in the sensor closes and the warning lamp lights. This function is directly connected to the driver information module.

Fuel gauge




There are two sensors in the fuel tank which transmit signals about the fuel level to the rear electronic module(REM). The rear electronic module (4/58) sends the values on to the driver information module (5/1), which receives the signals, interprets them and displays the fuel level on the fuel gauge. When the fuel level is low a yellow lamp lights to inform the driver.
The fuel gauge is not sensitive to rapid change. This is to prevent incorrect values being displayed when cornering or driving on slopes for example.

Speedometer




The speedometer displays the actual speed the car is traveling at.
Information about the vehicle speed comes from the speed sensor which is connected to the brake control module (BCM) (called the ABS module on cars up to and including model year 2001) and the gearbox control module (TCM) (4/28). The brake control module (BCM)(4/16) and the gearbox control module (TCM) calculate an average speed based on the signals sent from the two front wheels by the speed sensors. The calculated speed signal is then transmitted to the central electronic module (CEM) (4/56) from the brake control module and the gearbox control module on the high speed section of the Control Area Network (CAN). Depending on the quality of the signal, the central electronic module uses the signal from the brake control module or the gearbox control module (TCM). The central electronic module then transmits this data on to the driver information module (DIM) (5/1) where it is displayed.
Only cars with automatic gearbox have a gearbox control module (TCM). In cars with manual transmissions, the speed signal is transmitted to the central electronic module by only the brake control module on the high speed section of the Control Area Network (CAN).

Tachometer




A flywheel sensor (7/25) is connected to the engine control module (ECM) (4/46). The engine control module (ECM) transmits the engine speed signal onwards via the high speed section of the Control Area Network (CAN). The central electronic module(CEM) (4/56) receives the signal and generates a corresponding signal on the low speed section of the Control Area Network (CAN). The driver information module (DIM) (5/1) reads the signal from the low speed section of the Control Area Network (CAN). The driver information module receives the value and presents the actual engine speed for the driver.

Lamp for low oil pressure (only applies to versions with oil pressure sensor)




The oil pressure sensor (7/6) is connected to the engine control module (ECM) (4/46). The engine control module transmits the oil pressure signal onwards via the high speed section of the Control Area Network (CAN). The central electronic module (4/56) receives the signal, and generates a corresponding signal on the low speed section of the Control Area Network (CAN). If the oil pressure is low, the driver information module (DIM)(5/1) reads the signal from the low speed section of the Control Area Network (CAN). The driver information module indicates this to the driver by lighting a red warning lamp and displaying a text string with explanatory information.

Hint: In vehicles with an oil level sensor, the general warning lamp comes on and a text message appears when the oil level is too low.
For information about whether the vehicle is equipped with an oil pressure or oil level sensor, see Design and Function, Engine control module (ECM).

General warning lamp
The function is to display different "faults" in the car. When a lamp lights this is followed by a text message which presents the driver with additional information about why the lamp has lit. From model year 2002 inclusive the colour of the lamp has changed from orange to yellow / red. The lamp lights red in the event of serious faults, or yellow for less serious faults.

Malfunction indicator lamp (MIL)
The malfunction indicator lamp (MIL) only lights in the combined instrument panel (driver information module) (5/1), if certain emissions related diagnostic trouble codes (DTC's) are stored in the engine control module (ECM) (4/46) or gearbox control module (TCM) (4/28). The signal between the driver information module and engine control module (ECM) is directly connected.