Curiosii for ever!: Car repair manuals for everyone.

System Overview






System overview

Control module




The function of the accessory electronic module (AEM) is to allow certain accessories to exchange information with the car's controller area network. This exchange of information means that accessories can be installed with greater functionality and higher quality. The accessory electronic module (AEM) manages the following functions:
- Reverse warning system
- Relay for the electrical engine block heater
- Remote start for the parking heater
- External aftermarket alarm
- Aftermarket radio unit
- Signals for RTI (road traffic information) for Japan
- Tele-mute for non-integrated carphones.
The functions managed by the accessory electronic module (AEM) may vary between different car models.
The accessory electronic module (AEM) is an accessory and is only available for order and installation as an after market item.

Note! The Accessory electronic module (AEM) can only be installed in late version cars.

The difference between the early and late versions can be seen from the chassis number in the table below.





(1) applies to cars manufactured in production plant 1.
(2) applies to cars manufactured in production plant 2.
Information regarding which production plant a car is manufactured in can be found in the VIN number. The seventh position from the right in the VIN specifies the production plant.
The wiring for the accessory electronic module (AEM) has been post-installed or factory installed as an option on early version cars. The wiring is now factory installed in all cars. See the table below for the chassis numbers.





(1) applies to cars manufactured in production plant 1.
(2) applies to cars manufactured in production plant 2.
Information regarding which production plant a car is manufactured in can be found in the VIN number. The seventh position from the right in the VIN specifies the production plant.
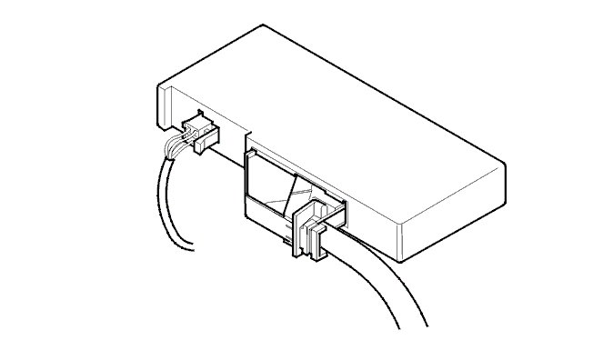
The control module is installed in the cargo compartment of the car behind the side panel at the right-hand wheel arch.
After installation the accessory electronic module (AEM) is configured using software. Configuration is carried out via VIDA.
The control module communicates with directly connected components, and via a Controller area network (CAN).
One of the main purposes of the control module is to function as an interface between accessories, which are not prepared for Controller area network (CAN) communication, and the Control area network (CAN) of the car and its functions.
The control module checks activations and input and output signals via an integrated diagnostic system. A diagnostic trouble code (DTC) is stored if the control module detects a fault. Any diagnostic trouble codes (DTC's) and stored in the control module memory and information can be read out using VIDA.
For further information, also see Signal specifications.

Signals
The table below summarizes the input and output signals to and from the accessory electronic module (AEM) (4/78). The signal types are divided into directly connected signals and Controller area network (CAN) communication. The following illustration displays the same information with the Volvo component designations.

Note! The signals are only available for installed accessories.