Curiosii for ever!: Car repair manuals for everyone.

Design






Design

Control module and hydraulic unit

Control module




The brake control module (BCM) is mounted on the hydraulic unit in the engine compartment behind the battery toward the cowl panel. In the event of a fault in the brake control module (BCM) or hydraulic unit, they are replaced as a single unit. The control module contains two different microprocessors that receive signals from the different sensors in the system. The microprocessors work in parallel following a program that calculates how the various functions should be regulated.
The control module has twelve valve coils for hydraulic valves, of which four valve coils are for outlet, four are for intake and four are for stability and traction control. Some valve coils that are used when pressurizing the brake system are regulated via analog control, enabling the valves to be controlled linearly.
The control module contains an internal pressure sensor that measures brake pressure in the system. The control module is supplies power via three fuses and is grounded in two grounding points.
Control module software and the valve coils of the hydraulic unit are capable of being diagnosed.
Upon replacement of the brake control module (BCM), the system must be calibrated following the information in VIDA vehicle communication or manually as determined by the test drive.

Hydraulic unit




The hydraulic unit is mounted with the brake control module (BCM) as a unit and is located in the engine compartment behind the battery toward the cowl panel. The hydraulic unit consists of:
- a pump motor
- hydraulic valves
- check valves
- an integrated brake pressure sensor.
The pump motor builds up the brake pressure necessary during ABS, traction and stability control. The pump motor also generates a reduction in pressure on the return side of the system, that is to say it returns the hydraulic fluid to the brake cylinder.
The pump motor and the internal pressure sensor are capable of being diagnosed.

Warning lamps




The brake system uses five warning lamps and a text display in the driver information module (DIM).
ABS warning lamp (1)
The ABS warning lamp indicates a fault in the ABS system.
Brake warning lamp (3)
The brake warning lamp indicates:
- a fault in the electronic brake force distribution (EBD) function
- low brake fluid level.
Spin warning lamp (6)
The spin warning lamp shines with a steady glow in the event of:
- a fault in the DSTC system
- high brake disc temperature.
- DSTC sport mode
The spin warning lamp flashes:
- When a drive wheel starts to spin during acceleration. Traction control is then activated to regain traction
- When a drive wheel starts to spin on a slippery surface. Stability control is then activated to regain traction
- When the lateral stability limit is exceeded (the car oversteers or understeers) during active yaw control (AYC).
Information lamp (5)
The information lamp is illuminated when a text message is displayed.
General warning lamp (4)
The general warning lamp is used as a means of notifying that there is an important message in the driver information module display.
Text display (2)
In the event of a brake system fault, the driver is informed via a message in the driver information module display. The type of fault in the brake system determines which message is displayed. The information lamp is lit while the text message is displayed.

Note! The text may vary depending on the model year and equipment. It may also change as a result of software updates in the driver information module (DIM).

Wheel sensors




The wheel sensors are installed on the spindle joints of the front and rear wheels. The wheel sensors are active sensors. The task of the wheel sensors is to supply the control module information on the rotation speed of each wheel. The control module uses the signals from the wheel sensors to calculate wheel speed and the acceleration and retardation of the car.
The wheel sensors are supplied with 12 V. When the magnetic pulse wheel rotates, the sensor generates a pulsed current (quadratic wave). The strength of the current depends on the position of the pulse wheel. The signals from the coil in the sensor are then affected by the resistor, which is sensitive to magnetic fields. This means that the output signal is a current which oscillates between 7 mA and 14 mA. The frequency increases with speed.
The magnetic pulse wheel is integrated into the inner wheel bearing seal and the front wheel sensor is radially positioned in the shaft housing in relation to the magnetic pulse wheel. The rear wheel sensors are axially positioned in relation to the magnetic pulse wheel. Both the front and rear magnetic pulse wheels have 88 poles, 44 north poles and 44 south poles. In the event of a fault in any of the wheel sensors the following functions do not engage or are disengaged:
- Anti-lock brake system (ABS)
- Stability control (SC)
- Traction control (TC)
- Active yaw control (AYC)
- Adaptive cruise control (ACC)
- Collision warning and collision mitigation by braking (CMbB)
- City Safety (only applies to XC60)
Electronic brake force distribution (EBD) is available if one wheel sensor is faulty. Electronic brake force distribution (EBD) is disengaged if there is a fault in more than one wheel sensor simultaneously.
The control module calculates the vehicle speed using the signals from the wheel sensors.
There are diagnostics for the wheel sensors.
Direction-sensitive wheel sensor (XC60 and S60 (11-))
With the introduction of City Safety a direction-sensitive wheel sensor is needed so that Brake control module (BCM) knows in which direction the vehicle is moving. This is so that the brake mitigation will not engage, e.g., during reversing, if a vehicle approaches from the front and this enters the active area for the lidar for Closing velocity module (CVM).
The direction-sensitive wheel sensor is located on the right front wheel spindle and, using the wheel sensor's signal, the Brake control module (BCM) can calculate the wheel speed as well as the vehicle's direction.
The sensor is supplied with 12V. When the magnetic rotor rotates, the sensor generates a pulsed current (square wave), where the current amplitude depends on the position of the magnetic rotor. Compared to an ordinary wheel sensor, each square pulse is replaced by a series of pulses, pulse trains, that is included within the ordinary wheel sensor's longer pulse length.
The length of the pulse train is max. 10 pulses. The beginning and end of each pulse train are indicated by a high pulse of approx. 28mA. Between these start and end pulses there are 8 lower pulses (7-14 mA). This included pulse train is really a digital word with 8 bits. The direction is given in one of these bits.
This detection is possible since the sensor has 2 adjacent elements that register pulse change when north and south poles pass. Then the direction can be determined by knowing which element reacts first to a pulse change. Other bits inform about status and other control information. Using start and end pulse it is also possible to know what the wheel speed is.

Power brake booster
The brake servo serves to amplify braking force and, simply put, comprises two chambers - one front and one rear. There are two main types of brake servos - passive and active. The brake servo is mounted on the cowl panel in the engine compartment.
There are four versions of brake servo that are tied to the type and equipment of the vehicle.






Passive brake servo
The passive brake servo amplifies the driver's braking force by allowing atmospheric pressure into the rear chamber while the front chamber maintains a vacuum pressure. This creates an amplification factor.
The passive brake servo can be equipped with a vacuum pressure sensor if the vehicle does not have a brake vacuum pump.

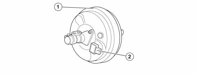
Passive brake servo without vacuum pressure sensor





The passive brake servo consists of:
1. vacuum cylinder

Passive brake servo with vacuum pressure sensor





The brake servo consists of:
1. vacuum cylinder
2. vacuum pressure sensor

Active brake servo
The active brake servo has the qualities of the passive brake servo, but can also be activated by the brake control module (BCM) regardless of whether the driver is braking. An active brake servo is equipped with a pressure valve and a pedal pressure sensor. In order to create brake pressure without the driver depressing the brake pedal, the brake control module (BCM) activates the pressure valve, which allows atmospheric pressure into the rear chamber. The brake control module (BCM) uses information from the pedal pressure sensor to be able to detect whether the driver is braking when the active brake servo is operating.
The active brake servo is also equipped with a pedal position sensor.
The active brake servo can be equipped with a vacuum pressure sensor if the vehicle does not have a brake vacuum pump.

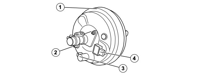
Active brake servo without vacuum pressure sensor





The brake servo consists of:
1. vacuum cylinder
2. connector for pedal pressure sensor and pressure valve
3. pedal position sensor

Active brake servo with vacuum pressure sensor





The brake servo consists of:
1. vacuum cylinder
2. connector for pedal pressure sensor and pressure valve
3. pedal position sensor
4. vacuum pressure sensor

Vacuum pressure sensor




The vacuum pressure sensor is located in the brake servo. The sensor is supplied 5 V and is grounded in the brake control module (BCM). The sensor plays a dual role. It measures the vacuum pressure between the vacuum chamber and work chamber and also detects pressure changes in both chambers. The signal ratio between the chambers should correspond. The vacuum pressure sensor is found in vehicles without vacuum pump.

Pedal position sensor




The pedal position sensor is only found in vehicles with the adaptive cruise control function. It is mounted on the brake servo in the engine compartment. The sensor, which is a slide potentiometer, is actuated by the brake pedal's pushrod. The sensor is supplied 5 V. The signal is linear and should be between 0.15 and 4.85 V, with voltage corresponding to the position of the brake pedal. The engine control module (ECM) uses the signal for the cruise control function. The signal is transmitted via the CAN network.

Stop lamp switch
For more information on the brake light switch, see Design and Function, Engine Control Module (ECM).

Stability sensor (BSC) (does not apply to S60 (11-))




Body sensor cluster stability sensor (BSC) is located under the right front seat. The sensor is supplied with 12 V and is grounded in Brake control module (BCM). Information from Body sensor cluster stability sensor (BSC) is used for stability calculations in Brake control module (BCM).

Body sensor cluster stability sensor (BSC) contains:
- A yaw angle speed sensor that measures yaw angle speed in °/s.
- A lateral acceleration sensor that measures lateral acceleration in m/s2.
- An acceleration sensor that measures longitudinal acceleration. This sensor is available with different sensitivities depending on vehicle variant. A version is available for AWD, and another for (with higher sensitivity) is available for vehicles with transmission MPS6 that has the function HSA- Hill Start Assist.
- A roll angle sensor measures the roll angle speed in °/s. (only vehicles with roll control RSC).
The body sensor cluster stability sensor (BSC) communicates with the brake control module (BCM) via an internal CAN network.
The body sensor cluster stability sensor (BSC) can be diagnosed by the brake control module (BCM).
Upon replacement of the body sensor cluster stability sensor (BSC), the brake control module (BCM) must be calibrated following the information in VIDA vehicle communication or manually as determined by the test drive.