Curiosii for ever!: Car repair manuals for everyone.

Part 2

Note! Route the cable harness so that there is no risk of wear.




- Route the cable from the holder and connect its connector to the routed cable harness connector.
- Position the entire cable harness underneath the air vent in such a way that it does not get trapped when the air vents are reinstalled.
- Secure the two green connectors using a piece of butyl tape in a suitable position to prevent rattling.








- Connect the connectors to the glove box. Reinstall the glove box.
















- Ensure that the cable harness from the holder does not get trapped by the air vents.































Applies to cars with loudspeaker grilles

Assembling the holder

Note! Take care when handling the components, they are fragile and are easily damaged.




- Take the three bolts M5x20 part.no. 986956 and nuts out of the kit.
- In order to avoid too much resistance when the nuts on the cradle are tightened, secure the bolt and run the nut on and off of the thread on the bolt. Do this with all the nuts and bolts.





- Take special tool 9814104 (torx driver, torx 6), and unscrew the two screws holding the connector in the holder.
- Carefully push the connector to one side with the cable to expose the bottom of the holder.





- Take the kit with the four spacers from the installation kit.

Applies to left-hand drive cars
- Carefully pry off the spacer 31212534. The part number (1) is on the bottom of the spacer.

Applies to right-hand drive cars
- Carefully pry off the spacer 31212787. The part number (1) is on the bottom of the spacer.





- Take the three screws and insert them in the spacer fully.





- Apply pieces of butyl tape to the screws so that the screw heads do not protrude outside the spacer when installing it.





- Install the spacer in the bottom of the holder. Ensure that the holder's two screw turrets align between the small pins in the oblong holes in the spacer.




- A click should be heard when the spacer is securely in position.






Place the connector in the bottom of the holder so that:
- the guide hole (1) in the connector's circuit board aligns in the corresponding pin at the bottom of the holder
- the holes (2) in the circuit board are over the holder's screw turret.





- Take the small torx screws and carefully tighten the connector to the holder. Ensure that the connector's circuit board is properly against the screw turret and that there is no play.
- Remove the butyl tape from the screws.

Preparations




- Turn the ignition switch to position 0.
- Disconnect the battery negative lead.

Note! Wait at least three minutes before unplugging the connectors or removing other electrical equipment.














- Prize away the holder for the switch at the lower edge.
- Then prize at the upper edge while coaxing and pulling it out.














- Locate the holes. Pull the panel with air vents straight out.





- Use special tool 9512943.





Remove the loudspeaker grille as follows:
- Insert special tool, 999-5919-46 in the joint between the loudspeaker grille and the dashboard approximately as illustrated, until it engages.
- Twist the tool 90° so that the bent section engages with the underneath of the loudspeaker grille.





- Pull upward until the loudspeaker grille detaches. The loudspeaker grille is securely fastened by four clips. Move the tool closer to the clips to facilitate removal.

Note! Do not damage the dashboard.

- Lift out the loudspeaker grille.





- Take the template from the kit and cut along the outer lines LHD/RHD





- Tape the template to the loudspeaker grille.





- Drill at right angles to the loudspeaker grille where the holes are to be.

Note! Select the correct version LHD or RHD and with loudspeaker grille.

- Carefully predrill the holes according to the template using a -3 mm (1/8") drill bit.
- Remove the template and drill swarf.





- Push on the speaker grille in the dashboard to predrill the holes in the loudspeaker bracket.


Illustrations A and B








- Drill perpendicularly through the holes in the speaker grille and through the loudspeaker bracket.
- Remove the loudspeaker grille as before.





- Drill the three holes for the cradle's feet using a step drill -14 mm (9/16").





- Take the step drill and drill out the hole for the connection in the holder using a -28 mm (1 7/64") drill bit.





- Tape a cloth over the loudspeaker.





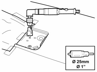
- Drill out corresponding hole in the loudspeaker's bracket using a -25 mm (1") hole saw.





- Drill the holes for the holder's stud screws using a -7 mm (9/32") drill bit.





- Bend in and file off the hole edges on the loudspeaker grille using a round file.
- Clean away any swarf.
- Remove the cloth.


Illustration A