Part 2
Note! Do not damage the dashboard.
- Select a -25 mm (1") hole saw.
- Change the centre drill in the hole saw back to the original drill bit.
- Drill for the connection of the connector. Drill through all layers of the dashboard. Use a 25 mm (1")drill stop.
Note! Do not damage the dashboard.
- Use a small screwdriver and clear the three small holes from any chips so that the underlying plastic layer appears.
- Remove the paper from the air ducts and the paper from under the dashboard. Make sure no swarf is left inside the dashboard.
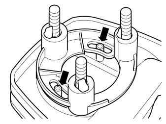
- Take out the cradle and insert the three stud bolts down through the holes in the dashboard's plastic layer.
- Take out the three nuts and tighten the cradle on the dashboard.
- Access for installing and tightening nuts is via the space for the glove box.
- Take out the short connection cable from the kit and secure the connector to the bottom of the cradle.
- Remove the tunnel console's rear/lower panel by first prying it off at the bottom sides.
- Remove the middle panel by prying it downwards, pull it off at the lower edge and then unhook it at the top.
- Remove the holder by depressing the catches and folding it backwards.
- Disconnect the connectors in the holder on the reverse.
- Remove the four screws which hold the cover and rear end to the tunnel console.
- Lift up and unhook the upper panel.
- Remove the two remaining screws which hold the cover and rear end to the tunnel console.
- Lift up and unhook the unit.
- Remove the connector from the 12 V outlet.
- Remove the four screws at the bottom of the storage compartment.
- Remove the tunnel console's left side panel by carefully pulling it loose starting at the trailing edge. It is secured with six clips on the inside.
Note! Carried out in the same way on both left-hand drive and right-hand drive cars.
Note! The cable harness is always routed on the left-hand side through the tunnel console and the center console on both left and right-hand drive cars.
- Insert a piece of wire on the left-hand side at the rear edge of the tunnel console and out to the front edge on the same side.
- Use the long cable harness from the kit. Tape the small connector and a piece of the cable harness to the wire.
- Route the cable harness at the front edge of the tunnel console. Raise the tunnel console if necessary to facilitate routing.
- Take the foam tape from the kit and remove the protective tape.
- Wrap the foam tape around the fuse holder to prevent rattling.
- Connect the connector (1) that was removed from the 12V outlet to the female connector (2) on the routed cable.
- Connect the remaining connector to the 12V outlet.
- Hook the rear end on the arm rest and route the cable so that all cable excess is at the front edge of the tunnel console.
- Tighten the two screws.
- Position the connectors and fuse holders so that they do not come into conflict with the holder or become trapped by the rear end.
- Secure the relay holder at the existing wiring so that it does not come loose.
- Reinstall the small panel.
- Tighten the rear end with the arm rest.
- Insert a piece of wire on the left-hand side by the air vent and pull it out down by the tunnel console's left-hand side.
- Tape the cable harness connector and a piece of the cable at the wire. Pull it upwards and out through the hole for the air vent.
Note! Route the cable harness so that there is no risk of wear.
- Route the cable from the holder and connect its connector to the routed cable harness connector.
- Position the entire cable harness underneath the air vent in such a way that it does not get trapped when the air vents are reinstalled.
- Secure the two green connectors using a piece of butyl tape in a suitable position to prevent rattling.
- Connect the connectors to the glove box. Reinstall the glove box.
- Ensure that the cable harness from the holder does not get trapped by the air vents.
Applies to cars with loudspeaker grilles
Assembling the holder
Note! Take care when handling the components, they are fragile and are easily damaged.
- Take the three bolts M5x20 part.no. 986956 and nuts out of the kit.
- In order to avoid too much resistance when the nuts on the cradle are tightened, secure the bolt and run the nut on and off of the thread on the bolt. Do this with all the nuts and bolts.
- Take special tool 9814104 (torx driver, torx 6), and unscrew the two screws holding the connector in the holder.
- Carefully push the connector to one side with the cable to expose the bottom of the holder.
- Take the kit with the four spacers from the installation kit.
Applies to left-hand drive cars
- Carefully pry off the spacer 31212534. The part number (1) is on the bottom of the spacer.
Applies to right-hand drive cars
- Carefully pry off the spacer 31212787. The part number (1) is on the bottom of the spacer.
- Take the three screws and insert them in the spacer fully.
- Apply pieces of butyl tape to the screws so that the screw heads do not protrude outside the spacer when installing it.
- Install the spacer in the bottom of the holder. Ensure that the holder's two screw turrets align between the small pins in the oblong holes in the spacer.
- A click should be heard when the spacer is securely in position.
Place the connector in the bottom of the holder so that:
- the guide hole (1) in the connector's circuit board aligns in the corresponding pin at the bottom of the holder
- the holes (2) in the circuit board are over the holder's screw turret.
- Take the small torx screws and carefully tighten the connector to the holder. Ensure that the connector's circuit board is properly against the screw turret and that there is no play.
- Remove the butyl tape from the screws.
Preparations
- Turn the ignition switch to position 0.
- Disconnect the battery negative lead.
Note! Wait at least three minutes before unplugging the connectors or removing other electrical equipment.
- Prize away the holder for the switch at the lower edge.
- Then prize at the upper edge while coaxing and pulling it out.
- Locate the holes. Pull the panel with air vents straight out.
- Use special tool 9512943.
Remove the loudspeaker grille as follows:
- Insert special tool, 999-5919-46 in the joint between the loudspeaker grille and the dashboard approximately as illustrated, until it engages.
- Twist the tool 90° so that the bent section engages with the underneath of the loudspeaker grille.
- Pull upward until the loudspeaker grille detaches. The loudspeaker grille is securely fastened by four clips. Move the tool closer to the clips to facilitate removal.
Note! Do not damage the dashboard.
- Lift out the loudspeaker grille.
- Take the template from the kit and cut along the outer lines LHD/RHD