Curiosii for ever!: Car repair manuals for everyone.

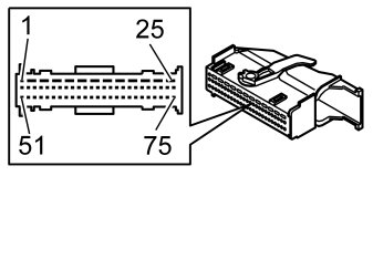
Signal Specification, Supplemental Restraint System Module (SRS)






Signal specification

General
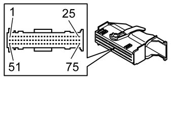
All the values indicated below are only described values, as the power supply is not permitted when the breakout box is connected.

Note! It is important to connect the breakout box and check the ground connections before starting to measure.