Curiosii for ever!: Car repair manuals for everyone.

MPS6






Design

Control module with control system (Mecatronic)




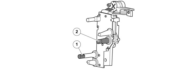
The Transmission control module (TCM) (1) is integrated in the Mecatronic unit, which is located inside the transmission housing on the front of the transmission.
Transmission control module (TCM) has two voltage supplies, a 30-supply via relay/fuse box in the engine compartment and one via the comfort relay in the Central electronic module (CEM) as well as grounding point against the body. Transmission control module (TCM) evaluates input signals from different sensors and control modules, and controls the solenoids (2) based on these signals.
With the solenoids, the Transmission control module (TCM) controls the hydraulic pressure, which is directed to the different components using the hydraulic valve housing (2) located in the Mecatronic unit. To enable the Transmission control module (TCM) to perform its task, it must receive input signals from a number of sensor, both internal and external from other control modules in the vehicle.
Solenoids, valves, and Transmission control module (TCM) are located in the Mecatronic unit. The different sensors are located in Transmission control module (TCM).
The following components are included in the control system:
- Transmission control module (TCM)
- Solenoids and valves for hydraulic pressure system
- Speed sensors
- Temperature sensor
- Pressure sensor
- Position sensors

An important component belonging to the control system, but is located in the lever carrier in the middle console, is:
- Gear selector module (GSM)

Control module:
- Transmission control module (TCM) - Controls activation/deactivation of solenoids by processing the input signals from, among others, the transmission's speed and rpm sensors as well as temperature and pressure sensors. Also stores adaptive data as well as diagnostic trouble codes and frozen values for diagnosis.

Solenoids and valves for hydraulic pressure system:
- System pressure solenoid LPS (Line Pressure Solenoid) - Controls system pressure in the transmission by directing the hydraulic oil to clutch, shifting, cooling flow, and then returning the oil to the oil sump.
- Solenoid for cooling flow CCFS (Clutch Cooling Flow Solenoid) - Controls hydraulic oil for cooling of clutches.
- Multiplex solenoid SHCMS (Shift Cooling Multiplex Solenoid) - Controls position of gearshift forks as well as cooling of clutch.
- Multiplex solenoid CSMS1 (Clutch Shift Multiplex Solenoid) - Leads the pressure between uneven clutch and shifting, activates uneven gears as well as controls cooling flow for clutches.
- Multiplex solenoid CSMS2 (Clutch Shift Multiplex Solenoid) - Leads the pressure between even clutch and shifting, controls cooling flow for clutches and can turn off the valve for dumping clutch pressure CPCUT to regain clutch pressure.
- Solenoid for clutch pressure uneven gears CSPS1 (Clutch Shift Pressure Solenoid) - Controls hydraulic pressure for uneven clutch or shifting.
- Solenoid for clutch pressure even gears CSPS2 (Clutch Shift Pressure Solenoid) - Controls hydraulic pressure for even clutch or shifting.
- Valve for dumping clutch pressure CPCUT (Clutch Pressure Cut) - Safety valve that controls pressure-dumping in the hydraulic system.
- Shift solenoid SHSS1 (Shift Select Solenoid) - Controls shifting for gearshift fork 1 and 3.
- Shift solenoid SHSS2 (Shift Select Solenoid) - Controls shifting for gearshift fork 2 and 4.

Speed sensors:
- Speed sensor input rpm - Gives Transmission control module (TCM) information on input rpm on the clutch's engine side.
- Speed sensor input shaft uneven gears - Gives Transmission control module (TCM) information on input shaft rpm (after clutch) for uneven gears, 1, 3, 5, and R.
- Speed sensor input shaft even gears - Gives Transmission control module (TCM) information on input shaft rpm (after clutch) for even gears, 2, 4, and 6.

Temperature sensors:
- Oil temperature sensor - Provides transmission control module (TCM) information on transmission oil temperature.
- Temperature sensor control module - Gives Transmission control module (TCM) information on transmission control module's ambient temperature.

Pressure sensor:
- Pressure sensors (2 pcs.) - Give Transmission control module (TCM) information on hydraulic pressure by the clutches.

Position sensors:
- Position sensor gearshift fork (4 pcs., 1-4) - Give Transmission control module (TCM) information on the position of the four gearshift forks that handle shifting in the transmission.
- Gear position sensor - Gives Transmission control module (TCM) information on selected gear position.

Gear selector module (GSM):
- Gear selector module (GSM) - Gives Transmission control module (TCM) information on locking of P as well as manual shifting.

Note! Transmission control module (TCM) and the hydraulic valve housing in the Mecatronic unit are adapted to each other in the factory, by a check of the oil flow through each solenoid at a certain trigger current. This means that the control module and valve housing have to be replaced together. That means that it is not possible to replace only Transmission control module (TCM), solenoids, or the valve housing and re-use the other parts.

Solenoids




Transmission control module (TCM) uses hydraulic oil to be able to control the mechanics in the transmission. Based on the signals from the CAN-net and its internal sensors (see System overview, MPS6 System Overview ), the Transmission control module (TCM) receives the information needed to be able to control the transmission's included parts.
Using deployed current and voltage signals, the Transmission control module (TCM) can control the solenoids located in the transmission's valve housing in the Mecatronic unit. In turn, the solenoids control the hydraulic oil flow by mechanical controlling valves. There are 2 types of solenoids, closed/open and linear pressure solenoids.

Closed/open solenoids
The solenoids consist of an electric spool which controls a hydraulic valve. The solenoids of the type closed/open (CSMS1,CSMS2, SHCMS, SHSS1 and SHSS2) are controlled by a current and has only 2 positions, completely closed or fully open.
The solenoids control valves that lead the hydraulic pressure to the desired system. Depending on system pressure and temperature, the Transmission control module (TCM) calculates the current that need to be triggered to respective solenoid. The triggered current to the solenoids is not returned, which means that diagnostics of the solenoids is limited to only being able to see if they are off or on.

Linear solenoids
Linear solenoids (CCFS, LPS, CSPS1 and CSPS2) are controlled by a pulse-width modulated (PWM) current to enable linear or gradual control of the hydraulic pressure. The pulse-width modulated current induces a magnetic field that moves a core inside the solenoid. The solenoid can control the pressure by gradually opening or closing valves.
The triggered current to the solenoids is returned to Transmission control module (TCM), which means that more advanced diagnosis is possible.
Powershift uses 2 different designs of valves but with the same functionality.

Solenoid CSPS1 and CSPS2









The above design is used for solenoids CSPS1 and CSPS2. Transmission control module (TCM) triggers current so that the solenoid's core is moved due to the created magnetic field, which means that the piston in the valve moves.
The valve can assume 3 positions:
- Return flow, where the valve lets oil back to the oil sump.
- Supply flow, where the solenoid controls the piston so that correct pressure is generated in the system.
- Completely closed, no flow passes the valve.

Solenoid CCFS and LPS









The above design is used for solenoids CCFS and LPS. Transmission control module (TCM) triggers current so that the solenoid's core is moved due to the created magnetic field, which means that the ball in the valve moves up and down. Thus flow is controlled through the valve so that desired pressure is obtained from Transmission control module (TCM).
The solenoids can be diagnosed.

Pressure sensor for clutch pressure




There are 2 oil pressure sensors. The sensors are located on Transmission control module (TCM).
Transmission control module (TCM) supplies the sensors with voltage 5 V. The sensors register the oil pressure for control of the clutch pressure so that Transmission control module (TCM) can control the solenoids, so that correct clutch pressure is obtained for each clutch.
The oil pressure sensors can be diagnosed.

Speed sensor input rpm




The rpm sensor is located by the clutch and is connected to Transmission control module (TCM).
Transmission control module (TCM) supplies the sensor with voltage 7.2 V. The sensor generates square waves of direct voltage at the rate that the input shaft's gear teeth pass the sensor. When a gear tooth passes, the signal becomes high (higher than 4.9 V), and when the gap between teeth passes the signal becomes low (lower than 1.6 V). Transmission control module (TCM) interprets the frequency, which may vary between 3.5 Hz - 8 kHz, on the signal, and thus receives information about the rpm of the input shaft from the engine.
The sensors are designed to handle speeds between 0 - 12000 rpm.
An important function of the sensor is that it is also used as reference and diagnosing the other rpm sensors in the control module.
There are diagnostics for the transmission input speed sensor.

Speed sensors input shaft uneven/even gears




The speed sensors for input shaft even (1) and uneven gears (2) are integrated with Transmission control module (TCM).
The speed sensor for input shaft even gears is of the same type as the speed sensor for input rpm.
The speed sensor for input shaft uneven gears is of slightly different design. The sensor is supplied with voltage 7.2 V from Transmission control module (TCM). The difference from the other 2 speed sensors described in this document is that this sensor gives a pulse-width modulated current signal to Transmission control module (TCM). Each pulse contains the rpm of the shaft as well as in which direction the shaft rotates.
The signals from the rpm sensors for input shaft uneven and even gears are used to check the transmission's gear ratio and as indication of the vehicle's speed.
One sensor's signal can partly be used as replacement for the other if any of the sensors should fail.
The sensors are also used when diagnosing other rpm sensors as well as when checking slipping of the clutch.
The rpm sensors can be diagnosed.

Oil temperature sensor




There are 2 temperature sensors to measure the hydraulic oil's temperature.
One sensor is located on the Mecatronic unit and gives Transmission control module (TCM) information about the hydraulic oil's temperature.
The other temperature sensor, also called hybrid, is integrated in Transmission control module (TCM) where it registers the control module's temperature. Since the Transmission control module (TCM) is located in the Mecatronic unit, this sensor is constantly rinsed by hydraulic oil. Therefore the Transmission control module (TCM) can also use this signal as back-up to obtain temperature of the hydraulic oil since these shall not differ.
The sensors are supplied with 5 V voltage by Transmission control module (TCM).
Transmission control module (TCM) uses the information to determine correct system pressure, for controlling clutch, for cold starts, and in position for overheating protection.
The temperature sensors can be diagnosed.

Gear selector module (GSM)




The gear selector assembly is located in the tunnel console and is mechanically connected to the transmission via a cable that moves the shift valve in the transmission control system. The gear selector module (GSM) is located on the left side of the gear selector assembly. The control module is powered by and communicates via serial communication with the transmission control module (TCM).
The gear position is indicated by a number of LEDs in the top panel of the gear selector assembly.
Transmission control module (TCM) has a directly connected cable to Gear selector module (GSM) for controlling the shiftlock solenoid.
The solenoid's voltage supply and ground are directly connected to Gear selector module (GSM).
The Gear Selector Module (GSM) can be diagnosed. In the event of a fault a signal on fault status is sent to the transmission control module (TCM) which then stores any diagnostic trouble codes (DTC).

Gear selector assembly

Gear selector assembly with Geartronic function




All gear selector assemblies are the Geartronic version. In addition to the selector positions P/R/N/D, there is also a position for "manual" shifting.
The gear selector lever for Geartronic has the following functions:
- P : Park
- R : Reverse
- N : Neutral
- D : Automatic shifting between all gears.
- +/- : Manual shift function. The indicators for both + and - are illuminated when manual mode is active.
Three Hall sensors are mounted on the gear selector module (GSM). A permanent magnet on the gear selector actuates the sensors' output signals on the gear selector module (GSM).