Curiosii for ever!: Car repair manuals for everyone.

Part 1












Navigation system portable





















































INTRODUCTION
- NOTE! Read through the whole installation instruction before starting the work.
- The illustrations display the procedure in order of operation. The order of operation is repeated in the text section






Navigation system portable

Note! For information about the GARMIN unit refer to: www.garmin.com.

Note!
- Sections 1-66 apply to cars without loudspeaker grilles.
- Sections 67-134 apply to cars with loudspeaker grilles.
The disc marked A in the kit is used on cars with loudspeaker grilles.Some steps in these installation instructions are presented with illustration only.

Applies to cars without loudspeaker grilles

Assembling the holder

Note! Take care when handling the components, they are fragile and are easily damaged.




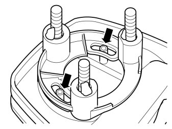
- Take the three bolts M5x30 part.no. 986958 and nuts out of the kit.
- In order to avoid too much resistance when the nuts on the cradle are tightened, secure the bolt and run the nut on and off of the thread on the bolt. Do this with all the nuts and bolts.




- Take special tool 9814104 (torx driver, torx 6), and unscrew the two screws holding the connector in the holder.
- Carefully push the connector to one side with the cable to expose the bottom of the holder.




- Take the kit with the four spacers from the installation kit.
- Carefully pry off the spacer 31212788. The part number (1) is on the bottom of the spacer.




- Take the three screws and insert them in the spacer fully.




- Apply pieces of butyl tape to the screws so that the screw heads do not protrude outside the spacer when installing it.




- Install the spacer in the bottom of the holder. Ensure that the holder's two screw turrets align between the small pins in the oblong holes in the spacer.




- A click should be heard when the spacer is securely in position.





Place the connector in the bottom of the holder so that:
- the guide hole (1) in the connector's circuit board aligns in the corresponding pin at the bottom of the holder
- the holes (2) in the circuit board are over the holder's screw turret.




- Take the small torx screws and carefully tighten the connector to the holder. Ensure that the connector's circuit board is properly against the screw turret and that there is no play.
- Remove the butyl tape from the screws.

Preparations




- Turn the ignition switch to position 0.
- Disconnect the battery negative lead.

Note! Wait at least three minutes before unplugging the connectors or removing other electrical equipment.




- Take the template from the kit and cut along the outer lines LHD/RHD





Note! It is important to carefully measure for the location of the template. Incorrect positioning of the hole group can cause problems in tightening the holder.

- Apply a piece of tape on the dashboard between the LED and button for the hazard warning lights, centered in the middle of these.




- Mark out the middle of the piece of tape in two places as illustrated, and draw a line between these marks.




- Measure a distance of 82 mm (3¼") from the joint between the dashboard and grille and rearwards on the dashboard.




- Take the template and position the arrow point by the marking for 82 mm (3¼"). Position the template so that the central line follows the line on the piece of tape.
- Tape the template to the dashboard.












- Prize away the holder for the switch at the lower edge.
- Then prize at the upper edge while coaxing and pulling it out.












- Locate the holes. Pull the panel with air vents straight out.




- Use special tool 9512943.




- Remove the bolts of the panel underneath the glovebox and remove it.




- Remove the two screws.




- Remove the six screws.
- Pull out the glove box slightly.




- Disconnect the connector at the rear edge.




- Remove the connectors on top and disconnect them.
- Remove the glovebox.




- Cover the ventilation openings with a paper towel to prevent drill swarf from entering.
- Place a paper towel in the dashboard underneath where the holes are to be drilled.




- Mark the holes in the centre using a scriber.

Note! Select the correct version LHD or RHD and without loudspeaker grille.

- Predrill the holes according to the template using a -5 mm (13/64") drill bit. Fit a20 mm (25/32") drill stop. Drill square to the dashboard where the holes are to be positioned.

Note! Do not damage the dashboard.