Curiosii for ever!: Car repair manuals for everyone.

Part 1






Function

Immobilizer
See Design and Function, Immobilizer.

Start




The starter motor (6/25) is powered via the starter motor relay (2/35). The relay is controlled by the engine control module (ECM) (4/46). The start process is as follows:
1. The ignition key is turned to start position (position III)
2. A high signal (Ubat) from the ignition switch (3/1) is transmitted to the engine control module (ECM) via the central electronic module (CEM) and integrated relay/fusebox in the engine compartment. The engine control module (ECM) interprets this high signal as a request to activate the starter motor.
3. The engine control module (ECM) activates the starter motor by grounding the relay for the starter motor relay. The relay is powered by the ignition switch
4. The relay closes the circuit between the starter motor solenoid and the battery, activating the starter motor
5. The engine control module (ECM) activates the starter motor until the ignition key is released from the start position (position III).
The starter motor will not be activated if:
- the function for electronic Immobilizer does not allow start. The engine control module (ECM) receives signal regarding if the electronic immobilizer is active or inactive, from the central electronic module (CEM) via the CAN-net. For more information, see Design and Function, electronic Immobilizer.
- the gear selector is not in position "P" or "N" (automatic transmissions). The engine control module (ECM) receives a signal indicating the position of the gear selector from the transmission control module (TCM) (4/28) via both the controller area network (CAN) and from a directly connected cable between the engine control module (ECM) and transmission control module (TCM). Also see Design and Function, transmission control module (TCM).
- the clutch pedal is released (manual transmissions, certain markets). The engine control module (ECM) receives a signal indicating the position of the clutch pedal from the central electronic module (CEM) via the controller area network (CAN).

Auto start (2007-)
If the ignition key is released from position III before the engine is started, the starter motor continues to run. The starter motor runs until the engine is started or until after a certain amount of time. The engine coolant temperature (ECT) determines how long the starter motor is permitted to run:
- at -40 °C, approx. 10 seconds
- at -10 °C, approx. 8 seconds
- over 15 °C, approx. 4 seconds.
If the engine does not turn or if the engine speed is extremely low when the start relay is activated, the engine control module (ECM) interrupts start relay activation.
Activation of the starter motor is not permitted or is interrupted if:
- the engine is running (the engine speed (RPM) above a certain value)
- the immobilizer function does not allow a start. For further information also see Design and Function, Immobilizer
- the gear selector is not in position "P" or "N" (automatic transmissions). The engine control module (ECM) receives a signal indicating the position of the gear selector from the transmission control module (TCM) (4/28) via both the controller area network (CAN) and from a directly connected cable between the engine control module (ECM) and transmission control module (TCM). Also see Design and Function, transmission control module (TCM).
- the clutch pedal is not depressed (manual transmission). The signal about the clutch pedal position (clutch pedal sensor) is received by the engine control module (ECM) (4/56), via the controller area network (CAN) and via a directly connected cable from the clutch pedal switch (3/271).
- the brake pedal is not depressed (automatic transmission).

Camshaft control (CVVT)




When the camshaft (A) is set at the factory, it is aligned with the position of the crankshaft (B). The position of the camshaft in relation to the crankshaft is designated the camshaft 0 position. During camshaft (CVVT) control, the 0 position of the camshaft is advanced so that the opening and closing of the intake valves can be changed to relative to the camshaft. By controlling the camshaft (the camshaft is regulated from its 0 position) the performance of the engine is increased, the idle speed quality is improved and the emissions are reduced.
There are diagnostics for this function. See also: Camshaft diagnostics (CVVT) Camshaft Diagnostics (CVVT)

Camshaft position detection




In order to detect the position of the camshaft in relation to the crankshaft, the engine control module (ECM) uses the signals from the engine speed (RPM) sensor (the position of the crankshaft) and from the camshaft position (CMP) sensor (the position of the camshaft). The control module uses these two signals to determine the position of the camshaft in relation to the position of the crankshaft.
Both the intake camshaft and exhaust camshaft have a camshaft position sensor. Cylinder detection on start up (the operating cycle of each cylinder) is improved by using a camshaft position sensor on the intake camshaft and exhaust camshaft.
The following description applies to the intake camshaft.





Detecting the camshaft flanks
The camshaft is divided into five flanks per camshaft revolution (flanks 1-5). The flanks are detected by the camshaft position (CMP) sensor. Its signal is affected by the shape of the camshaft rotor. See also: Design Design
Because the teeth on the camshaft pulse wheel are differently designed the control module can determine the position of the camshaft using the camshaft position (CMP) sensor signal. The control module is able to establish which combustion cycle the cylinders are in.





Detecting the reference positions of the camshaft
The crankshaft has five reference positions, one for each camshaft flank. The reference positions are predetermined points on the flywheel. The reference positions are detected using the signal from the engine speed (RPM) sensor. See also: Design Design
The camshaft rotates at half the speed of the crankshaft. Two engine revolutions are required to detect all five camshaft flanks:
The positions on the flywheel are designated °CA (Crank angle). 0°CA = Top dead center cylinder 1.





Detecting the position of the camshaft in relation to the position of the crankshaft
Each camshaft flank aligns with pre-defined positions on the crankshaft when the camshaft is in its 0 position. These positions on the crankshaft are called flank reference positions. Each flank is 33°CA before top dead center (BTDC) when the camshaft is in its 0 position (camshaft not deployed), see illustration (D1-D5).

A: Engine speed (RPM) sensor signal.
B: Camshaft position (CMP) sensor signal, intake. From high to low signal when the teeth on the camshaft pulley leave the camshaft position (CMP) sensor.
C: Low engine speed (RPM) sensor signal because of the holes in the flywheel/carrier plate.
1: Top dead center (TDC) cylinder 1, 0°CA (84°CA after hole "C" in the flywheel/carrier plate).
2: Top dead center (TDC) cylinder 2, 144°CA.
4: Top dead center (TDC) cylinder 4, 288°CA.
5: Top dead center (TDC) cylinder 5, 432°CA.
3: Top dead center (TDC) cylinder 3, 576°CA.

Regulating the camshaft position
To control the intake camshaft the engine control module (ECM) regulates the infinitely variable camshaft reset valve. The valve controls the flow of engine oil to the continuous variable valve timing (CVVT) unit which is affected by the oil pressure that builds up. This allows the CVVT unit to change the position of the camshaft. Also see Control (below) and Design Design
When controlling the camshaft position (the engine control module (ECM) controls the camshaft), detection of the camshaft flanks will be offset from the reference positions on the crankshaft. Angles D1-D5 will increase when the camshaft is controlled.

Hint: The exhaust camshaft signals are the same as those of the intake camshaft. However, the exhaust camshaft flanks are 318°CA before the intake camshaft flanks.

The engine control module (ECM) is then able to calculate the °CA (crankshaft degrees from top dead center (TDC)) that the intake valve opens and the exhaust valve closes for each cylinder. This is because the opening and closing angles are fixed and predefined in relation to the camshaft flanks.
The camshaft position relative to the crankshaft position can be read in VIDA.

Control, CVVT unit





Hint: The illustration is a view of the CVVT unit from the side and from the rear.

1: Timing belt pulley
2: Lock pin with spring
3: Rotor
4: Rotor wings
A1: Chamber A
B1: Chamber B
The continuous variable valve timing (CVVT) unit allows the position of the camshaft to be adjusted relative to the crankshaft.
The camshaft is secured to the rotor (3). The rotor (and with it the camshaft) rotates in relation to the timing belt pulley (1) within set angles.
When the camshaft is in its 0 position, the timing belt pulley and the rotor are locked together by the lock pin (2). A spring-loaded lock pin slides into a hole on the inside of the end of the timing belt pulley to secure it.

Camshaft reset valve




5: Piston with slits
6: Return spring
A: Channel leading to chamber A1 in the CVVT unit
B: Channel leading to chamber B1 in the CVVT unit
C: Channel for oil (pressure)
D: Channel for oil (return)
The camshaft reset valve controls the oil flow to the continuous variable valve timing (CVVT) unit. The engine control module (ECM) uses a pulse width modulation (PWM) signal to control the valve. See also: Design Design

Control takes place as follows when deploying the camshaft





Hint: The illustration is a view of the CVVT unit from the side and from the rear.

- The oil is forced from the engine lubrication system (C)
- The valve is grounded by the engine control module (ECM). The oil flows via the slits in the piston (5) to the oil channel (A) in the camshaft
- The oil flows via oil channels in the camshaft to the top of the lock pin (2). If the camshaft is in its 0 position, the lock pin will be forced in by the oil pressure and the rotor releases from the timing belt pulley
- The chamber (A1) fills with oil. The oil pressure will rotate the rotor (3)
- The oil in the chamber (B1) will be forced out of the chamber by the rotation of the rotor. The oil flows to the engine oil pan via the camshaft, channel (D) and the valve.

Control takes place as follows when returning the camshaft





Hint: The illustration is a view of the CVVT unit from the side and from the rear.

- The oil is forced from the engine lubrication system (C)
- The engine control module (ECM) breaks the ground connection for the valve. The piston (5) in the valve springs back (6) and the oil flows via the piston slits in the valve to the oil channel (B) in the camshaft
- The chamber (B1) fills with oil. The oil pressure in the chamber will rotate the rotor
- The rotor (4) reaches its limit position and the lock pin slides into a hole on the inside of the front end of the camshaft pulley
- The oil in the chamber (A1) will be forced out of the chamber by the rotation of the rotor. The oil flows to the engine oil pan via the camshaft, channel (D) and the valve.
The reset valve is controlled by the engine control module (ECM) at high frequency. The frequency changes for deployment and return. This ensures rapid and precise control. The extent of camshaft control (change in the camshaft radial position) varies depending on the engine variant.

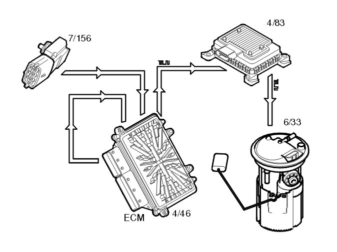
Fuel pressure regulation





General
Fuel pressure regulation for demand controlled fuel pumps (DECOS - DEmand COntrolled fuel Supply) means that the fuel pressure is controlled steplessly by varying the output of the fuel pump. The design of the system allows a greater maximum pressure (approximately 6.5 bar) in the fuel pump. This pressure is used in extreme situations, such as heavy engine load for example.
The following components are used for fuel pressure regulation:
- engine control module (ECM) (4/46)
- fuel pump control module (4/83)
- fuel pressure sensor with fuel temperature sensor (7/156)
- fuel pump with by-pass valve (6/33).
The time taken for the engine start procedure can be reduced by rapidly increasing the pressure in the fuel rail when the engine control module (ECM) receives a signal about the position of the ignition switch from the central electronic module (CEM).
The engine control module (ECM) is better able to calculate the injection period because the signal from the fuel pressure sensor provides information about the fuel pressure and actual fuel temperature. This particular improves the cold starting characteristics of the engine.
The advantages of varying the output of the fuel pump so that it is not always at full power are:
- the total power consumption of the fuel pump (FP) is reduced, reducing the load on the power supply system
- the service life of the fuel pump (FP) is increased
- fuel pump noise is reduced.

Control
The engine control module (ECM) attempts to maintain a fuel pressure of 480 kPa (absolute pressure). A pulse width modulation (PWM) signal from the engine control module (ECM) to the fuel pump (FP) control module requests an increase or decrease in pressure. The fuel pump control module then operates the fuel pump unit to obtain the desired pressure using a pulse width modulation voltage on the ground lead. The fuel pump (FP) can be controlled steplessly by changing the pulse width modulation (PWM) signal. Only that pressure which is required at that specific time will then be released to the fuel rail/injectors. The value of the pulse width modulation (PWM) signal is a measurement of the operational load of the fuel pump (FP) (% duty, 100% = maximum pressure).
The engine control module (ECM) continuously monitors the fuel pressure using the signal from the fuel pressure sensor. This allows the desired fuel pressure to be achieved. If necessary, the signal to the fuel pump control module can be changed so that it corresponds to that required to achieve the requested fuel pressure.

By-pass valve
When the injectors are closed because of too high pressure (during engine braking for example) there is a pressure peak. The by-pass valve in the fuel pump (FP) is used to even out the pressure peak. The opening pressure of the valve is approximately 6.5 bar.
The by-pass valve also functions as a non-return valve, ensuring that the fuel pressure in the system is maintained when the engine is switched off.
There is high pressure before the engine is started. This high pressure means that the valve in the by-pass valve opens and the system is "flushed".

Passive safety
For safety reasons, the engine control module (ECM) shuts off the fuel pump (FP) if the supplemental restraint system module (SRS) detects a collision.