Curiosii for ever!: Car repair manuals for everyone.

Part 2






Design (Continued)

Cargo compartment lighting




There is a lamp for cargo compartment lighting in the cargo compartment.
The lamp is located in the cargo compartment panel's roof (S40/C70), respectively in the cargo compartment's ceiling (C30/V50).
For the cargo compartment lighting to work, the relay for interior lighting must be activated.
There are diagnostics for the relay for interior lighting.

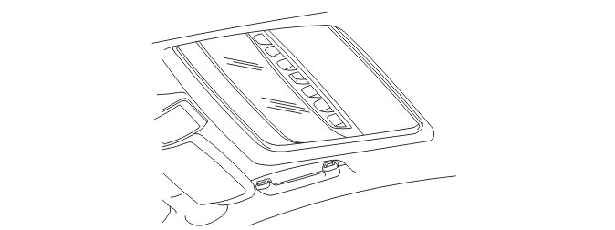
Sun roof




The sun roof is operated using a switch in the same unit in the roof as for the front reading lamps. The sun roof can be opened and closed as well as angled up slightly at the rear edge.
The sun roof is driven by a motor which is in the roof, in front of the sun roof. The position of the sun roof is determined by two sensors.
The sun roof has a sun roof module (SRM). The sun roof module (SRM) communicates with the central electronic module (CEM) using serial communication.
There are diagnostics for the sun roof.

LEDs in doors for lock indication (only C70)




Usually there are locking buttons in the doors, but the C70 does not have these. The vehicle is equipped with LEDs instead that indicate whether the vehicle is locked or not. The LEDs light for approximately 5 minutes after locking the vehicle. The LEDs are on each door and are directly connected to the Central electronic module (CEM).
There are diagnostics for the LEDs.

Twilight sensor (ECC only)




The twilight sensor consists of a photo diode powered from the central electronic module (CEM). The conductivity of the diode depends on the amount of light to which it is exposed.
The diode is under a diffusing lens which reduces the sensitivity of the photo diode to the angle of the light hitting it. Increased light intensity reduces the voltage over the photo diode.
The control module measures the voltage across the photo diode and converts the voltage to information which is then transmitted to other control modules via the controller area network (CAN).
The twilight sensor is located in the same holder as the sun sensor and alarm diode.
There are diagnostics for the twilight sensor.

Sun sensor (electronic climate control only)




The sun sensor consists of a photo diode powered from the central electronic module (CEM). The conductivity of the diode depends on the amount of light to which it is exposed.
The diode is located under a diffusing lens which reduces the sensitivity of the photo diode to the angle of the light hitting it. Increased sun intensity reduces the voltage over the photodiode.
The control module measures the voltage across the photo diode and converts the voltage to information which is then transmitted to the climate control module (CCM) via the controller area network (CAN).
The sun sensor and its housing are located in the center of the dashboard at the windshield together with the twilight sensor and alarm diode.
From and including structure week 200746, the sun sensor is replaced by twin sun sensors.
For further information, see Design and Function, climate control module (CCM).
There are diagnostics for the sun sensor.

Siren




Information from the siren control module (SCM) to the central electronic module (CEM) contains configuration and status data. This information is transmitted using serial communication.
When the alarm is activated, the siren control module (SCM) transmits continuous status signals to the central electronic module (CEM).
The siren has a battery and a built in battery charger so that it is independent of the power supply in the car. The battery charger maintains battery voltage in the integrated battery. When the alarm is activated, the power to the siren and the serial communication between the siren control module (SCM) and the central electronic module (CEM) is monitored. If the power supply for the car to the siren is broken, or the communication between the central electronic module (CEM) and siren control module fails, the siren starts to sound. The battery and battery charger in the siren cannot be replaced separately. The entire siren must be replaced in the event of a fault.
The siren is below the plenum chamber on the passenger side. After replacement, a new siren control module (SCM) must be configured. This is done using VIDA.
There are diagnostics for the siren.

Mass movement sensor module (MMS)

C30/S40/V50





C70




The mass movement sensor module (MMS) detects movements inside the passenger compartment using high frequency radio waves of 2.45 GHz. The Doppler effect principle is used to determine whether the frequency of the received microwave is different from the transmitted microwave. If the frequency has changed, this is interpreted as a movement in the vehicle. If a movement is detected, a trigger signal is transmitted to the central electronic module (CEM) which activates the alarm.
The mass movement sensor (MMS) is in the headlining in the center of the vehicle. This ensures optimum coverage of the interior of the vehicle. There are two sensors in five door cars. One is positioned in the center of the roof and the other in the roof above the cargo compartment.
There are diagnostics for the mass movement sensor module (MMS).

Rain sensor module (RSM)




The rain sensor module (RSM) uses optical measurement to detect water on the windshield. An infrared beam of a fixed intensity lights part of the windshield. The intensity of the reflected beam is measured and compared to the intensity of the transmitted beam. If there is water on the surface of the windshield, the beam will be distorted and some of its intensity lost. If the beam is not fully reflected, this is interpreted as water on the windshield and the windshield wipers start.
The rain sensor module (RSM) transmits signals to the central electronic module (CEM) using serial communication. The signals contain information about:
- how much rain is hitting the windshield
- a sudden splash on the windshield
- the outside light conditions.
The central electronic module (CEM) requests a certain windshield wiper speed based on this information.
The rain sensor module (RSM) is in front of the rear view mirror on the inside of the windshield. Cars with rain sensor modules (RSM) have a special windshield.
There are diagnostics for the rain sensor module (RSM).

Humidity sensor (option, only ECC 2008-)




The task of the humidity sensor (HUS) is to transmit information about the passenger compartment's humidity to the Climate control module (CCM).
The sensor is part of the optional system for air quality together with the Air quality sensor (AQS) and a particle filter.
The humidity sensor is via serial communication to the Central electronic module (CEM), which transmits the information to the Climate control module (CCM) on the CAN network.
All information processing then occurs in the Climate control module (CCM).
The sensor is in the holder for the rear view mirror and is powered and diagnosed by the Central electronic module (CEM).
For further information, also see Design and Function, climate control module (CCM):

Horn




There are two horns in front of the radiator. There are four switches in the steering wheel. The horn is activated when one of these is closed.
The signal continues for as long as the switch is closed.
The horn is also activated when the panic alarm button on the remote control is pressed (certain markets).
The power supply to the horns is via a relay in the relay box in the engine compartment.
There are diagnostics for the relay for the horn.

Rear demist




There are heating loops in the glass for demisting and to prevent ice from forming. The loops heat up when they are supplied with power. The power supply is via a relay in the central electronic module (CEM).
Rear demist is controlled using a switch on the right-hand side of the climate control module (CCM).
Press the button again to switch off the function. Demisting is switched off automatically after the maximum time of 12 minutes.
On vehicles with certain diesel engines the rear demist can start without manual activation. This means that the engine sometimes needs to reach a much greater working temperature to burn soot particles that are trapped in the particle filter.
By starting the rear demist, together with other actions, the vehicle's alternator is loaded and the engine coolant temperature rises.
Read more detailed information about this function in Design and Function, Engine control module (ECM).
There are diagnostics for the relay and switch.

Clutch pedal switch (diesel engines)




The clutch pedal switch is positioned together with the clutch pedal. In resting position the switch is open. It closes when the clutch pedal is pressed down by more than 90% of its entire stroke length. When the switch is activated, a signal is transmitted to the central electronic module (CEM).
The signal is used as part of the conditions for the immobilizer.
For further information about the immobilizer, see Design and Function, Immobilizer.

Clutch pedal sensor (5 cylinder petrol engines)




Cars with 5 cylinder petrol engines have a position sensor for the clutch pedal. The sensor is affected when the clutch pedal is pressed. The sensor then sends a signal (voltage level) which is proportional to the degree to which the clutch pedal has been pressed.
The position sensor is directly connected to the central electronic module (CEM). The control module receives and processes the signal. The information is used in difference ways depending on the equipment level of the car.
The signal is used as part of the conditions for the immobilizer.
For further information about the immobilizer, see Design and Function, Immobilizer.

Power windows
All side windows are operated by motors in the doors. The switches for operating the windows are in each door panel. All windows can be operated from the control panel in the driver's door.
For further information, see Design and Function, Door control modules.
For greater comfort, all windows including the sun roof can be opened. This is done by holding in the unlock button on the remote control for 1.5 seconds. In the same way, all windows including the sun roof can be closed at the same time. This is done by holding in the lock button on the remote control for 1.5 seconds.
This function can also be activated from inside the passenger compartment. If the lock or unlock button is held in on either of the front door panels the same function will be obtained.

Fuel pump




The fuel pump (FP) is located on the inside of the fuel tank on the right-hand side. The pump is checked by the fuel pump control module. The central electronic module (CEM) controls a relay which powers the fuel pump control unit. The relay is directly connected to the central electronic module (CEM).
The central electronic module (CEM) uses the controller area network (CAN) to communicate with the engine control module (ECM) to control the fuel pump (FP). There is also a directly connected cable between the engine control module (ECM) and the fuel pump control module. This is used to transmit a pulsed signal to operate the fuel pump (FP). For further information, see Design and Function, engine control module (ECM).
The central electronic module (CEM) also communicates with the supplemental restraint system (SRS) module via the controller area network (CAN). In the event of a collision, the supplemental restraint system module (SRS) transmits data and the central electronic module (CEM) shuts off the power supply to the fuel pump (FP).
There are diagnostics for the input signal from the engine control module (ECM) and the relay for the power supply to the fuel pump control module.

Fuel level (Gasoline/Diesel)




The fuel level in the tank is measured by a sensor. The sensor is on the pump side of the fuel tank. The sensor is directly connected to the central electronic module (CEM) on the same side as the DC/AC converter (only applies to B4184S8).
There are different tables for different fuel tank sizes. The tables are stored in the central electronic module (CEM) and indicate which sensor values correspond to the remaining fuel in the tank. The central electronic module (CEM) determines which tank is in the car by reading a parameter.
The resistance of the sensor increases as the fuel volume in the tank decreases. The signal from the sensor is compared with the values in the fuel tank table to obtain a value for the remaining fuel volume. This data is displayed by the fuel gauge in the driver information module (DIM).
If the fuel level sensor is faulty, the fuel gauge will show 0.
There are diagnostics for the fuel level sensor. In the event of a fault on the DC/AC converter (only applies to B4184S8) any fuel level measurement functions are affected.

The DC/AC converter fuel tank (only B4184S8)




The DC/AC converter functions as a corrosion preventative by producing alternating current on the inside of the fuel tank. The converter is directly connected to the Central electronic module (CEM) on the same terminal as the fuel level gauge. The converter is located on the left-hand side under the rear of the seat cushion.
There are diagnostics for the DC/AC converter. In the event of a fault with the fuel level gauge, the converter function will be affected.

Power steering
One of the tasks of the central electronic module (CEM) is to limit the power consumption of a number of applications in certain modes. In some modes, the central electronic module (CEM) can reduce or stop the power consumption of the power steering.
For further information, see: Current limiting

Electrical additional heater (certain markets)




Vehicles with diesel engines have an electrical additional heater (PTC element) on certain markets.
This comprises a heater element with ceramic resistors located in the heater housing. The air that flows into the passenger compartment is heated directly.
For further information, see Design and Function, climate control module (CCM).

Battery temperature sensor (replaced by software starting from structure week 200605)




The battery temperature sensor checks the temperature of the battery. To charge the battery optimally the central electronic module (CEM) calculates the output voltage from the generator (GEN) using the temperature of the battery.
The sensor is a negative temperature coefficient (NTC) type which is supplied with power from the control module (signal) and is grounded in the control module.
The resistance of the sensor changes with the temperature of the battery. This alters the signal to the central electronic module (CEM). At:
- +20 °C the resistance is approximately 3.5 kohms
- 0 °C the resistance is approximately 9.4 kohms
- -20 °C the resistance is approximately 28.6 kohms.
The lower the temperature the higher the resistance (high voltage). A high temperature results in low resistance (low voltage).
The battery temperature sensor is in the bottom of the battery box. The sensor is directly connected to the central electronic module (CEM).
The central electronic module (CEM) has diagnostics for the battery temperature sensor. The temperature can be read off using VIDA.
From structure week 200605, the battery temperature sensor has been replaced by software. Battery temperature is then calculated from four input signals: outside temperature, engine temperature, vehicle speed and power supply status. The function is diagnosed by the central electronic module (CEM). Temperature can be read off using VIDA.
If the central electronic module (CEM) detects a fault in the sensor or the calculation function, a substitute value of +55 °C is used. This generates a fixed generator output voltage of 13.5 V.
See also Design and Function, Regenerating brake energy (2010-).

Tire pressure monitoring system (TPMS)




The purpose of the tire pressure monitoring system, TPMS, is to enable the driver to have optimum tire pressure by giving a warning when the pressure in any of the tires becomes too low. Correct tire pressure is important for:
- achieving good fuel economy
- achieving optimum comfort and good driving characteristics
- preventing flat tires due to too low tire pressure.
The function is integrated in the central electronic module (CEM). Sensors are installed together with the air valve on each wheel to measure the air pressure in the tires.

Note! The system must be regarded as a driver aid to maintain the correct tire pressure. The system must NOT be regarded as a warning system that indicates that there is a serious problem with the vehicle. No tire is completely sealed - there is always slight leakage as the tire can never be completely sealed to the rim. When inflating the tire with air, you must, as much as possible, ensure that the tires are at same temperature as the outside temperature. Furthermore, "Comfort pressure" should not be applied as this gives a tire pressure that is too close to the parameter for the monitoring system, which means that even small changes in temperature or load can cause the pressure in the tires to be too low for the system to consider acceptable. When inflating with air, the tires must be filled to the pressure stated on the decal located on the car body. The pressure is calculated with regard to fuel economy, comfort and safety. Therefore, these pressures MUST be followed. If the decal is missing or damaged, a new one must be ordered and applied. This is especially important on vehicles with TPMS.

For more information, see Design and Function, System for Tire pressure monitoring (TPMS).

Tire pressure sensor




The tire pressure sensors are installed together with the air valve on the rim. The sensor consists of a pressure sensor, a communication circuit, an acceleration sensor and a battery.

Note! Special procedures are required for removing the tire from the rim depending on vehicle model and tire type. This is to prevent damaging the sensor. See the specific mechanical information instruction under Repairing/Removal, replacement and installation.

For more information, see Design and Function, System for Tire pressure monitoring (TPMS).