Curiosii for ever!: Car repair manuals for everyone.

Fuel Tank Pressure Sensor: Service and Repair






Replacing fuel tank pressure sensor

Special tools:
999 5972 FIXTURE 999 5972 Fixture

Preparations





5-door cars:
- Remove all floor hatches and fold back carpet.
- Remove cover over fuel pump (FP) unit.

4-door cars:
- Fold forward right rear seat
- Remove cargo compartment carpet.
- Fold back corner of wheel housing panel at shock absorber mounting.
- Remove cover over fuel pump (FP) unit.

Disconnect connectors




- Disconnect all connectors on the bracket.
- Remove rubber bracket around wiring.
- Remove fuel filler pipe ground lead from nut on fuel tank level sensor cover.
- Ensure that all cables routed through the fuel pump (FP) unit hole are free to follow the fuel tank when it is lowered.






Remove fuel filler pipe




- Remove circlip securing rubber seal.
- Release rubber seal from bodywork.

Remove fuel tank




- Position mobile jack with fixture999 5972 FIXTURE 999 5972 Fixture under fuel tank, check that the lifting platform is flat so as not to damage the fuel tank.
- Undo tank retaining straps and lower tank slightly.

Remove front holder




- Remove the entire mounting from the bracket by pulling it towards the right of the car.
- Disconnect the hose between the EVAP canister shut-off valve and air cleaner (ACL) from the clamp on the fuel tank.

Hint: Note position of hose in the clamp in case it opens. The hoses must be reinstalled in their original positions.

Replacing fuel tank pressure sensor








- Remove the screw
- Remove clamp

Note! The clamp will be reused

Removing clamp:
- squeeze clamp with a pipe wrench. Hold in place
- pry apart with a small screwdriver.

Note! It is reusable.

- Disconnect hose.
- Remove cable harness.
- Install the new pressure sensor, route cabling as before.

Installing clamp:
- Press in the clamp with a pipe wrench until it locks.

Installing fuel tank




- Raise the fuel tank so that the front holder can be installed to the bracket by pressing it until it locks into place.
- Ensure that cabling routed through the fuel pump (FP) unit hole will not be trapped when the fuel tank is installed.
- Raise the fuel tank and fix it to the bodywork.
- Install EVAP canister shut-off valve hose in the clamp on the fuel tank.

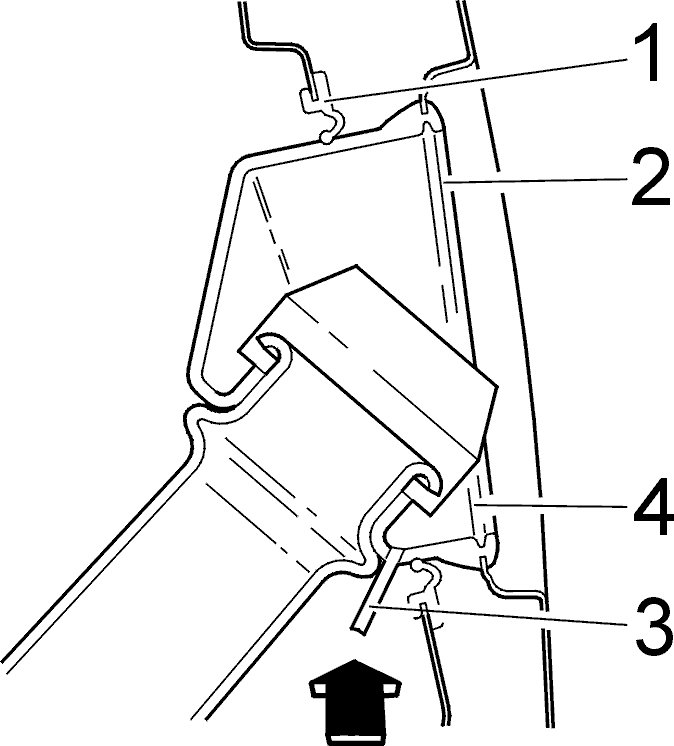
Installing rubber cover on fuel filler pipe




- Check that the inner rubber seal is correctly seated and that the drain pipe is inside the inner seal.
- Check that circlip (1) is in position.
- Lubricate rubber cover sealing surfaces (2) with petroleum jelly.
- Install rubber cover (ensure that it is correctly positioned in relation to bodywork).
- Install circlip (4) and drain pipe (3).
- Connect all connectors and install fuel filler pipe ground lead.
- Install rubber bracket around wiring.
- Install panels, covers and carpets.