Curiosii for ever!: Car repair manuals for everyone.

Part 1












Navigation system portable























































INTRODUCTION
- NOTE! Read through the whole installation instruction before starting the work.
- The front page gives the date of this edition and the edition it replaces
- The second page shows the tools needed for the installation and the contents of the installation kit
- The illustrations display the procedure in order of operation. The order of operation is repeated in the text section
- Cut out the text page in order to follow the illustrations and text at the same time.






Navigation system portable

Note! For information regarding the GARMIN device, see www.garmin.com.

Assembling the holder

Note! Take care when handling the components, they are fragile and are easily damaged.




- Take the three screws M5x25 part no. 986957 and nuts from the kit.
- To prevent too great resistance when the nut for the holder is tightened, hold the screw and screw the nut on and off the threaded part of the screw. Carry this out on all screws and nuts.




- Take special tool 9814104 (torx driver, torx 6), and unscrew the two screws holding the connector in the holder.
- Carefully push the connector to one side with the cable to expose the bottom of the holder.




- Take the kit with the four spacers from the installation kit.

Applies to left-hand drive cars
- Carefully pry off the spacer using P/N 31212538. The part number (1) is on the bottom of the spacer.

Applies to right-hand drive cars
- Carefully pry off the spacer using P/N 31212785. The part number (1) is on the bottom of the spacer.




- Take the three screws and insert them in the spacer fully.




- Apply pieces of butyl tape to the screws so that the screw heads do not protrude outside the spacer when installing it.




- Install the spacer in the bottom of the holder. Ensure that the holder's two screw turrets align between the small pins in the oblong holes in the spacer.




- A click should be heard when the spacer is securely in position.





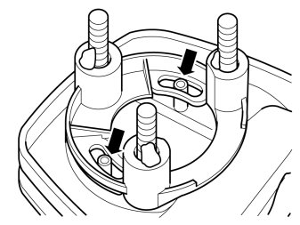
Place the connector in the bottom of the holder so that:
- the guide hole (1) in the connector's circuit board aligns in the corresponding pin at the bottom of the holder
- the holes (2) in the circuit board are over the holder's screw turret.




- Take the small torx screws and carefully tighten the connector to the holder. Ensure that the connector's circuit board is properly against the screw turret and that there is no play.
- Remove the butyl tape from the screws.

Applies to all models




- Turn the ignition switch to position 0.
- Disconnect the battery negative lead.

Note! Wait at least three minutes before unplugging the connectors or removing other electrical equipment.

Steps 10 - 14 apply to cars up to and including model year -2004




- Remove the panel in front of the gear selector lever. Pry off the panel using a plastic weatherstrip tool.




- Remove the panel around the gear selector. Press in the catches at the front edge and lift upwards. First lift at the front edge and then at the rear edge.




- Remove the two screws from the dashboard environment panel.




- Angle the dashboard environment panel outwards so that it is possible to insert a couple of fingers between the tunnel console and the reverse of the panel.
- Detach the dashboard environment panel by pulling it downwards while maintaining the same angle. Some force is required because the panel is tightly installed.
- Disconnect the connectors on the reverse of the dashboard environment panel. Place the dashboard environment panel to one side.

Note! If any of the outer hooks break off, these must be repaired. The method for this can be found in VIDA in the section about the dashboard.




- Remove the screws from the radio bracket.
- Pull out the bracket with the radio. Pull the lower corner while pressing downwards.
- Detach the connectors from the radio and from the keypad to the telephone if fitted. Place the console with the radio to one side.

Steps 15-17 apply to cars from and including model year 2005-




- Detach the rear edge of the gear selector lever cover together with the boot until the two clips release. Use a plastic weatherstrip tool. Remove the gear selector lever cover and the boot. Pull the panel up until the four clips at the sides release.




- Engage the handbrake and move the gear selector lever towards the rear.
- Turn the cover panel to the left for better access.
- Remove the two screws holding the bracket with the radio and dashboard environment panel in the centre console.




Remove the bracket with the dashboard environment panel and radio from the center console as follows:
- Pull it out at the lower edge and pull downwards until it releases from the mounting at the upper edge. Then fold it backwards.

Note! Do not damage the removed components or the surrounding panels.

Hint: If necessary, the panel around the gear lever selector can be removed for additional space. The panel is secured with four catches on the underside along the boot.

- Remove the connectors from the radio and dashboard environment panel, and if applicable, from the phone keypad.
- Place the unit to one side.

Applies to all models




- Position a weatherstrip tool between the panel and dashboard, on the short side of the nozzle.
- Disconnect the catches closest to the weatherstrip tool and at the same time pry the panel outwards.




- Pull out the nozzle and disconnect the connector for the hazard warning lights.
- Place the nozzle to one side.