Curiosii for ever!: Car repair manuals for everyone.

Part 1






Function

Alarm
See Design and Function, Alarm.

Central locking
See Design and Function, central locking.

Immobilizer
See Design and Function, Immobilizer/Start inhibitor.

Alcolock (option 2008-)
See Design and Function, Alcohol Analyzing Start Inhibitor.

Current limiting




The central electronic module (CEM) (4/56) communicates with the engine control module (ECM) (4/46) via the CAN network. The engine control module (ECM) in turn communicates with the alternator control module (ACM) (4/98) via LIN communication. Thus, the central electronic module (CEM) receives information on how much current is produced by the alternator and how much can be used for various loads in the vehicle.
Under certain conditions, the alternator cannot produce enough current for the connected loads. The central electronic module (CEM) communicates with the climate control module (CCM) (4/6), which then completely or partially switches off the following loads:
- electrical additional heater
- rear demist
- electrically heated seats
- heated door mirrors.
The central electronic module (CEM) also transmits a request via the Control area network (CAN) to the engine control module (ECM) to increase the engine idle speed.
When the engine is not running, all current is taken from the battery. There are a number of different loads that can be activated when the engine is not running. One example is the infotainment system. The central electronic module (CEM) continuously monitors the voltage level of the battery. When the voltage level is too low, the central electronic module (CEM) sends information to the infotainment control module (ICM) (3/281), which then shuts off the infotainment system. Upon shut-off, the central electronic module (CEM) sends data via the CAN network to the driver information module (DIM) (5/1) which displays a text message to the user.
If the infotainment system used in ignition position II when the engine is not running, information is sent to the driver information module (DIM). A message is displayed to inform the user that the entire infotainment system will be shut off in 2 minutes.
Charge voltage
In order to charge the battery optimally, the central electronic module (CEM) calculates output voltage from the alternator based on battery temperature. The alternator control module (ACM) (charge regulator) will then regulate output voltage based on control from the central electronic module (CEM). As the engine control module (ECM) can also control the alternator, there may be output voltages deviations, such as in different driving situations.

Headlamps




Depending on the position of the knob in the light switch module (LSM) (3/111), the module transmits a request to the central electronic module (CEM) to switch on low beam. Central electronic module (CEM) (4/56) supplies power to the low beam directly via an output.
The level of the supply voltage to the low beam is controlled using pulse width modulation of the central electronic module (CEM). This means that the average value of the voltage level to the low beam does not exceed 13.2 V, despite the fact that the supply voltage may be higher.
To change to high beam, the left-hand control stalk is pulled towards the steering wheel. A signal is sent via LIN communication from the steering wheel module (SWM) (3/130) to the central electronic module (CEM), which activates the internal high beam relay and supplies power to the high beam. For Bi-Xenon lamps, the position of the reflector is also changed so that the Xenon lamp is on at high beam.
There is a Limp Home function which ensures that low beam still works if there is a fault in the control area network (CAN). For Bi-Xenon lamps the beam is then set to the shortest range.

Headlamp range adjustment (halogen)
headlamp range adjustment is controlled by the light switch module (LSM) (3/111) which is directly connected to the actuator motors.
If the thumb wheel in the lamp switch module (LSM) is turned, information about the position of the wheel is transmitted to the actuator motors. The actuator motors change the angle of the reflectors in the headlamps. The headlamp range can be adjusted in 16 stages.
For automatic headlamp range adjustment (Bi-Xenon), see Design and Function, Headlamp control module (HCM).

Parking lights / number plate lighting





The parking lamps (10/11-12, 10/44-45 and 10/51-52) and license plate lighting (10/3) lights when:
- the knob in the light switch module (LSM) (3/111) is in the low beam position
- the knob in the light switch module (LSM) is in the parking lamp position
- low beam is lit via the low beam automatic function (market dependent).
The central electronic module (CEM) (4/56) receives a request to turn on the lamps from the light switch module (LSM) via LIN communication.
The lamps are powered directly via individual outputs on the central electronic module (CEM).
To detect problems with the lamp faults, the central electronic module (CEM) reads the power consumption of each output.
The parking lights have a limp-home function and will work even if there is a fault in the CAN or an open-circuit in the serial communication between the light switch module (LSM) and the central electronic module (CEM). The parking lights will function when the ignition is in position II.

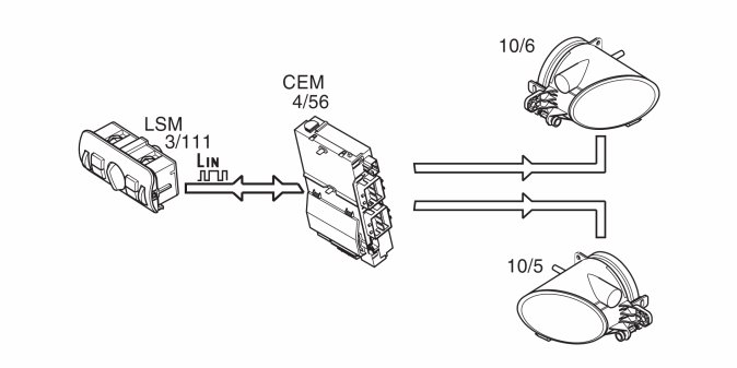
Front fog lamps




The front fog lights (10/5-6) are activated by pushing the front fog light button in the light switch module (LSM) (3/111).
The central electronic module (CEM) (4/56) receives a request to turn on the front fog lights from the light switch module (LSM) via LIN communication.
The lights are supplied power via an internal relay on the central electronic module (CEM).

Rear fog lamp




The rear fog lights (10/46 and 10/53) are activated by pressing the rear fog light button in the light switch module (LSM) (3/111). The central electronic module (CEM) (4/56) receives a request to activate the rear fog light from the light switch module (LSM) via LIN communication. The central electronic module (CEM) powers the lights directly via an output.
The central electronic module (CEM) transmits information via the Controller area network (CAN) to the driver information module (DIM) (5/1) to light the indicator lamp for the rear fog lamps. The central electronic module (CEM) also lights an LED in the button on the light switch module (LSM) which indicates that the rear fog lamps are activated.
The central electronic module (CEM) measures the power consumption on the output which powers the rear fog lamps. In this way information about lamp status can be obtained. In the event of a fault, the central electronic module (CEM) transmits information via the Control area network (CAN) to the driver information module (DIM) which displays a text message.

Back-up lamp




Manual transmissions
The reversing lights (10/48 and 10/55) are activated when reverse gear is engaged. The reverse gear switch (3/10) on the transmission then closes. A directly connected signal informs the central electronic module (CEM) (4/56) that reverse gear is engaged. The central electronic module (CEM) powers the lights directly via an output.
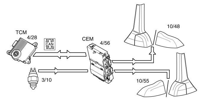
Automatic transmission
The reversing lights (10/48 and 10/55) are activated when reverse gear is engaged. The transmission control module (TCM) (4/28) informs the central electronic module (CEM) (4/56) that reverse gear is engaged via the CAN network. The central electronic module (CEM) powers the lights directly via an output.

Brake light




The stop lamps (10/43, 10/50) are activated when the brake switch is (3/9) closed. A directly connected signal is transmitted to the central electronic module (CEM) (4/56) indicating that the brake is activated.
The lights are powered directly via an output on the central electronic module (CEM).
Information about the lamp circuit is extracted via the power supply function in the central electronic module (CEM).
In the event of a fault, the central electronic module (CEM) transmits data via the Control area network (CAN) to the driver information module (DIM) (5/1) which displays a text message.

High level stop lamp




When the stop lamp switch (3/9) is closed, a signal is transmitted to the central electronic module (CEM) (4/56). The high mounted stop brake lamp (10/19) is supplied with power directly from the central electronic module (CEM). The stop lamp is supplied with power for as long as the stop lamp switch is closed.

Turn signal lamps / Hazard warning signal flashers




This function is controlled by the left control stalk. The steering wheel module (SWM) (3/130) sends signals to the central electronic module (CEM) (4/56) via LIN communication to activate the turn signals (10/13-14 and 10/47-54).
To activate the indicator for the turn signal lamp and to supply the turn signal lamp with voltage directly via one output, the central electronic module (CEM) transmits information to:
- driver information module (DIM) (5/1)
- driver door module (DDM) (3/126)
- passenger door module (PDM) (3/127)
- Trailer module (TRM) (4/110).
If a trailer or similar is connected the symbol for a trailer in the driver information module (DIM) will be activated in time with the indicator light for the turn signal lamp.
The power supply is pulsed and the turn signal lamps are activated 90 times per minute.
The hazard warning flasher is activated by closing the switch (3/6) and transmitting a signal to the central electronic module (CEM) to start the function. The central electronic module (CEM) then sends a signal the same way as when activating the turn signal, but to both sides. The central electronic module (CEM) also sends a signal to the bulb in the switch to indicate that the hazard warning flashers are on.
In ignition position I or II, there is a clicking sound from the driver information module (DIM). If the ignition is switched off, there is no sound, but the hazard warning flashers continue to flash.
If a fault occurs with a lamp, the central electronic module (CEM) detects the reduction in power consumption and the frequency is doubled on the side where the fault occurred. The display in the driver information module (DIM) will occur at twice the frequency.

Wiper/washers windshield/headlights/rear window




The right-hand control stalk is moved downward through three positions to operate the windshield wipers. The steering wheel module (SWM) (3/130) informs the central electronic module (CEM) (4/56) of the selected position via LIN communication. The central electronic module (CEM) transmits the information on to the wiper motor module (WMM) (6/1) via serial communication.
To operate the rear window wiper (V70/XC70/XC60), use the buttons on the end of the right stalk.
For intermittent wiping, the process is the same as for low speed, but the time between each stroke is set using the ring on the control stalk to one of eight positions between 1 and 27 seconds. The wiper motor module (WMM) controls this once it has received information about intermittent wiping from the steering wheel module (SWM). The information is transmitted from the steering wheel module (SWM) via the central electronic module (CEM) via LIN communication.
Washing of the windshield and headlights is activated when the right stalk is moved in the direction towards the steering wheel.
To activate the washer function on the rear window, move the right stalk away from the steering wheel (applies to V70/XC70/XC60).
Then Steering wheel module (SWM) sends information to Central electronic module (CEM) via LIN-communication to activate washing. Central electronic module (CEM) activates the internal relay, which supplies voltage to pump motor (6/104) for the headlights.
When washing the windshield or rear window (V70/XC70/XC60), Central electronic module (CEM) feeds voltage to pump motor (6/127).
The central electronic module (CEM) monitors washer fluid level via a signal from the level sensor in the washer fluid reservoir. The switch in the level sensor closes if the level falls below 1 liter (approx. 1 qt) The central electronic module (CEM) sends the signal to driver information module (DIM) (5/1) via the CAN network. The driver information module (DIM) displays a text message indicating that the windshield washer fluid needs to be filled. The symbol for low washer fluid level lights.
To prevent the washer fluid from freezing when outside temperatures are low, the washer jets are heated via two resistors. The function is controlled via a relay in the engine compartment fuse box.
The wipers only operate at low speed if there is a fault in the control area network (CAN).