Curiosii for ever!: Car repair manuals for everyone.

Navigation System, RTI













Navigation system (RTI)









































Navigation system (RTI)

Note! This accessory is connected to the electrical system of the car. It requires software unique to the car.

Preparations

- Move the left front seat to its rearmost position.




- Turn the ignition key to position 0
- Remove the key from the ignition switch (does not apply to cars with automatic gearboxes)
- Disconnect the battery negative lead.

Note! Wait at least five minutes before disconnecting the connectors or removing other electrical equipment.

Illustration A




- Remove the loudspeaker grille as follows: Insert tool P/N 999-5919-46 into the joint between the loudspeaker grille and the dashboard as illustrated, until it engages
- Twist the tool 90° so that the bent section engages with the underneath of the loudspeaker grille.

Illustration B




- Pull upwards until the loudspeaker grille detaches. The loudspeaker grille is securely fastened by four clips. Move the tool closer to the clip to facilitate removal.

Note! Do not damage the dashboard.




- Remove the screws (1). Remove the bracket (2).





Applies to cars with centre loudspeakers
- Remove the 4 x screws in the loudspeaker (1)
- Lift up the loudspeaker. Disconnect the connector (2)
- Place the loudspeaker to one side.




- Detach the rear edge of the gear selector lever cover together with the boot until the two clips release. Use a plastic weatherstrip tool. Remove the gear selector lever cover and the boot. Pull the panel up until the four clips at the sides release.




- Apply the handbrake. Move the gear selector backwards
- Turn the panel to the left to facilitate access
- Remove the two screws holding the bracket with the radio and the dashboard environment panel in the centre console.




- Remove the bracket with dashboard environment panel from the centre console: Pull the lower edge out and downwards until it releases from the mounting at the upper edge. Then fold backwards.

Note! Do not damage the removed components and surrounding panels.

If necessary, remove the panel around the gear selector lever to gain more space. The panel is secured by four catches on the under side at the boot
- Disconnect the connectors from the radio and dashboard environment panel. Also disconnect the connector from the phone keypad if applicable. Place the unit to one side.





Remove:
- the left-hand side panel (1) from the centre console. First turn the screw clip. Pull the panel outwards and backwards
- the sill trim panel (2) at the left front door
- the covers (3) and the screws (4). There are new screws in the kit.




- Tip the left-hand front seat backwards
- Push the floor carpet to one side so that the air ducts (1) are accessible.




- Remove the rear seat cushion (1). First pull the front edge of the seat cushion up. Pull the cushion forwards. Then lift the seat cushion out.




- Remove the sill trim panel at the left rear door.




- Fold both the rear backrests forward
- Remove the seat belts from the guides (1).




- Remove the clip (1) at the side of the left-hand side cushion
- Pull the top edge of the left-hand front cargo compartment panel out to access the upper lock for the side cushion
- Repeat the operation on the right-hand side.




- Remove the left-hand side cushion. First press in the catches (1) at the top edge of the reverse of the side cushion. Pull the cushion out slightly
- Grasp the cushion using both hands. Twist anti-clockwise until the catches on the inside release
- Remove the side cushion. First pull out the top of the side cushion. Then pull upwards
- Repeat the operation on the other side.




- Remove the cover and the screw for the left-hand C-post
- Repeat the operation on the other side.




- Remove the rubber strip at the rear edge on the left-hand rear door frame
- Grasp the top edge of the C-post panel. Pull (A) the panel inwards until the three clips (1) release
- Then pull (B) the panel straight up. Place the panel to one side
- Repeat the operation on the other side.




- Carefully lift the front edge of the parcel shelf panel until the clips (1) release
- Lift up the panel further until the locating pins (2) release from their holes
- Pull out the parcel shelf. Lay the parcel shelf on the folded backrests.




- Remove the cargo compartment carpet at the rear edge. First turn the two knobs (1) 90°.




- Pull up the front of the cargo compartment carpet. Fold the front half back over the rear half of the cargo compartment carpet.




- Slide the entire cargo compartment carpet forward slightly. Twist slightly to remove the carpet through the tailgate opening
- Remove the cargo compartment carpet.




- Press the centre of the clips at the lower edge of the folding side panel on the left-hand side until they click
- Remove the two clips
- Remove the plastic nut at the front and lower edges of the side panel
- Repeat the operation on the right-hand side.




- Turn the handle (1) on the right and left-hand sides. Turn the handle through 90°.
- Fold the side panels down. Lift the panels out. Place the left-hand side panel to one side. A new panel is in the kit
- Pull the tailgate sill trim panel (2) forwards on the right and left-hand sides until the clips on each side release. Pull hard but carefully. The panel is securely positioned
- Remove the wiring (3) for the cargo compartment lighting
- Pull the sill trim panel straight up until the four clips on the underneath release. Remove the sill trim panel.





Remove:
- the clips (1) in the front left side panel in the cargo compartment
- the front side panel. Place to one side.

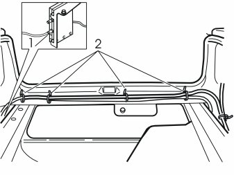
Cable routing




- Route the wiring for the display screen and the radio (A in the kit illustration), and the DIN wiring for the radio (B in the kit illustration) between the air duct (1) and the stay (2)
- Route the cable ends, with the blue 5-pin connector (3) for the power supply and the grey angled connector (4) for the display screen to the left of the air ducts above the cut-out for the radio to the cut-out for the dashboard loudspeaker
- Clamp the wiring to the stay (2). Use the tie strap (5) from the kit
- Route the wiring above and along the air duct (1) to the member (6)
- Secure the wiring at the existing cable harness (7). Use the tie strap from the kit.




- Route both cables (A and B in the kit illustration) under the carpet. Continue along the left-hand side of the car to the rear door
- Install the protective caps on the lugs (1) for the cable ducts
- Route the wiring further above and along the front cable duct (2). Continue along the right-hand side of the rear cable duct (3).





Route the wiring (1):
- out along the right-hand side of the cable duct (2) and under the wiring which is connected there. Remove the connectors if necessary
- up along the top of the wheel arch and out through the hole at the top of the wheel arch
- down along the wheel arch. Position the wiring as illustrated.

Connection in the fuse holder




- Remove the rear electronic module (REM). First open the catch (1) on the top of the module. Fold the module forward. Lift the module from the mountings (2).




- Press in the catches on the rear brown connector in the fuse holder in the cargo compartment. Turn up the lock arm as far as possible. Pull out the connector.




- Carefully pull apart the sides of the holder for the connector at the ends so that the connector can pass by the catches
- Pull the connector out.

Note! Make a note of the position number of the connector. The position numbers are located on the ends of the connector and in the bottom of the fuse holder.




- Connect the red/white cable to position 8
- Reinstall the connector in the holder
- Reinstall the connector in the fuse holder.




- Press in the catches on the grey connector on the reverse of the fuse holder in the cargo compartment. Turn up the lock arm as far as possible. Pull out the connector.




- Carefully pull apart the sides of the holder for the connector at the ends so that the connector can pass by the catches
- Pull the connector out.

Note! Make a note of the position number of the connector. The position numbers are located on the ends of the connector and in the bottom of the fuse holder.




- Connect the green (GN) cable to position 20 in the connector. Connect the white (W) cable to position 21.

Reinstall:
- the connector in the holder
- the connector in the fuse holder
- the rear electronic module (REM).




- Route the pre-routed ground lead in the cable harness forwards to the ground terminal behind the battery
- Connect the ground lead for the cable harness to the ground terminal. Tighten the screw. Tighten to 10 Nm (7 lbf. ft.)
- Secure the excess cable with the blue connector.

Installing, connecting the Global Positioning System (GPS) antenna




- Install the new Global Positioning System (GPS) antenna (1) in the guide hole. Press the Global Positioning System (GPS) antenna into place. Use the clip in the hole in the centre of the rear edge of the parcel shelf as illustrated
- Route the new cable (C in the kit illustration) to the Global Positioning System (GPS) antenna. Follow the routing of the existing loudspeaker cable inside the seat belt holder (2)
- Connect the cable to the Global Positioning System antenna
- Secure at the points (3)
- Route the cable through the hole (4) to the rear edge of the wheel arch.

Installing the DVD reader





Does not apply to USA/AUS
- Remove the existing antenna amplifier (if applicable)
- Connect the cable (2) for the new antenna amplifier (1) to the connector (3) for the antenna in the rear bumper by the right-hand tail lamp
- Position the antenna amplifier on the panel edge in front of the right-hand tail lamp
- Tighten the antenna amplifier onto the edge of the panel.





Does not apply to USA/AUS
- Route the new transparent single cable (D in the kit illustration) from the lower terminal (1) for the aerial amplifier, along the existing cable harness in the rear crossmember and to the rear edge of the left-hand rear wheel well
- Clamp the cable at the existing cable harness using tie straps (2)
- If the existing aerial amplifier has been removed, reinstall the disconnected black cable in the upper socket (3) in the aerial amplifier.




- Take four screws, the bracket and the DVD reader from the kit. Tighten the DVD reader at the bracket.




- Take the spring nut (1) from the kit. Press the spring nut on the panel edge on the underneath of the socket (2) in the panel.

Connecting the DVD reader





Connect:
- the cable (1) for the display screen
- cable (2) with a green connector to the power supply
- the cable (3) for the Global Positioning System (GPS) antenna
- the cable (4) to the aerial amplifier
- The DIN cable (5) for the radio.

Note! If the TV is to be installed carry out the operation now. Use installation Instructions 8637033.




- Install the bracket with the DVD reader in the rear edge of the rear wheel well using three screws (1) from the kit. Tighten the screws. Tighten to 10 Nm (7 lbf ft)
- Clamp the blue excess connector and other wiring at the DVD reader. Use two tie straps.

Installing and connecting the display screen





Applies to cars without centre loudspeakers
- Install the bracket (1) on the display (2). Use the screws (3) (from the kit).

Applies to cars with centre loudspeakers
- Install the bracket (1) on the display screen (2). Use the front screw (3).





Applies to cars without centre loudspeakers
- Connect the wiring for the DVD reader (1) to the display (2)
- Install the display screen and the bracket in the dashboard. Use the existing screws (3)
- Press the new loudspeaker grille (from the kit) into place on the dashboard.





Applies to cars with centre loudspeakers
- Install the centrally mounted loudspeaker in the cut-out in the bracket for the display screen
- Tighten the loudspeaker into place. Use the four screws
- Press the connector (1) for the centre loudspeaker into the bracket on the left-hand under side of the bracket for the display screen.





Applies to cars with centre loudspeakers
- Connect the three cables (1) to the display screen and the centrally mounted loudspeaker
- Press the display screen and bracket into the dashboard. Tighten using the 4 x existing screws (2)
- Press the new loudspeaker grille (from the kit) into place on the dashboard.

- Connect the green female connector on the new cable harness to the green male connector disconnected from the radio
- Connect the other two large connectors to the radio
- Connect the DIN cable to the DVD unit
- Connect the remaining connectors which were disconnected from the radio
- Connect the connectors to the dashboard environment panel
- Connect the connectors to the phone keypad if applicable
- Reinstall the radio and dashboard environment panel in the centre console. Tighten using the two screws
- Reinstall the panel and gear selector lever boot around the gear selector lever
- Fold the carpet back into place
- Reinstall the side panel on the centre console
- Reinstall the sill trim panels on the left-hand side
- Fold the left-hand front seat back into position
- Tighten the front edge of the seat. Tighten the seat using the two new screws from the kit. Tighten to 40 Nm (30 lbf ft). Reinstall the covers over the screws
- Reinstall the parcel shelf
- Reinstall the C-post panels. Press the rubber mouldings into position
- Reinstall the front side panel in the cargo compartment
- Connect the cargo compartment lighting connectors to the tailgate sill trim panel. Reinstall the sill trim panel
- Install a new left-hand folding panel from the kit. Reinstall the right-hand panel
- Reinstall the side cushion
- Fold the backrest back into place
- Fold the seat cushion back into place.

Installing, keypad in the steering wheel




- Turn the steering wheel 90° to the position illustrated, so that the two holes on the reverse of the steering wheel are accessible.




- Insert a screwdriver in the hole on the reverse of the steering wheel, at right angles to the rear surface of the steering wheel
- Insert a screwdriver as far as possible to determine the position of the end of the spring clip (1)
- Position the end of the screwdriver on top of the spring clip
- Pry the screwdriver upwards towards the upper edge of the hole (2) until the spring releases and one side of the steering wheel module springs out and releases from the mounting
- Turn the steering wheel 180°. Carry out the procedure on the other side
- Turn the steering wheel to the straight ahead position.




- Fold the steering wheel module out
- Remove the two connectors (1) for the sender wiring on the airbag.

Note! The connectors are tightly secured. Do not use tools to disconnect the connectors

- Place the steering wheel module to one side.





Remove:
- the screw (1). Remove the ground lead
- the connector (2) for the horn and the keypads
- the three screws (3). Lift out the horn (4).

Illustration A




- Place the steering wheel in a suitable position. Cut along the existing markings. Use a small knife.

Note! Hold the knife so that the cut is made at right angles to the reverse of the steering wheel. This is to reduce the risk of cutting too large a hole as the edge around the keypad is only a few millimetres wider than the keypad itself.

Illustration B




- Also cut off a section of material on the reverse of the steering wheel spoke
- Cut until the keypad is positioned properly.




- Take the keypad, two screws and the cover from the kit
- Ensure that the cable is positioned on the underside of the steering wheel spoke
- Insert the keypad in the hole in the steering wheel with the text on the buttons facing upwards. Press inwards until the keypad lies flush with the steering wheel cover.




- Tighten the keypad and cover around the spoke. Use the screws.




- Position the horn as illustrated
- Connect the installed keypad connector to the reverse of the keypad on the right-hand side of the horn. The cable from the installed keypad is extremely short and the connector is difficult to connect.

- Reinstall the horn, according to the reversed order of operation 51. Ensure that the three springs are correctly positioned. Check that the ground lead is not trapped
- Tighten the screws alternately. Tighten to 6.5 Nm (5 lbf.ft)
- Reinstall the ground lead. Tighten the ground lead
- Connect the connector for the horn and the keypads
- Check the function of the horn. Press the horn all the way around its circumference.




- Check that the two springs (1) are in position
- Press the two connectors for the sender cables for the airbag into the steering wheel module.

Note! The wiring must be routed through the existing holder (2).

- Insert the two pins on the reverse of the steering wheel module in the two springs. Ensure that the sender cables are unimpeded
- Press the steering wheel module into the mountings. Two clicks should be heard.




- Turn the ignition key to position II
- Reconnect the battery negative lead
- Reinstall the cargo compartment carpet
- Program the software according to the service information in VIDA.