Curiosii for ever!: Car repair manuals for everyone.

Splicing the Cables






Splicing the cables

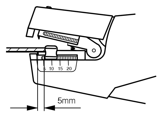
Strip the wire




Peel 5.0mm/0.2 in of the insulation off the 4 cable ends (13/64 inches) using pliers951 2620 Stripping tool 951 2620 Stripping Tool.




Twist the strands on the stripped wire ends. Do NOT forget to do this on all four wire ends.

Note! Make sure the strands are twisted.

Joining the wire ends with the same colors/single or multi-colored





Note! Cable should always be connected colour for color, single color to single color or multiple colors to multiple colors. The cables must NOT under any circumstances be incorrectly connected, always color for color.

Install the shrink tubing 951 2783 in the pressure tool 951 2785 Crimping tool 951 2785 Crimping Tool in output "Green". Clamp the pliers enough to hold the shrink tubing.





Note! The sleeve must sit in the correct output of the pressure tool, position "Green".

Feed the end of the wire in the shrink tubing that is held by the pliers. Feed the wire into the shrink tubing until it stops, make sure that the wire insulation does not go near the clamp on the sleeve or the stripped wire will protrude outside the sleeve.




Clamp the shrink tubing tightly.




Press the handles of the pliers fully together to obtain a correct joint, the pliers automatically release their grip afterwards.




Feel by hand to make sure the shrink tubing is correctly installed.
Check that measurement B is 40mm (1-1/2 inches) between the joints from center to center.





Note! Remember the cable, color to color (with same color/single or multi-colored).

When the first join is completed and checked, join the rest of the wire ends in the same way.

Heating the shrink tubing
The shrink tubing ensures the electric wire is satisfactory and provides a safe join.
Hold a pad or other item behind the shrink tubing to avoid heat escaping.

Hint: Suitable setting of heat gun 951 2777 Hot-air gun 951 2777 Hot Air Gun , air distribution switch in position 2 and potentiometer for temperature setting in position between 2 and 3.




Heat the sleeve using the hot air gun 951 2777 Hot-air gun 951 2777 Hot Air Gun and suitable jet kit. Heat the shrink tubing rapidly to avoid heat escaping. It is very important that the shrink tubing is correctly shrunk around the wire. It should be tight at both ends.

Note! Adjust the heat shield if necessary.