Pistons
Pistons
Piston running clearance (example)
Measured cylinder diameter 83.015 mm
Measured piston diameter 82.995 mm
The piston running clearance is 0.020 mm
The piston running clearance must be 0.010 - 0.030 mm
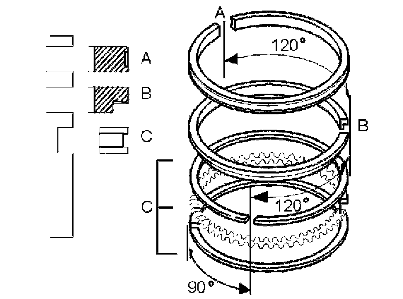
Piston rings
Axial clearance
Upper compression ring 0.030 - 0.070 mm
Lower compression ring 0.030 - 0.070 mm
Oil control ring assembly 0.038 - 0.142 mm
Compression ring dimension
Upper 1.200 -0.010/-0.030 mm
Lower 1.500 -0.010/-0.030 mm
Dimension, three piece oil ring
Spring 1.510 ± 0.020 mm
Rail 0.460 ± 0.011 mm
Piston pin
Diameter 21.000 +0/-0.004 mm
Length 57.0 +0/0.2 mm
Installing piston rings