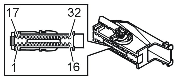
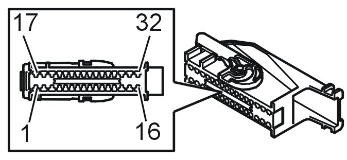
Signal Specification, Rear Electronic Module (REM)
Signal specification
General
All the values given below are between the terminals stated in column 1 and terminal #D12 in column 2 (power ground). This applies unless otherwise indicated in the last column.
Note! It is important to connect the breakout box and to check the ground connections before starting to measure.