Curiosii for ever!: Car repair manuals for everyone.

Housings With Round Cavity Opening






Housings with round cavity opening

Cable terminals that are extracted without using a terminal removal tool

1.6 Pin/Pin sockets




For housings for 1.6 Pin/pin sockets no terminal removal tool is used.
The cable terminals have no locking tabs. The primary locking is located in the cavities.




With the secondary locking opened the cable terminals can be extracted from the cable side by pulling the cable.
No terminal removal tool is required.
- See Example 1 Example 1 and Example 2A Example 2A for the procedure.




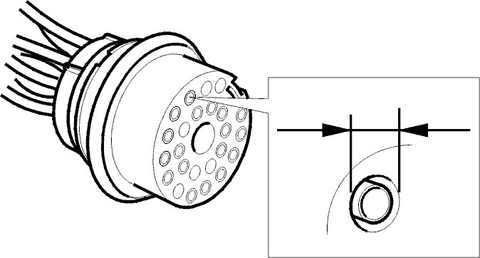
The cavity opening for 1.6 Pin/Pin sockets is the smallest of the round cavity types.
- Proceed to chapter New cable terminal New Cable Terminal Seal sws and plug . Replacing a cable terminal in order to crimp a new cable terminal.

3.5 Moisture proof Pin/Pin sockets




Housings intended for moisture proof pin/pin socket terminals do not require a terminal removal tool.
The cable terminals have no primary locking. Integral catches in the cavities retain the terminals in the housing.
With the secondary locking opened the cable terminals can be extracted from the cable side of the housing by lifting them up.
No terminal removal tool is required.




Moisture proof pin/pin sockets are ready-to-use with the cable fitted and are available as a complete spare part.

Cable terminals that are extracted with terminal removal tools

2.1 Pin/Pin sockets and 3.5 Pin/Pin sockets





Terminal removal tool, p/n 9814230
For round cavity openings a terminal removal tool with a hollow end is used.
The terminal removal tool is used for the following cable terminals:








A 2.1 Pin/Pin sockets








B 3.5 Pin/Pin sockets





Choose a terminal removal tool with the correct diameter
There are two cavity opening sizes.
See illustration.
Choose a terminal removal tool which matches the cavity opening.
- The smaller end is for diameter 2.1
- The larger end is for diameter 3.5
Press the cable terminal in the cavity forwards as far as it will go to free the locking tab from the cavity catch.
Insert the terminal removal tool in the groove as illustrated.
Always follow the instructions in Using terminal removal tools Using Terminal Removal Tools which give the correct working procedure.
- Proceed to chapter New cable terminal New Cable Terminal Seal sws and plug . Replacing a cable terminal in order to crimp a new cable terminal.