Curiosii for ever!: Car repair manuals for everyone.

Connecting the Breakout Box, Brake Control Module



Connecting The Breakout Box, Brake Control Module (BCM)

Connecting the breakout box

Special Tools: 951 1428, 951 2855

Connecting the breakout box







- Ignition off
- Expose the brake control module.
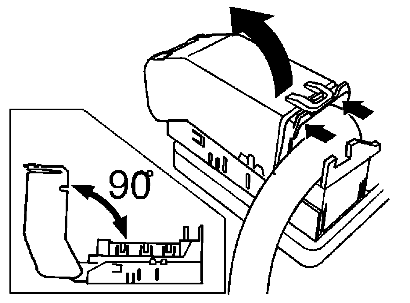
- Disconnect the control module by pressing in the catch on top of the connector and carefully work the cover up so that the connector lifts.

CAUTION: Do not bend the cover up by more than 90 degrees.

- Check in particular that the male and female terminals on the control module and the control module connector are intact, secure and cannot be pressed in. Check that the female terminal cables are securely connected
- In particular, check the terminal pins relevant to the diagnostic trouble code (DTC)/symptom.
- Connect adapter 951 2855 to the control module connector (wiring side). Connect breakout box 951 1428 to the adapter
- The breakout box is designed to facilitate reading off the control module input and output signals when the control module is connected; and the resistance of the cable and component when the control module is disconnected. The use of a breakout box reduces the risk of accidental short-circuits and damage to the connector pins.