Curiosii for ever!: Car repair manuals for everyone.

Part 2






Function (Continued)

Fuel pump




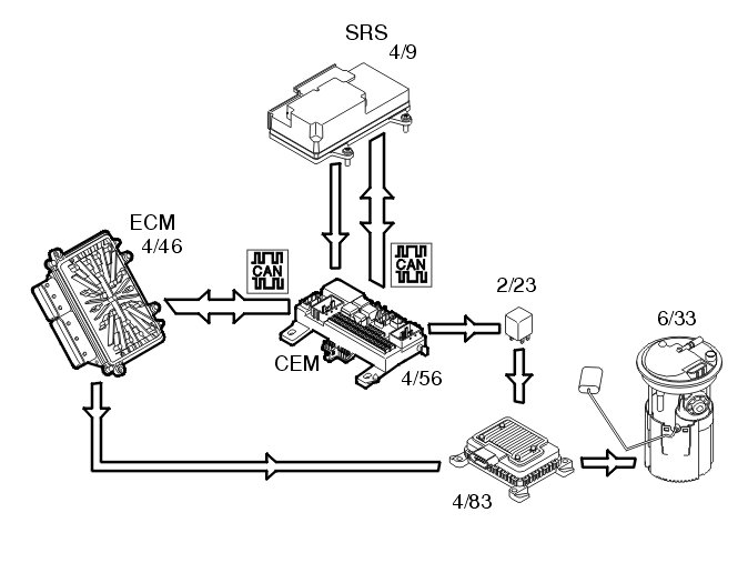
The central electronic module (CEM) (4/56) receives a request from the engine control module (ECM) (4/46) via the control area network (CAN) to start the fuel pump (FP). The central electronic module (CEM) then activates the relay (2/23) which supplies the fuel pump unit (4/83) with power, which in turn powers the fuel pump (FP) (6/33).
If the controller area network (CAN) does not function the relay for the power supply to the fuel pump control module will not be activated.
In the event of a collision in which the airbags are deployed, a signal is transmitted from the supplemental restraint system (SRS) module (4/9) via the control area network (CAN) to the central electronic module (CEM). The central electronic module (CEM) deactivates the relay for the fuel pump unit.

Wiper/washers for the windshield/rear window/ headlights





Note! Rear window wiper and washer are only available on C30 and V50.

The right-hand control stalk (3/134) is moved downwards through three positions to operate the windshield wipers. The steering wheel module (SWM) (3/254) transmits information via the control area network (CAN) to the central electronic module (CEM) (4/56) about the selected position. The central electronic module (CEM) transmits the information on to the wiper motor module (WMM) (6/1) via serial communication.
For intermittent wiping, the process is the same as for low speed, but the time between each stroke is set using the ring on the control stalk to one of eight positions between 1 and 27 seconds. The wiper motor module (WMM) controls this once it has received information about intermittent wiping from the steering wheel module (SWM). The information is transmitted from the steering wheel module (SWM) via the central electronic module (CEM) on the controller area network (CAN).
The windshield and headlamps are washed when the right-hand control stalk is moved towards the steering wheel. The steering wheel module (SWM) transmits information to the central electronic module (CEM) via the Control area network (CAN) to activate washing. The central electronic module (CEM) activates the relay (2/182) for power supply to the pump motor (6/104) for the headlamps. When washing the windshield the central electronic module (CEM) activates the relay (2/92) for power supply to the pump motor (6/2).
The central electronic module (CEM) receives a signal from the level sensor in the windshield washer reservoir so that it can check the windshield washer reservoir level. The switch in the level sensor closes if the level falls below 0.7 liters. The central electronic module (CEM) sends the signal to Driver information module (DIM) (5/1) via the controller area network (CAN). The driver information module (DIM) displays a text message indicating that the windshield washer fluid needs to be topped up. The symbol for low windshield washer reservoir level lights.
The tailgate wiper (6/32) (C30/V50) is controlled directly by the central electronic module (CEM). The central electronic module (CEM) receives a signal from the steering wheel module (SWM) via the controller area network (CAN). The central electronic module (CEM) then activates relay (2/16) to start the tailgate wiper. The tailgate wiper is powered via relay (2/193).
The tailgate wiper can be programmed so that it is activated if the windshield wipers are on and back-up (reverse) gear is selected.
Rear windshield cleaning is activated when the right-hand control stalk is pushed away from the steering wheel. The steering wheel module (SWM) transmits information to the central electronic module (CEM) via the Control area network (CAN) to activate rear windshield washing. The central electronic module (CEM) activates relay (2/93) to power the pump motor (6/2). The central electronic module (CEM) activates the tailgate wiper at the same time.
The wipers only operate at low speed if there is a fault in the control area network (CAN).
There is no Limp Home function for the rear windshield washer and wiper.

Fuel level (Gasoline/Diesel)




The fuel level is gauged by the fuel level sensor (7/130). The signal from the sensor is transmitted to the central electronic module (CEM) (4/56). The central electronic module (CEM) calculates the remaining quantity of fuel by comparing the signals with a tank table. Information about the quantity of fuel is transmitted via the Control area network (CAN) to the driver information module (DIM) (5/1)where the fuel level is displayed on the fuel gauge.

Corrosion inhibitor fuel tank (only B4184S8)




The Central electronic module (CEM) (4/56) inhibits ethanol corrosion in the fuel tank. This is controlled by a DC/AC converter that is directly connected to the Central electronic module (CEM). The DC/AC converter produces alternating current on the inside of the fuel tank, which inhibits corrosion.

Rear fog lamp




The rear fog lamps (10/46, 10/53) are activated by pressing the button for the rear fog lamps in the lamp switch module (3/111). The light switch module (LSM) is directly connected to the central electronic module (CEM) (4/56). The central electronic module (CEM) directly powers the lamps via an output.
The central electronic module (CEM) transmits information via the Controller area network (CAN) to the driver information module (DIM) (5/1) to light the indicator lamp for the rear fog lamps. The central electronic module (CEM) also lights an LED in the button on the light switch module (LSM) which indicates that the rear fog lamps are activated.
The central electronic module (CEM) measures the power consumption on the output which powers the rear fog lamps. In this way information about lamp status can be obtained. In the event of a fault, the central electronic module (CEM) transmits information via the Control area network (CAN) to the driver information module (DIM) which displays a text message.

Back-up lamp





Manual transmissions
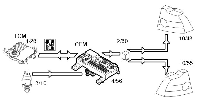
The back-up lamps (10/48, 10/55) are activated when back-up gear is selected. The switch (3/10) on the transmission is then closed. A directly connected signal is transmitted to the central electronic module (CEM) (4/56) indicating that back-up (reverse) gear is selected. The central electronic module (CEM) activates the relay (2/80) and the back-up (reversing) lamps are supplied with power via the relay.

Automatic transmission
The back-up lamps (10/48, 10/55) are activated when back-up gear is selected. The transmission control module (TCM) (4/28) transmits information via the Control area network (CAN) to the central electronic module (CEM) (4/56) indicating that back-up (reverse) gear is selected. The central electronic module (CEM) activates the relay (2/80) and the back-up (reversing) lamps are supplied with power via the relay.

Brake light




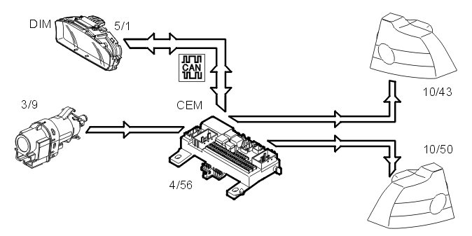
The stop lamps (10/43, 10/50) are activated when the brake switch is (3/9) closed. A directly connected signal is transmitted to the central electronic module (CEM) (4/56) indicating that the brake is activated.
The lamps are powered directly via two outputs on the central electronic module (CEM).
Information about the lamp circuit is extracted via the power supply function in the central electronic module (CEM).
In the event of a fault, the central electronic module (CEM) transmits data via the Control area network (CAN) to the driver information module (DIM) (5/1) which displays a text message.

Rear demist




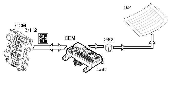
Rear demist (9/2) is activated by pressing the switch on the climate control module (CCM) (3/112). The climate control module (CCM) transmits the data via the Control area network (CAN) to the central electronic module (CEM) (4/56).
The central electronic module (CEM) checks that the conditions to start the demist have been met. If the conditions are met the central electronic module (CEM) activates the relay (2/82) and the heating is supplied with power via the relay.
The central electronic module (CEM) also transmits a request via the Control area network (CAN) back to the climate control module (CCM) to light the LED in the switch.
When the roof is opened on the C70, the rear demist on the rear windshield switches off automatically.

Sunroof operation




The sun roof communicates with the central electronic module (CEM) (4/56) via serial communication. The sun roof has a sun roof module (SRM) (4/33) which manages this communication.
Information about the sun roof position and information to be used for diagnosis is sent from the sun roof to the central electronic module (CEM). The information about the position is transmitted on to other control modules, such as the climate control module (CCM) (3/112) (via central electronic module (CEM)).
The communication between the central electronic module (CEM) and the sun roof mainly consists of diagnostic information.

Rain sensor module (RSM)




The rain sensor module (RSM) (7/149) senses water on the windshield. The rain sensor (RSM) assesses the information based on volume of water on the windscreen and the prevailing exterior light conditions. This information is transmitted via the central electronic module (CEM) (4/56) transmits on to the wiper motor module (WMM) (6/1) using serial communication. The wiper motor module (WMM) in turn ensures that the windscreen wipers are set to the correct speed.
The rain sensor module (RSM) senses if the windscreen is dirty or covered with traffic film and automatically compensates accordingly. The rain sensor module (RSM) also senses heavier splashes on the windscreen. The windscreen wipers are then operated at top speed.
The rain sensor module (RSM) communicate with the central electronic module (CEM) using serial communication. The power supply is from the relay for extended power supply. The relay is checked by the central electronic module (CEM) and is activated when the ignition key is in position I or II. The rain sensor module (RSM) is powered for 3 seconds after the ignition has been switched off.
The steering wheel module (SWM) (3/254) transmits the signal via the control area network (CAN) to the central electronic module (CEM) indicating the position of the windshield wiper stalk and the status of the rain sensor switch. If the rain sensor switch is activated on the wiper stalk (3/134), the central electronic module (CEM) transmits the information to the rain sensor module (RSM) which is activated.
The rain sensor module (RSM) transmits information to the wiper motor module (WMM) via the central electronic module (CEM). The sensitivity can be adjusted using the collar on the wiper stalk.
If a fault occurs in the rain sensor module (RSM), the central electronic module (CEM) transmits an error message to the wiper motor module (WMM). If there is a fault message when the rain sensor module (RSM) is active, the wiper motor module (WMM) selects top speed for the windscreen wipers until the rain sensor is deactivated. If the fault recurs, wiping will only be activated when the wiper stalk is next moved to the single sweep or slow speed position.

Seat belt reminder




The seat belt reminder (10/41) is activated when the central electronic module (4/56) receives a signal from the supplemental restraint system module (SRS) (4/9), via the control area network (CAN), which indicates that the seat belt is not fastened despite someone sitting in the front seat. The three seat belt buckles in the rear seat (3/217-219) have sensors which are directly connected to the central electronic module (CEM). If a belted passenger opens the seat belt while the vehicle is in motion, the central electronic module (CEM) will activate the seatbelt not fastened indicator.
Data is also transmitted to the driver information module (DIM) (5/1) which indicates to the driver that the seat belt is not being used in one of the front seats.
See also Design and Function, Activating automatic start/stop of engine (2010-, only on vehicles with the function automatic start/stop of engine)

Power steering




The central electronic module (CEM) also has the task of limiting power consumption in certain applications. Therefore in certain conditions it may be necessary to decrease or shut off the power steering.
The central electronic module (CEM) can set the power consumption of the electrical power steering module (EPS) in five stages:
- 100% of normal power consumption
- 75% of normal power consumption
- 50% of normal power consumption
- 25% of normal power consumption
- 0% of normal power consumption.
The central electronic module (CEM) (4/56) transmits information about permitted power level to the electrical power steering module (EPS) (4/99) via the control area network (CAN). The information is also transmitted to the driver information module (DIM) (5/1), via the controller area network (CAN), which lights the general warning lamp. The driver information module (DIM) also displays a text message.

Electrical additional heater (certain markets)




Climate control module (CCM) (3/112) checks the function of the electrical additional heater.
The central electronic module (CEM) transmits information regularly to the climate control module (CCM), for example, about the permitted size of the output voltage.
The climate control module (CCM) uses this information to prioritize between its loads. The climate control module (CCM) also uses the information to calculate how much output must be used to activate the electrical additional heater (9/41).
The central electronic module (CEM) (4/56) receives information via the CAN network from the climate control module (CCM).
The central electronic module (CEM) checks that the output voltage is not too great. See: Current limiting
The power consumption of the electrical additional heater is regulated via a pulse-width modulated signal from the central electronic module (CEM).

Tire pressure warning (TPMS)
For more information, see Design and Function, System for Tire pressure monitoring (TPMS).