Curiosii for ever!: Car repair manuals for everyone.

Function






Function

Audio unit

S40/V50





C70




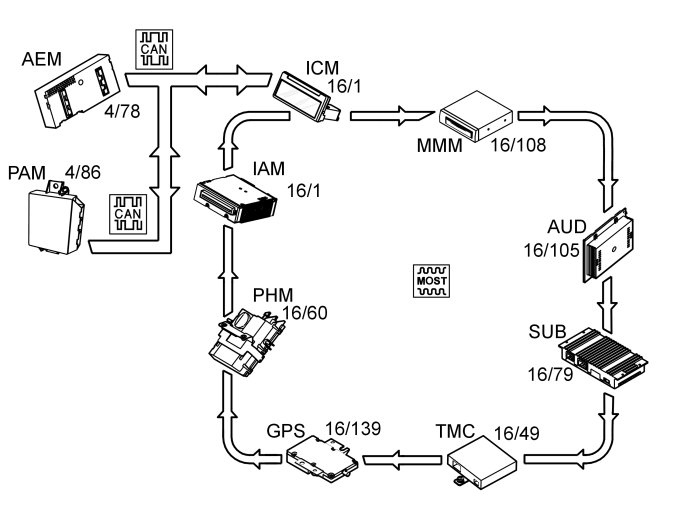
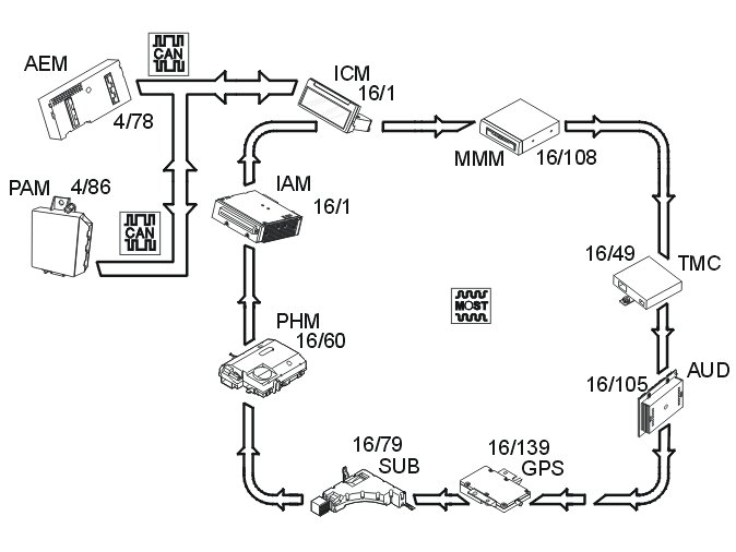
The integrated audio module (IAM) functions as a stereo system in the vehicle and is connected to other control modules on the MOST network.
If the accessory electronic module (AEM) is installed, the sound from the integrated audio module (IAM) is muted during telephone calls if a handsfree set (accessory) is used. The sound is also muted when reverse gear is engaged if the vehicle is equipped with the parking assistance system (accessory).
If the vehicle is equipped with the RTI navigation system (option), voice information is heard from the existing speakers.

Remote control




The steering wheel remote control (standard/option) is directly connected to the steering wheel module (SWM) via serial communication. The remote control can be used to change volume (increase/decrease) and change the preset radio stations. During CD, cassette or MD playback, the buttons are used for track selection. The steering wheel module (SWM) uses the CAN network to communicate with the infotainment control module (ICM), which then sends the signals on to the integrated audio module (IAM) via the MOST network.

Audio remote control (option)




A separate wireless remote control is available as an option. This can be used to change volume (increase/decrease) and switch between the preset radio stations. During CD, cassette or MD playback, the buttons are used for track selection and during CD playback via the CD changer, the remote control can also be used to switch discs. The remote control can also be used to seek a specific frequency, store radio stations in program positions (Presets), perform Autostore and select SOURCE.