Curiosii for ever!: Car repair manuals for everyone.

Function






Function

Standard lock function




The lock function that is active when the car is delivered depends on the market. The system can be configured for total unlocking or 2 step unlocking.
Total unlocking means that all side doors are unlocked and that the tailgate/trunk lid can be opened by activating the switch on the handle.
During 2 stage unlocking, only the driver's door is unlocked first. If the remote control button is pressed again within 10 seconds, the other doors are unlocked.
Normally the vehicle is unlocked by activating the unlocking button on the remote control. This also deactivates the alarm if installed. Unlocking the car with the key blade should be seen as a last resort. If the car is unlocked with the key blade, the alarm will be triggered. The alarm can be switched off by inserting the ignition key in the ignition switch.

Keyless function




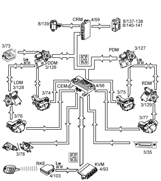
If there is a keyless entry system, the keyless vehicle module (KVM) checks the identity of the key during locking and unlocking. After checking the key identity, the keyless vehicle module (KVM) then transmits a command to the central electronic module (CEM) to lock or unlock the central locking. The keyless vehicle module (KVM) uses the antennas in the outer handles on the side doors and in the rear bumper to check the identity of the key.
The key is checked when a handle on the side doors is pulled out or if the switch on the tailgate is activated. The keyless vehicle module (KVM) then activates one or more of the outer antennas to check the identity of the key. If the key is approved, the keyless vehicle module (KVM) transmits a signal to the central electronic module (CEM) which unlocks the vehicle.
The vehicle is locked using the lock buttons on the door handles. During locking, the antenna is also activated to check that there is an authorized key in the vicinity of the vehicle. If the key is approved, the keyless vehicle module (KVM) transmits a signal to the central electronic module (CEM) to lock the vehicle.
For further information, see Design and Function, keyless vehicle module (KVM).

Lock function with deadlocking




If lock units with deadlocking are installed, there is an additional lock motor in each lock unit. The function of this lock motor is to mechanically disengage the inner door handle. Deadlocking is activated automatically 25 seconds after the vehicle was locked. It will not then be possible to open a side door from the inside, even if a window is smashed. This also means that anyone still in the vehicle when it is locked cannot get out. The function can be disengaged using the switch for reduced alarm which is in the front interior lighting panel in the roof.

Private locking




The private locking function prevents entry to certain areas and functions in the vehicle. The function is only available on the S40 and C70.
The key blade must be taken out of the remote control to activate this function. The function is activated by locking the glove compartment in the normal way using the key blade (turning 0 to 90 degrees) and then continuing to turn (from 90 to 180 degrees). This sets the glove compartment and trunk lid to valet mode and blocks outgoing calls on the phone module (PHM) if installed. On the C70, the ski hatch and the lockable storage compartments are also locked. A text message in the driver information module (DIM) indicates that the lock is active. The trunk lid cannot now be opened using the remote control or lock switches in the doors. The key blade is kept by the customer and the remote control can be handed to valet parking attendants or workshop staff who need access to the vehicle.
There are two lock cylinders by the lock mechanism for the rear seat backrests to ensure the degree of security required. These lock cylinders can be locked or unlocked using the key blade. There is no electrical indication that these locks are locked. The customer must check this themselves.
This function is deactivated by inserting the key blade in the lock cylinder in the glove compartment and turning it back a quarter of a turn (from 180 to 90 degrees). The trunk lid can then be opened using the remote control or central locking button.

Child-proof lock (only S40/V50)




Child-proof locking involves an additional lock motor in each rear lock unit. The lock motor disengages the inner door handle on each rear door so that the door cannot be opened from the inside. The central electronic module (CEM) also deactivates the rear power window lift mechanisms. This function is activated using a button on the control panel in the driver's door. The control panel is directly connected to the driver door module (DDM). The button has an alternating function which engages or disengages the function every other time the button is pressed. The activation button has a built-in LED to indicate activated function. A message is also shown in the display in the driver information module (DIM).
The central electronic module (CEM) receives information from the rear door control modules that the function is activated. Child-proof locking can be activated or deactivated when the key is in the ignition switch. During deactivation, the inner door handles are re-engaged and the rear power window lift mechanisms are activated. The LED in the switch goes out and the driver information module (DIM) displays a message.
A diagnostic trouble code (DTC) is stored in the central electronic module (CEM) if the indication from the lock motors is incorrect or missing, or if deactivation or activation fails. A message is also shown in the driver information module (DIM).

Opening the trunk lid/tailgate




The tailgate/trunk lid can be opened in three ways:
- via the switch on the tailgate/trunk lid if the vehicle is unlocked
- keyless
- via a switch in the center console under the mug holder (only C70).
The lock motor for the tailgate/trunk lid is directly connected to the central electronic module (CEM).
The switch on the tailgate or trunk lid is directly connected to the keyless vehicle module (KVM) and to the central electronic module (CEM).
When the switch is pressed in, the keyless vehicle module (KVM) activates the antenna in the bumper and begins checking for an authorized key using keyless functionality. If an authorized key is found, the keyless vehicle module (KVM) transmits a signal to the central electronic module (CEM) to activate the lock motor in the trunk lid or tailgate. The tailgate/trunk lid is not opened if valet locking is activated.
There is no "unlocked" position for the lock motor for the tailgate/trunk lid. When the motor is activated, it releases the catch in the body and the tailgate/trunk lid can be opened. The tailgate/trunk lid locks when it is closed again. When the tailgate/trunk lid is to be opened, the lock motor is powered for approximately 0.5 seconds or until the central electronic module (CEM) receives a signal from the door open sensor in the lock motor indicating that it is open. If the trunk lid/tailgate is not indicated as open during this time, a diagnostic trouble code (DTC) is stored in the central electronic module (CEM).
The tailgate/trunk lid can be opened by activating the button on the remote control even if the rest of the vehicle is locked.

Locking/opening fuel tank filler cover




The switch for unlocking the fuel tank filler cover is in the light switch module (LSM). The switch and lock motor are directly connected to the central electronic module (CEM). If the switch is affected, the central electronic module (CEM) is grounded and powers the lock motor which begins to function. The lock motor has a spring-loaded piston which returns to its original position after a fully completed cycle. This means that the lock motor only needs to operate in one direction.
If the function for automatic detection of fuel leakage is installed, there may be a delay of up to 1.5 seconds before the filler cover opens. This is so that the fuel tank has time to release the overpressure before the filler cover is opened. This function is only available in USA/CDN.

Light functions

C30/S40/V50





C70




The interior lighting is checked by the central electronic module (CEM). The interior lighting comes on when the vehicle is unlocked.
For further information about the interior lighting, see Design and Function, central electronic module (CEM).
Further light functions are included in the central locking system:
- approach lighting
- approach lights.

Local lighting
Local lighting is activated using the remote control. The following light when activated:
- interior lighting
- parking lamps
- license plate lighting
- door mirror lighting (option).
The default setting is for the lighting to be on for 30 seconds or until the key is turned in the ignition switch. This time can be adapted to the wishes of the customer.

Approach lights
There is a function for approach lights as part of the lighting system. When the engine is off, the key is removed from the ignition and the dip switch is activated, the following lights:
- low beam
- parking lamps
- fog lamps
- interior lighting.
The default setting for the lighting is 30 seconds. This time can be adapted to the wishes of the customer.

Customer settings
The duration that the local lighting and approach lights are on can be adapted to the wishes of the customer.
For information about customer adaptations, see: Diagnostic functions Diagnostic Functions

Indication of the status of the doors and hatches




There are two contact breakers in the lock units in the side doors:
- contact breaker which indicates that the door is not closed (door open sensor)
- contact breaker to indicate that the central locking motor is in the locked position.
The door open sensors are connected directly to the central electronic module (CEM) from all doors.
The contact breaker for indicating the status of the central locking motor is connected to the relevant rear control module for the rear doors (only applies to the S40/V50). The rear door control modules transmit the signal on to the relevant control module in the front doors which forward the signal to the central electronic module (CEM).
The signals are used to generate error messages and diagnostic trouble codes (DTCs) if a door is not properly closed when the vehicle is driven or if locking or unlocking of one or more doors has failed one or more times.
There is only one contact breaker in the lock unit in the tailgate/trunk lid. This indicates whether the tailgate/trunk lid is open or closed.
For the C70 there is a LED in each door to indicate when the door is locked or unlocked. The LEDs are used instead of the traditional lock buttons on top of the doors. The LEDs flash for a short time after the doors have been locked or unlocked.

Remote unlocking
The vehicle can be unlocked remotely via the Volvo On Call service. If the keys have been locked in the car or lost, the customer can call a Volvo Service Center. The position of the vehicle is determined via the global positioning system module (GPS) in the Telematics system and is transmitted to the Volvo Service Center. The customer must provide a code to the Service Center, which then transmits a signal to the vehicle. This signal activates the central locking system for a certain amount of time. When instructed, the customer must activate the switch in the tailgate/trunk lid. If this is done, the car is unlocked.
The function is market dependent.

Automatic locking when driving




Whether the automatic locking function is activated on delivery or not is market dependent. If this function is activated, the side doors lock when the speed exceeds 7 km/h (5 mph). All the doors must be closed, the engine running and the vehicle moving forward. The only exception is the tailgate/trunk lid which can be open. Information about whether the engine is running or not is transmitted by the engine control module (ECM) to the central electronic module (CEM). Indication about whether the engine is driving the car forwards is different in cars with automatic transmissions and manual transmissions. In vehicles with automatic transmissions, the position of the gear selector is received from the transmission control module (TCM). The gear selector must not be in the park (P) or neutral (N) position for automatic locking to function. In vehicles with manual transmissions, the brake control module (BCM) transmits information about vehicle speed to the central electronic module (CEM). The accelerator pedal (AP) must be partly pressed as well for automatic locking to take place.
The door can be unlocked again as normal with the central locking buttons.

Automatic re-locking after unlocking




If the car is unlocked using the remote control or key and the side doors or trunk lid/tailgate are not opened within 2 minutes, the car will be locked automatically. Whether this function is activated on delivery or not depends on the market. This function can be activated later via VIDA or the infotainment control module (ICM).

"Comfort" functions

Hint: Comfort Closing is not available in C70, only Comfort Opening.

The Comfort Closing function can be activated from the remote control. If the central electronic module (CEM) receives repeated lock signals, corresponding to a pressed lock button for approximately 2 seconds, it will lock all doors and close the windows and sunroof.
The corresponding function (Comfort Opening) is available when unlocking the vehicle. If the central electronic module (CEM) receives repeated unlock signals, corresponding to a pressed unlock button for approximately 3 seconds, it will unlock all doors as programmed into the central locking system as well as opening all windows.
This function is not available in USA/CDN.