Curiosii for ever!
: Car repair manuals for everyone.
Home
>>
Volvo
>>
2005
>>
S40 AWD L5-2.5L Turbo VIN 68 B5254T3
>>
Repair and Diagnosis
>>
Accessories and Optional Equipment
>>
Navigation System
>>
Testing and Inspection
>>
Pinout Values and Diagnostic Parameters
>>
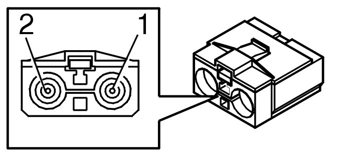
Signal Description, Traffic Message Channel Module (TMC)
Signal Description, Traffic Message Channel Module (TMC)
Signal specification
General
Note!
It is important to check ground terminals before taking readings.