Curiosii for ever!
: Car repair manuals for everyone.
Home
>>
Volvo
>>
2004
>>
V70R AWD L5-2.5L Turbo VIN 52 B5254T4
>>
Repair and Diagnosis
>>
Powertrain Management
>>
Relays and Modules - Powertrain Management
>>
Relays and Modules - Computers and Control Systems
>>
Engine Control Module
>>
Diagrams
>>
Diagram Information and Instructions
>>
Diagram Legend
>>
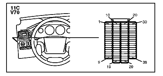
11C Fuses In Passenger Compartment Fuse Box
11C Fuses In Passenger Compartment Fuse Box
11C Fuses In Passenger Compartment Fuse Box: