Curiosii for ever!: Car repair manuals for everyone.

Pistons





Pistons










Piston running clearance (example)







Measured cylinder bore 83.015 mm
Measured piston diameter 82.995 mm
The piston running distance is 0.020 mm
The piston running clearance must be 0.010 - 0.030 mm

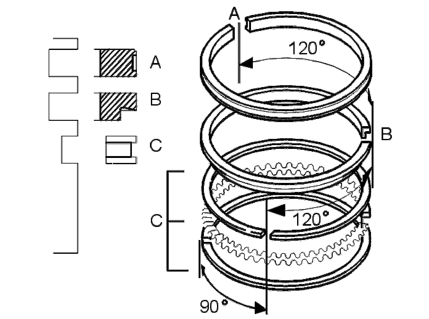
Piston rings

Axial clearance
Upper compression ring 0.030 - 0.070 mm
Lower compression ring 0.030 - 0.070 mm
Oil control ring assembly 0.038 - 0.142 mm

Compression ring dimension







Upper 1.200 -0.010/-0.030 mm
Lower 1.500 -0.010/-0.030 mm


Dimension, three piece oil ring
Spring 1.510 ± 0.020 mm
Rail 0.460 ± 0.011 mm

Piston pin

Diameter 21.000 +0/-0.004 mm
Length 57.0 +0/0.2 mm

Installing piston rings