Curiosii for ever!: Car repair manuals for everyone.

Example 1






Example 1

Socket type housings p/n 3523410-3, and equivalent pin housings

Replacement of cable terminals

Remove housing




- Pull back the rubber cover on the cables
- Remove rubber gasket (socket housings only).
- Carefully release the clips by bending them out with a small screwdriver (one clip per side).
- Depress the catch on the front of the housing and lift the housing out of the connector cover.

Open the housing




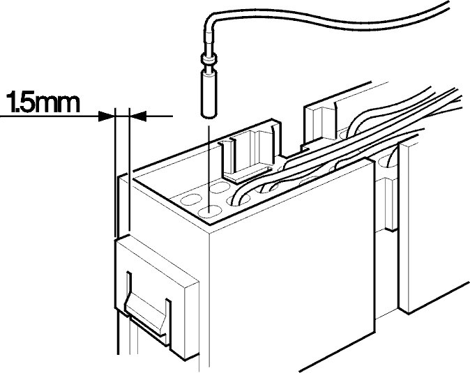
Release the housing secondary locking as shown.
- Insert a small screwdriver (approx. 3 mm blade width) as shown. Bend the secondary locking catch outward carefully and push the locking cover forwards 1.5 mm.

For a combined pin housing do the following:




- Release the pin housings from each other.
The illustration shows pin housings with the contact side up.




Open the housing section to replace terminal

Front housing section
- The front housing section opens by carefully bending the secondary locking out and sliding the locking cover forwards 1.5 mm.

Other housing sections
- The other housing sections open by pressing in the locking catch on the cable side and sliding the locking cover forwards 1.5 mm.

Extract the cable terminal




No terminal removal tool is required.
- Extract the cable terminal from rear of the by pulling on the cable.

Crimp new cable terminal




The cable terminal is 1.6 Pin/Pin socket.
- Use a strip length of 3 to 4 mm and strip the cable as described in Cutting and checking a cable Stripping the cable .
- Use crimp tool (green) p/n 981 4226 Crimping tool 981 4226 Crimping Tool and crimp the cable terminal as described in Crimping a cable terminal .

Insert new cable terminal





Note! Note! The locking cover must be in the open position protruding 1.5 mm as described in Open the housing.

- Insert the new cable terminal in the housing from the cable side in the correct cavity. A "click" can be heard when the terminal is pushed fully home.

Close the housing





Secondary locking
- Push the locking cover back to the starting position for secondary locking of the housing. A "click" indicates the lock has engaged.

Check
- Carefully pull on the cables to check the terminal is firmly attached.

Reassemble the connector




- Replace the connector cover. Check that the catches (3 catches) engage.
- Replace gasket seal (only for socket housings).
- Push on rubber seal over housing