Curiosii for ever!: Car repair manuals for everyone.

Function






Function

Controlling the climate in the passenger compartment




The way in which the climate in the passenger compartment is regulated depends on the type of climate control module (CCM) in the car.

Electronic climate control
Electronic climate control means that either manual settings or the AUTO function can be used. In the latter case the control module automatically regulates heat, air conditioning, recirculation and air distribution until the selected temperature is achieved.

Manual climate control
Manual climate control means that heat, air conditioning, recirculation and air distribution must be selected manually.

STD
STD means that heat, recirculation and air distribution must be selected manually.
The climate control module (CCM) (3/112) regulates the following:
- Activation of the air conditioning (A/C) compressor (8/3) with a request via the Controller area network (CAN) to the engine control module (ECM) (4/46)
- Controlling the damper motors. For electronic climate control (6/48), (6/95), (6/96), (6/102) and (6/103). For manual climate control; (6/48), (6/69), (6/95) and (6/96)
- Blower fan speed (6/28).
The climate control module (CCM) regulates the climate in the passenger compartment based on the following input signals:
- The passenger compartment temperature, signal from the internal passenger compartment temperature sensor
- The outside temperature, signal from the outside temperature sensor (7/11)
- The evaporator temperature, signal from the evaporator temperature sensor (7/41)
- Sun roof status. Signal from the sun roof control module (4/33) via the upper electronic module (UEM) (4/70) over the Controller area network (CAN)
- Side window status. Signals from the driver door module (DDM) (3/126) and passenger door module (PDM) (3/127) via the Controller area network (CAN)
- Door status. Signal from the central electronic module (CEM) (4/56) via the Controller area network (CAN)
- Sun intensity. Signal from the sun sensor (7/12)
- Speed. Signal from the brake control module (BCM) (4/16) (previously ABS), via the Controller area network (CAN)
- Windshield wiper status. Signal from the steering wheel module (SWM) (3/130) via the Controller area network (CAN).
The climate control module (CCM) (for electronic climate control) uses information about the status of the sun roof, side windows and doors to determine how it should compensate for changes in the passenger compartment temperature. If side windows, doors or the sun roof are opened, the climate control module (CCM) will not compensate for a change in passenger compartment temperature. Instead it maintains the same level of climate control for the compressor and blower fan as before.
The climate control module (CCM) (for electronic climate control) uses the signal from the steering wheel module (SWM) to establish whether the windshield wipers are switched on. This is to regulate the blower fan and the damper motor to remove any mist from the inside of the windshield when it rains.
The climate control module (CCM) (for electronic climate control) uses the signal from the sun sensor to compensate for high sun intensity by decreasing the temperature of ventilation air, changing air distribution and increasing the speed of the blower fan.
The climate control module (CCM) (for electronic climate control and manual climate control) uses the signal from the evaporator temperature sensor to control the activation of the air conditioning (A/C) compressor. If the signal from the evaporator temperature sensor indicates an evaporator temperature below 6 °C, the compressor cannot be activated because of the risk of freezing.
To maintain a constant flow of air in the passenger compartment the climate control module (CCM) (for electronic climate control) uses the speed signal from the brake control module (BCM) to regulate the speed of the blower fan. Generally, as the speed of the car increases the speed of the blower fan decreases.
At higher speeds the flow of air into the fresh air damper is adjusted.

Seat heaters




The seat heaters are activated by pressing the switches on the climate control module (CCM) (3/112). The climate control module (CCM) transmits information via the Controller area network (CAN) about the status selected for each seat to the central electronic module (CEM) (4/56). The central electronic module (CEM) then transmits the information to the relevant control module for seat heating (4/201, 4/202). The control modules for the seat heaters then control the current to the heater pad for the left-hand seat (9/16, 9/18) and right-hand seat (9/17, 9/19).
The central electronic module (CEM) also transmits information to the climate control module (CCM) about whether the seat heaters are activated or not. The climate control module (CCM) uses this information to light / turn off the LEDs on the buttons.

Recirculation control (electronic climate control only)




The climate control module (CCM) (3/112) controls the recirculation during the following conditions for electronic climate control:
- The recirculation switch is on (the LED lights orange)
- The system is in AUTO position and there is a large difference between the desired and current temperature
- The car is equipped with an air quality sensor, and the recirculation switch is on (the LED light green).
The air quality sensor transmits a signal to the climate control module (CCM) if it detects high concentrations of pollutants in the outside air. When this occurs the climate control module (CCM) transmits a signal to the damper motor for recirculation (6/48) to close the fresh air damper and to use recirculated air. The level of recirculation is controlled by the signal from the air quality sensor:
- signal 1 provides partial recirculation for speeds below 85 km/h, no recirculation for speeds exceeding 85 km/h
- signals 2 and 3 provide 100% recirculation.
If the high level of pollutants remains the system stays in recirculation for a certain time, maximum of 10 minutes. The time that the system is recirculating is determined by the outside temperature, if the air conditioning (A/C) is on and if the windshield wipers are activated. The system returns to fresh air for a short time before recirculation is resumed. The particle filter absorbs most of the pollutants entering the passenger compartment during this time. The maximum time prevents misting and musty air.
The air quality transmits information about the content of pollutants to the climate control module (CCM). This information is graded into four levels, and the information used for diagnosis.
Recirculation is never permitted if the defroster is selected. The climate control module (CCM) requests the compressor when the evaporator temperature exceeds 3 °C.

Heated rear windshield and door mirrors




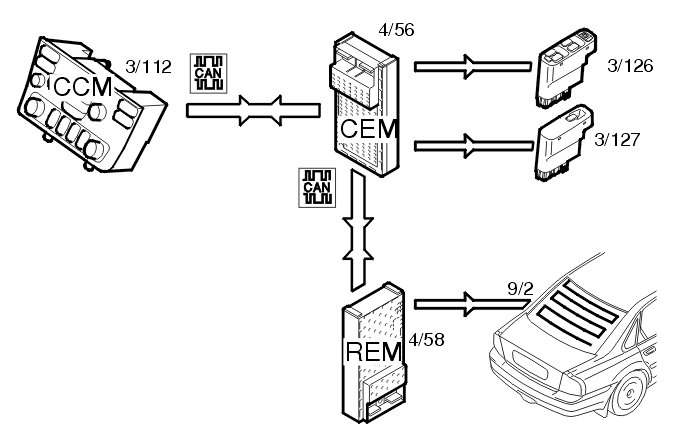
The heated rear windshield and door mirrors are activated by pressing the switch on the climate control module (CCM) (3/112). The climate control module (CCM) transmits information to the central electronic module (CEM) (4/56) about the selected heating status. The central electronic module (CEM) transmits a signal to the driver's door module (3/126) and passenger door module (PDM) (3/127) for the heated door mirrors and to the rear electronic module (REM) (4/58) for the heated rear windshield.
The central electronic module (CEM) also transmits information to the climate control module (CCM) about whether the seat heaters are activated or not. The climate control module (CCM) uses this information to light / turn off the LED on the button.

Switch functions, dashboard environment panel, (lower section)
The following functions can be activated using the switches on the dashboard environment panel:
- Folding head restraint, rear seat (S60/S80)
- Folding door mirrors (market dependent)
- Bi-fuel, on / off (market dependent)
- Valet lock, on/off
- Child lock, on / off (market dependent)
- STC, off / on (option)
- DSTC, off / on (option)
- Auxiliary lamps, off / on (option)
- Reduced alarm, on / off (option).
In order for certain functions to be activated the engine must be switched on and/or the master key must be in position II.

Folding head restraints, rear seat
When the switch for the folding head restraints is activated, information is transmitted by the climate control module (CCM) (3/112) to the rear electrical module (4/58) via the Controller area network (CAN).
For further information, see Design and Function, rear electronic module (REM).

Folding door mirrors
When the switch for the folding door mirrors is activated, information is transmitted by the climate control module (CCM) to the driver's door module (3/126) and the passenger door module (PDM) (3/127) via the Controller area network (CAN).
For further information, see Design and Function, passenger door module (PDM) / driver's door module.

Bi-fuel
When the bi-fuel switch is activated, a signal is transmitted from the climate control module (CCM) to the engine control module (ECM) (4/46) on the Controller area network (CAN) via the central electronic module (CEM). The engine control module (ECM) transmits a signal to the climate control module (CCM) about the type of fuel being used. The climate control module (CCM) uses this signal to light / turn off the LED on the switch.
For further information, see Design and Function, engine control module (ECM).

Hint: This section will first be accessible during 2003.

Valet lock / child-proof lock
When activating the valet lock switch or the child lock switch information is transmitted to the rear electronic module (REM) via the Controller area network (CAN).
For further information, see Design and Function, Central locking.

STC or DSTC
When the STC or DSTC switch is activated, a signal is transmitted from the climate control module (CCM) to the brake control module (BCM) (previously ABS) (4/16) via the Controller area network (CAN). The brake control module (BCM) transmits a signal to the climate control module (CCM) about whether the STC or DSTC functions are operating. The climate control module (CCM) uses this signal to light / turn off the LED on the switch.
For further information, see Design and Function, Brake system.

Auxiliary lamps
When the auxiliary lamps switch is activated, information is transmitted from the climate control module (CCM) to the central electronic module (CEM). The central electronic module (CEM) transmits a signal to the climate control module (CCM) about whether the auxiliary lamps are on or not. The climate control module (CCM) uses this information to light / turn off the LED on the switch
For further information, see Design and Function, central electronic module (CEM).

Reduced alarm
When activating the reduced alarm switch information is transmitted via the Controller area network (CAN) to the upper electronic module (UEM) and rear electronic module (REM).
For further information, see Design and Function, Alarm.

Rear A/C
When activating the switch for rear A/C information is transmitted via the Controller area network (CAN) to the rear electronic module (REM). From this signal and the signal from the engine control module (ECM) indicating whether the engine is running or not, the rear electronic module (REM) will activate/deactivate the relay supply to the rear A/C system. The rear electronic module (REM) transmits a signal indicating whether the rear A/C is on or not to the climate control module (CCM) via the control area network (CAN). The climate control module (CCM) uses this information to light / turn off the LED in the switch.