Curiosii for ever!: Car repair manuals for everyone.

Communications Control Module: Service and Repair






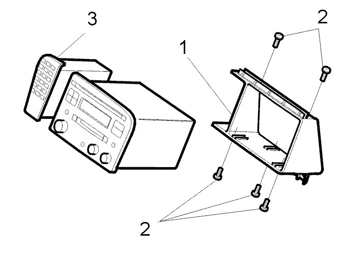
Telephone module/-control module (PHM), changing

Removing the car phone unit/phone module (PHM)





Action before removing phone module (PHM):

Note! If possible, always read off the telephone number for the customer's private subscription before removing the phone module (PHM).

Read out the customer's phone number in the following way:
1. Key position 1.
2. Press the ON button if the telephone is off (green light-emitting diode shall be lit on the Phone module (PHM)).
3. Press the YES button to activate the car phone menu selection.
4. Press in (9, 8, 7) on the keypad.
5. Press the right arrow button twice. (»). The "Phone ESN" menu option now appears in the display in the driver information module (DIM).
6. Press the right arrow button once. (»). The "KRC" menu option will appear in the display.
7. Press once on right arrow key (»). Menu selection "Phone MIN" is now shown in the display.
8. Press on YES button.
9. The telephone number for the customer's private subscription is now shown in the display. Note this phone number.
10. Press twice on the NO button to return to the phone's start position.
To avoid incorrect dialling to Volvo On Call Plus, Customer Service Center, always make suer that Volvo On Call Plus is made powerless on the Phone module (PHM) that is to be replaced. This is done by removing the spare battery for the Phone module (PHM) according to Reserve battery Volvo On Call, replacing Service and Repair.

Removing:
Ignition off
Remove the radio/telephone according to Radio cassette player, replacing Radio Cassette Player, Replacing.
Press in the catches at the top and bottom edges of the phone module (PHM).
Loosen the connectors and remove the Phone module (PHM) (3).

Installing the car phone unit/phone module (PHM)





Install:
- the connectors and the phone module (PHM) (3)
- the radio/telephone. See Radio cassette player, replacing Radio Cassette Player, Replacing.

Note! Ensure that the keypad engages in the radio and frame.

Order the software. Software Downloading.

Activating private phone subscription
When changing Phone module (PHM), the customer's phone number must be programmed manually in the new phone module.
The telephone company carrying the subscription must also get information about the phone module's ESN (Electrical Serial Number) to enable connection of the subscription to the new phone module.
For programming of phone number and reading out ESN, see Private telephone subscription, activation Procedures.

Activating Volvo On Call Plus
1. Go to the desktop on the computer. Click the icon for "Volvo On Call Plus".
2. Find the right car using the car's VIN-number or the customer's name.
3. Select Repair Verification, ECU replaced in the menu.
4. Activate the system according to Activation procedure for Volvo On Call Plus Activation Procedure for Volvo On Call Plus.