Curiosii for ever!
: Car repair manuals for everyone.
Home
>>
Volvo
>>
2004
>>
S80 L5-2.5L Turbo VIN 59 B5254T2
>>
Repair and Diagnosis
>>
Powertrain Management
>>
Computers and Control Systems
>>
Relays and Modules - Computers and Control Systems
>>
Engine Control Module
>>
Diagrams
>>
Diagram Information and Instructions
>>
Diagram Legend
>>
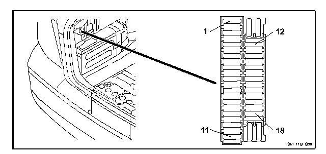
11D/x Fuses In Cargo Compartment Fuse Box
11D/x Fuses In Cargo Compartment Fuse Box
11 D/no. Fuses in cargo compartment fuse box, S80: