Curiosii for ever!: Car repair manuals for everyone.

Air Conditioning






Air conditioning

General




There are five main components in the climate control system:
- evaporator
- receiver drier
- compressor
- condenser
- expansion valve.
The system is filled with a suitable quantity of refrigerant and oil. The role of the oil is to lubricate and seal the compressor (piston and cylinder).
A fluorescent leak-tracing agent is added to the refrigerant. The leak-tracing agent makes it possible to trace leaks using UV light.

Principle sketch of the climate control system




Included in the climate control system:
1. Compressor
2. Condenser
3. Engine cooling fan ( the same cooling fan used by the engine cooling system)
4. Receiver drier
5. Expansion valve
6. Evaporator
7. Blower fan.
Explanation:
A - High pressure, warm fluid
B - Low pressure, cold fluid
C - Low pressure, cold gas
D - High pressure, warm gas
Dark arrow - Warm air
Light arrow - Cold air
The system is divided into:
- a low pressure side (B, C)
- a high pressure side (A, D).
The two sides are separated by the compressor (1) and the expansion valve (5). The evaporator (6) is located on the low pressure side and the condenser (2) is on the high pressure side.
The design of the climate control system in a vehicle is based on the laws of nature, which mean that liquids evaporate when they are subjected to a temperature increase or a reduction in pressure and that heat is absorbed during this process.
If the hot vapor is then cooled again, the heat that has been absorbed is released and the gas reverts to liquid form. This process is repeated as many times as necessary, so that "cooling is produced" continually. This is the same type of process as used in refrigerators, for example.

Refrigerant
In order to remove heat from the passenger compartment a medium that has a lower evaporating temperature than air is used, because heat will always move from a hotter body to a cooler body. The medium that is used is refrigerant R134a.
R134a is a gaseous fluorocarbon. It is chlorine free and does not damage the ozone layer. However, R134a is still environmentally hazardous as it contributes to the greenhouse effect. It is therefore important that all service work is performed by trained personnel.
R134a retains its gaseous form at normal atmospheric pressure, and only condenses if it is cooled down to below -26 °C.
R134a has the following properties:
- can only be mixed with synthetic PAG oils (polyalkyline glycol) and not with mineral oils
- does not affect metals
- affects some types of plastic, so only special seals (O rings) that are intended for R134a should be used
- is not explosive
- is odorless
- is not toxic in low doses
- effectively absorbs moisture
- is not flammable
- is heavier than air in gaseous form.

Compressor (not B8444S)




The compressor is located at the front of the engine. The air conditioning compressor is installed on the auxiliaries bracket which is in turn installed on the cylinder block. There are no bushings between the air conditioning compressor, the auxiliaries bracket and the cylinder block. Direct mounting gives increased rigidity to the mounting. It minimizes the risk of noise.
The compressor is in the refrigerant circuit, located between the evaporator and the condenser.
The compressor has a fixed cylinder displacement.
Compressors with fixed displacement have two limits:
- off
- on.
The air conditioning (A/C) compressor is controlled by an air conditioning (A/C) pressure sensor. The air conditioning (A/C) pressure sensor is positioned on the receiver drier. In vehicles with electronic climate control (ECC), the compressor is also controlled by the temperature after the evaporator.
The compressor is lubricated with specially developed refrigerant oil. This oil (synthetic PAG oil) is mixed with the refrigerant when the air conditioning system is in operation.
The compressor also has a relief valve, located on the rear section of the compressor. The relief valve functions as an additional safety device. The valve opens and releases refrigerant when the pressure in the system is too high (at approx. 3.5 MPa (35 bar)). The valve then shuts again when the pressure has returned to normal.
The compressor is mechanical and is driven by the vehicle engine. When the compressor is operating it "steals" 0.5-8 kW (0.7-11 bhp) from the engine. This may be noticed as slight jerks when driving as the compressor is engaged / disengaged.
The compressor is disengaged for 10 - 20 seconds under full acceleration.
The compressor is the component in the climate control system with the greatest mass. This means that the compressor takes the longest time to warm up. In climates with large differences in day and night temperatures this means that the compressor is often the coldest part of the system. All the refrigerant in the system therefore gathers in the compressor. The compressor cannot compress liquid which means that the pressure becomes very high and there is a risk that the safety valve will be activated when the system is switched on. The safety valve closes when the pressure falls but there is a slight release of refrigerant each time. When the liquid release occurs it also causes a loud noise and shaking.
To minimize the risk of liquid compression the compressor is engaged at the same time as the starter motor is operating. The starter motor has a lower engine speed (RPM) than the vehicle drive motor and the pressure build up in the compressor is not as high. The risk of the safety valve being deployed is minimized and any liquid refrigerant is driven from the compressor.

Compressor (B8444S only)




The compressor is mounted directly on the engine block and is driven by the engine crankshaft via the auxiliaries belt.
In the refrigerant circuit, the compressor is located between the evaporator and the condenser.
The compressor has variable displacement that is regulated by a replaceable solenoid, which is located on the underside of the compressor. The temperature sensor situated after the evaporator sends a signal to the Climate Control Module (CCM), which uses the signal to control the solenoid. For more information on control, see Design and Function, Climate Control Module (CCM).
Compressors with variable displacement usually do not switch off during normal operation. The flow of refrigerant is continually adapted based on need. The compressor works between min. and max. displacement due to the following:
- the pistons are driven by a cam disc with a variable angle
- the angle is determined by springs if the compressor is disengaged
- if the compressor is engaged, the angle is determined by the pressure exerted on the top of the pistons (= intake pressure) and the bottom of the pistons (= pressure in the crankcase) during the intake phase
- the pressure on the bottom of the pistons (= in the crankcase) is regulated by a solenoid that is controlled by the Climate Control Module (CCM).
If intake pressure is high, the compressor works to increase displacement.
- The solenoid opens and lowers the pressure in the crankcase. The counterpressure on the back of the pistons then reduces and the cam disc angle increases.
- The increased angle generates increased stroke, which causes a greater amount of refrigerant to be "sucked in" and a drop in intake pressure.
When intake pressure is low, the compressor works to reduce displacement.
- The valve closes and pressure in the crankcase increases. The pressure is built up by refrigerant that is led from the outlet side to the crankcase via a calibrated duct. The counterpressure on the back of the pistons then increases and the cam disc angle decreases.
- The decreased angle generated reduced stroke, which causes a smaller amount of refrigerant to be "sucked in" and an increase in intake pressure.
The compressor is also regulated by the A/C pressure sensor, which deactivates the system if pressure becomes too high.
The compressor is lubricated with specially developed refrigerant oil. This oil (synthetic PAG oil) is mixed with the refrigerant when the air conditioning system is in operation.
The compressor is the component of the climate control system with the largest mass. Thus, it takes the longest to warm up. In climates where the temperature varies greatly from night to day, it is often the compressor that is the system's coldest point each morning. Thus, all the refrigerant in the system makes its way to the compressor crankcase. Upon start, it takes 1-2 minutes for the refrigerant to evaporate. During this period, it may seem like the climate control system is not working.

Magnetic clutch assembly




1. Carrier disc
2. Shim discs
3. Spring ring
4. Pulley
5. Magnet coil.
The compressor is driven by the engine camshaft via the drive belt. As soon as the engine has started, the pulley (4) on the compressor drive shaft operates without hindrance.
Then the climate control system is switched on, the current passes through the magnetic coil (5), which is magnetized. This causes the carrier (1) on the compressor drive shaft to be pressed forward towards the pulley (4). The coupling is closed and the compressor rotates at the engine speed.
When the current to the magnetic coil is interrupted, the carrier disc (1) is released from the pulley (4) with the aid of return springs.
In order for the magnetic clutch to function correctly, the distance between the carrier disc (1) and the pulley (4) must be exactly correct. Shim discs (2) are therefore placed between them.

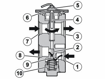
Expansion valve




1. Diaphragm
2. Valve housing
3. Refrigerant in liquid form from the receiver drier
4. Refrigerant in liquid form to the evaporator
5. Refrigerant in gas form from the evaporator to the compressor.
The expansion valve is mounted on the intake and outlet pipes of the evaporator. In the refrigerant circuit, it is located on the high pressure side between the receiver drier and the evaporator.
The expansion valve is a pressure and temperature dependent flow regulator of the constriction type. At low cooling demand the amount of refrigerant is reduced by the valve closing. If the cooling demand increases the valve opens slightly to allow more refrigerant to the evaporator.
Systems with an expansion valve have a greater register than systems with a fixed choke because the amount of refrigerant can be better regulated to the cooling demand.
The expansion valve consists of a diaphragm (1) and a valve housing (2).

Cross section of the expansion valve




1. Valve inlet from receiver drier
2. Valve slide
3. Valve outlet to compressor
4. Temperature sensor
5. Diaphragm (filled with refrigerant)
6. Diaphragm
7. Valve inlet from evaporator
8. Valve outlet to evaporator
9. Ball valve
10. Spring.
Liquid refrigerant comes from the receiver drier and flows through the valve inlet (1). The ball valve (9) mists the refrigerant before the refrigerant flows on through the valve outlet (8) and into the evaporator.
The ball valve opening is controlled by the temperature and pressure in the refrigerant gas coming out of the evaporator.
If for example the temperature of the refrigerant gas, coming from the evaporator in the expansion valve intake (7), increases the temperature sensor (4) and increases the temperature of the refrigerant in the diaphragm head.
The refrigerant in the diaphragm head expands and compresses the ball valve in the valve seat downwards using the diaphragm (6) and a valve slide (2) so that the valve seat opens. The flow of the refrigerant to the evaporator increases. The evaporator is cooled and the temperature of the refrigerant gas is reduced.
The ball valve closes as soon as the temperature in the evaporator falls and therefore the temperature of the refrigerant in the diaphragm head also falls.

Evaporator




The evaporator is an air heated heat exchanger located in the distribution housing for the climate control system.
The surface of the evaporator is polyurethane coated to reduce bad odors. The polyurethane coating reduces the surface tension of the water and makes it easier for the water to run off.
The evaporator consists of pipe loops in which the refrigerant flows. The loops have flanges to increase the heat absorbing surface. The evaporator is inclined to make it easier for the condensation to run off. 10 - 11 liters of condensation are formed per hour. The condensation is led via a drainage house out of the distribution housing and down under the vehicle.
If one experiences bad odors when the vehicle is started, a workshop can activate a function which starts the blower fan a moment after the ignition key is moved to the 0 position. The fan blows the evaporator dry for a few minutes to prevent condensation and bad odors the next time the vehicle is used.
In the refrigerant circuit, the evaporator is located on the low pressure side between the expansion valve and the compressor.
In the evaporator there is a low pressure due to the expansion valve choke and the suction effect of the compressor. When the refrigerant enters the evaporator via the expansion valve, it expands and both its pressure and temperature lower.
When the warm air encounters the cold evaporator, the humidity condenses on the evaporator. The heat (energy) that is released during condensation is transferred to the refrigerant which evaporates. The temperature difference between the air and the refrigerant reduces. High humidity results in an increased need for cooling.
To obtain sufficient cooling capacity, the refrigerant's evaporation temperature must be considerably lower than the temperature desired in the passenger compartment. But to prevent the moisture that has condensed on the evaporator from freezing to ice, the air is not cooled below approximately +3 °C (at which stage the temperature of the refrigerant in the evaporator is approximately -3 °C).
There is a temperature sensor after the evaporator. The temperature sensor detects the temperature of the air that has passed through the evaporator. When the temperature is too low, the compressor is switched off. This is to prevent ice forming on the evaporator.
It is important that there is the correct amount of refrigerant in the climate control system.
- Too much refrigerant in the evaporator causes the refrigerant to heat up, but it only evaporates partially. This means that a smaller amount of heat is absorbed from the air, which results in reduced cooling capacity
- Too little refrigerant in the evaporator causes the refrigerant to evaporate and the vapor to overheat. This means that a smaller amount of heat is absorbed from the air, which results in reduced cooling capacity.

Receiver drier




1. Intake line from the condenser
2. Outlet line to expansion valve
3. Drying element
4. Liquid refrigerant
5. Riser.
The receiver drier is located to the right of the condenser in the engine compartment. In the refrigerant circuit, it is located on the high pressure side between the condenser and the expansion valve.
Liquid refrigerant passes at high pressure from the condenser through the intake pipe (1) and into the receiver drier. A drier element (3) separates any moisture from the refrigerant and filters any contaminants.
The refrigerant passes onwards through the riser (5) to the outlet line (2) and on to the expansion valve.
If the cooling system has been open (unplugged) for 10 minutes, or has leaked for some time, so that moisture may have entered the system the receiver drier must be replaced.
The receiver drier can only absorb a limited amount of moisture. If the system contains more moisture than the receiver drier can handle it may lead to icing which blocks the expansion valve.

A/C pressure sensor




A linear pressure sensor is mounted directly on the receiver drier. The pressure sensor has an integrated measurement amplifier that generates an output voltage that is linear to the pressure.
The pressure sensor signal is used to control the following functions:
- the engine cooling fan (FC)
- deactivation of the compressor when pressure is too high
- deactivation of the compressor if the system has run dry of refrigerant.

Condenser (air cooled heat exchanger)




The condenser is located in front of the engine radiator. The airflow and engine cooling fan (FC) blow air through the condenser. In the cooling system, the condenser is located on the high pressure side opposite the compressor and the receiver drier.
The condenser consists of pipe loops in which the refrigerant flows. The loops have flanges to increase the heat radiating surface.
When the refrigerant enters the condenser it is in gas form and has both high pressure and high temperature. In the condenser the hot refrigerant loses some of its heat to the surrounding cooler air. The refrigerant then condenses and changes into liquid form. The amount of heat given off = the amount of heat taken up in the evaporator + the amount of heat supplied by the compressor. In order to supply sufficient cooling capacity, the condensation temperature of the refrigerant must be greater than the temperature of the outside air.

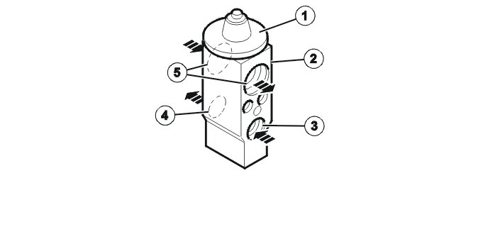
Service valves




1. The service valve for draining, vacuum pumping and filling with refrigerant
2. Service valve for draining and vacuum pumping.
One service valve is located on the low pressure side and one service valve is located on the high pressure side. The valves are different sizes. This is to avoid incorrect connection.

Caution! Filling with refrigerant must only be carried out on the high-pressure side to prevent the risk of liquid refrigerant in the compressor.

Hoses, pipes
All connections, apart from those for the expansion valve and condenser, have double O-rings as a seal. The connections for the expansion valve and condenser have single O-rings.
The O-rings are manufactured in a specially developed material (HNBR = hydrated nitrile rubber).