Curiosii for ever!: Car repair manuals for everyone.

Modifications To Stub Axles






Modifications to stub axles, from model year 1994





Modifications to the stub axles affect the camber angle adjustment on model year 1994-
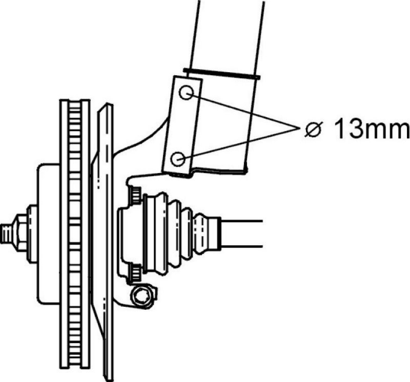
From 1994- model year onwards the holes in the stub axles for the shock absorber legs have increased from ø 12.5 mm to ø 13 mm . The increase in the size of the hole has been made in order to obtain greater precision in the camber angle when the fixtures are installed at the factory.

Note! Stub axles with ø 13 mounting holes are also introduced as replacement part and replace the earlier version.




When replacing shock absorbers on cars with the new stub axles 2 sleeves, P/N 9153007-1, should be installed. The sleeves should be installed in the stub axle screw holes, see illustration. In this way the play between the screw and the hole disappears and the correct camber angle is retained.

Note! The screws can be a little stiff in the holes.