Curiosii for ever!: Car repair manuals for everyone.

System Specifications






Electrical / electronic system specifications

Note! The values given below are measured between the terminals listed for the component unless otherwise stated. The values are approximate and must be used as guidelines. Component wear and aging may affect the values

Air conditioning (A/C) system relay








The system relay for air conditioning (A/C) position 2 must activate when the ignition is switched on. Relay coil resistance terminals #1 and #2: 78ohms.

Blower fan relay (maximum relay)




If the ignition is on, the blower fan relay must activate when the maximum fan speed is selected.
Relay coil resistance terminals #1 and #3: 128ohms.






Power unit




Climate control module terminal #A26 controls the speed of the blower fan via power unit terminal #3 using a pulse width modulation (PWM) signal which changes according to the setting for the fan selector.
Power unit terminals #4 and #2 then control the negative side of the blower fan motor depending on the pulsed signal from the climate control module.






Blower fan motor








See the power unit for information about controlling the blower fan.

Note! The blower fan should be test run to determine its condition. Listen for abnormal noise. Also check that the bearing and rotor blade in the fan are OK.

Heated rear windshield and door mirror relay (defroster relay)








If the ignition is on, the relay for the heated rear windshield and door mirror relay position 1 must activate when the relay for the heated rear windshield and door mirrors is activated.
Relay coil resistance terminals #1 and #2: 78ohms.

Seat heater module




The seat heater module and climate control module communicate via communication line terminal #A9 in the climate control module and terminal #A2 in the seat heater module (left-hand side) and terminal #A10 in the climate control module and terminal #A2 in the seat heater module (right-hand side).
This communication allows faults detected in the seat heater to be diagnosed and the selected heat level (high or low) to be controlled with different pulse trains from the climate control module.
Power supply, seat heater module terminal #A4: +Ubat (measured from power ground).
Ground terminal, seat heater module terminal #A1: 0V (measured from power ground).






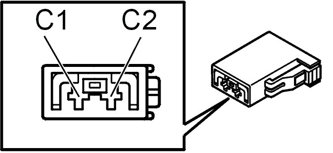
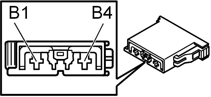
Seat heater pad




Seat heater pad (backrest) terminals #C1 and #C2: 1.4ohms- 2.0ohms.
Seat heater pad (seat) terminals #B1 and #B4: 1.7ohms- 2.3ohms.
Thermistor at approximately 21°C terminals #B2 and #B3: 5.5 kohms.

Note! The above values apply to both the left and right seats.





Damper motors: air distribution, temperature and recirculation




Motor winding terminals #2 and #6: 115ohms.
Position sensor terminals #4 and #1 or #3: The resistance varies depending on the position of the damper motor.
Position sensor terminals #3 and #1: 4.8 kohms.

Note! The recirculation damper motor does not have a position sensor.





Sun sensor (ECC)




The sun sensor provides the climate control module with information about the current sun intensity.
Sun sensor, signal: #5.
Sun sensor, signal ground: #1.

Sensor characteristics

Outside temperature sensor (ECC)




The outside temperature sensor provides the climate control module with data about the present outside temperature.
Outside temperature sensor, signal: #2.
Outside temperature sensor, signal ground: #1.

Note! See the table below for more information.










Engine coolant temperature (ECC)




The engine coolant temperature (ECT) sensor provides the climate control module with information about the present engine coolant temperature (ECT).
Engine coolant temperature sensor (ECT), signal: #2.
Engine coolant temperature sensor, signal ground: #1.

Note! See the table below for more information.










Evaporator temperature sensor (ECC/MCC)




The evaporator provides the climate control module with data about the present evaporator temperature.
Evaporator temperature sensor, signal terminal #4.
Evaporator temperature sensor, signal ground terminal #3.

Note! See the table below for more information