Curiosii for ever!
: Car repair manuals for everyone.
Home
>>
Volvo
>>
2002
>>
V70 2.4 L5-2.4L VIN 61 B5244S
>>
Repair and Diagnosis
>>
Body and Frame
>>
Relays and Modules - Body and Frame
>>
Power Door Lock Control Module
>>
Locations
>>
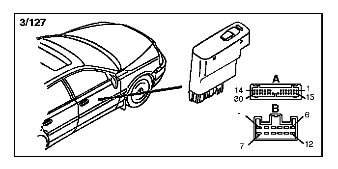
Control Module FR Door PDM/DDM
Control Module FR Door PDM/DDM
3/127 Control Module FR Door PDM/DDM: