Curiosii for ever!: Car repair manuals for everyone.

Function






Function

Fuel level (Gasoline/Diesel)







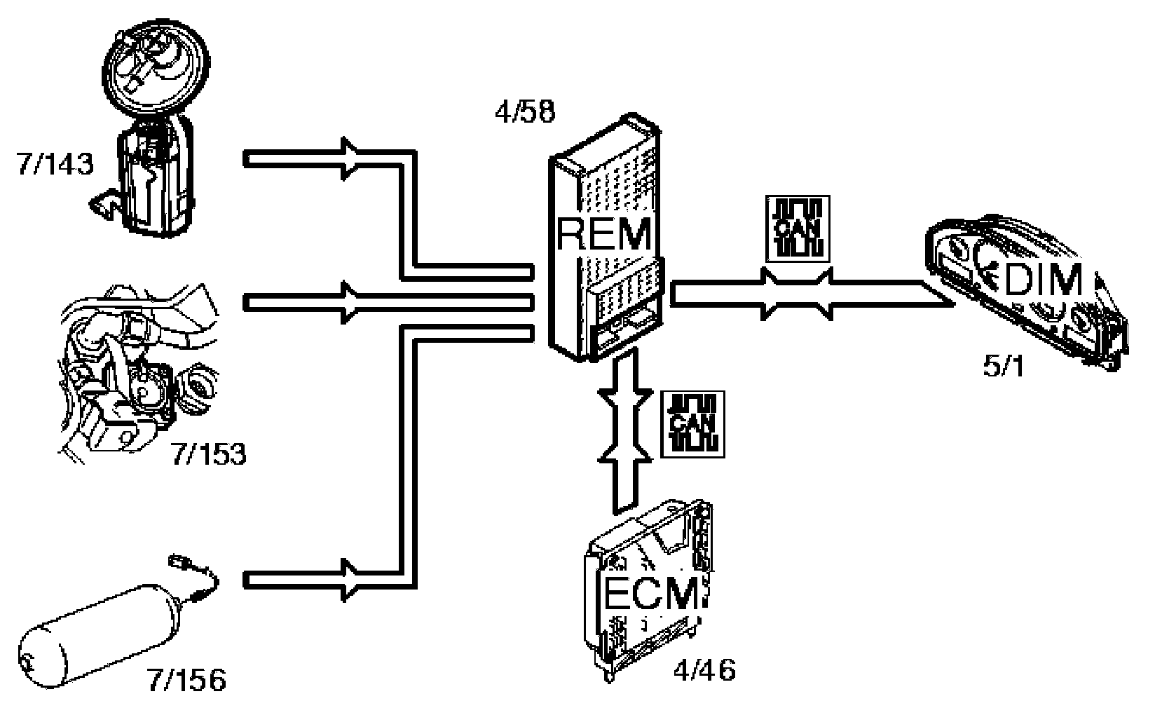
The fuel level is gauged by the fuel level sensors (7/130, 7/143). The signals from the sensors are transmitted to the rear electronic module (REM) (4/58). The rear electronic module (REM) calculates the quantity of fuel remaining by comparing the signals with a tank table stored in the rear electronic module (REM). Information about the quantity of fuel is transmitted via the Control area network (CAN) to the driver information module (DIM) (5/1) where the fuel level is displayed on the fuel gauge.

Fuel level (Bi-fuel)







The fuel level in the gasoline tank is measured by the fuel level sensor (7/143). The level in the gas tank is measured by the fuel level sensor (7/156) (CNG) or (7/153) (LPG). The signals from the sensors are transmitted to the rear electronic module (REM) (4/58).

The rear electronic module (REM) calculates the quantity of fuel remaining in each tank and transmits this information via the Control area network (CAN) to the driver information module (5/1). The driver information module (DIM) also receives data via the Control area network (CAN) from the engine control module (ECM) (4/46) indicating which type of fuel the car is running on. The gas level in the tank is displayed via the fuel gauge. The gasoline fuel level is displayed in the text window in the driver information module (DIM).

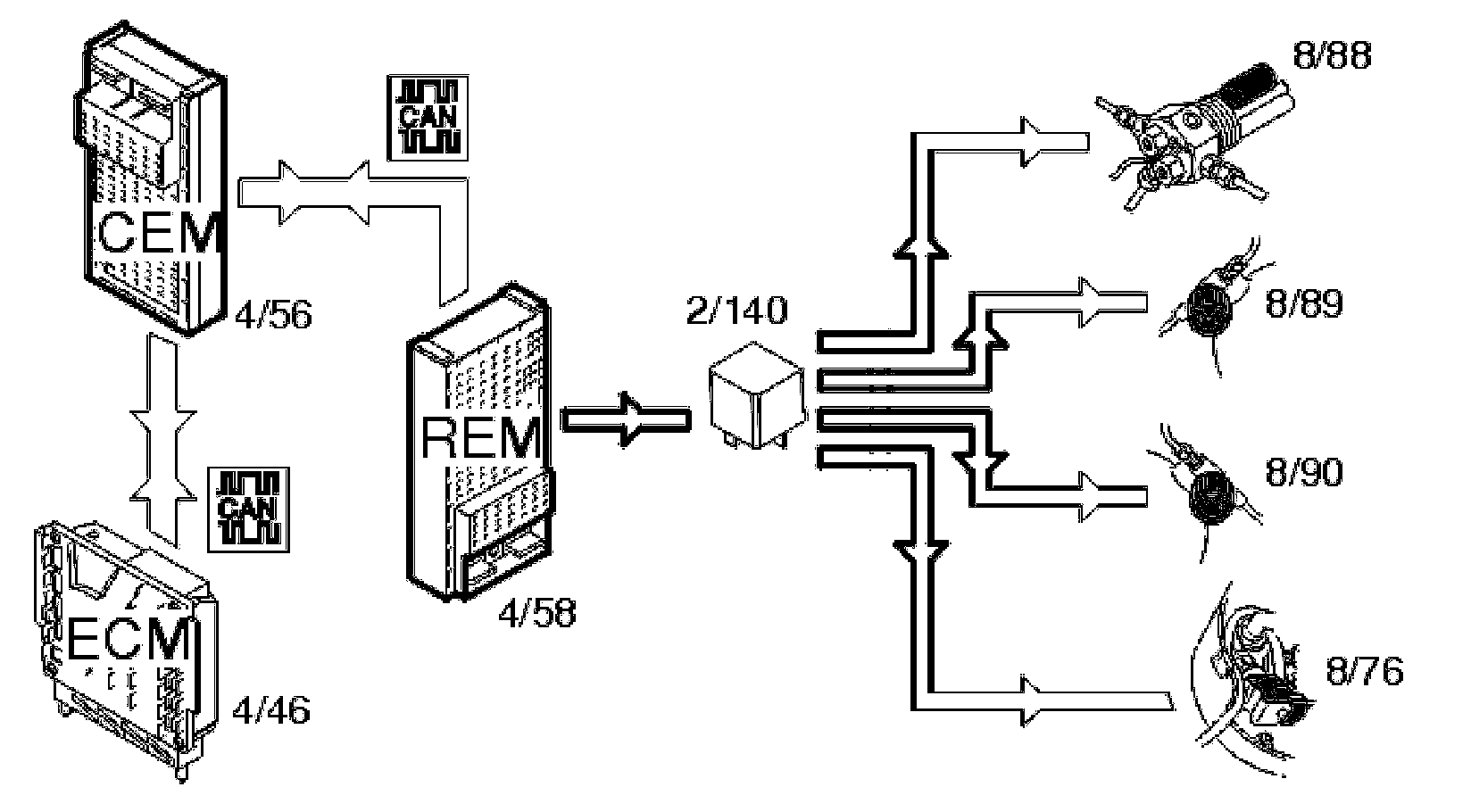
Shut-off valve (Bi-fuel)







The rear electronic module (REM) (4/58) controls the shut-off valves, (8/88-90) (CNG) and (8/76) (LPG), via a directly connected relay (2/140) which supplies the valves with power when they should be open.

The rear electronic module (REM) receives information via the control area network (CAN) from the engine control module (ECM) (4/46) indicating that the car should run on gas/LPG. The rear electronic module (REM) also receives information via the control area network (CAN) from the central electronic module (CEM) (4/56) indicating the position of the ignition and data about collision status. When the ignition is on and no collision has been registered, the rear electronic module (REM) activates the relay, which supplies the valves with power.

The rear electronic module (REM) deactivates the relay in the following cases:
- there is a signal from the engine control module (ECM) indicating that gasoline operation has been selected
- ignition off
- the collision status changes
- there is a fault in the communication on the controller area network (CAN).

The relay can be activated via a diagnostic command to, for example, allow the tank to be drained. Activation is carried out in VADIS/VIDA via the vehicle communication socket.

Rear fog lamp







The rear fog lamps (10/46, 10/53) are activated by pressing the button for the rear fog lamps in the lamp switch module (3/111). The light switch module (LSM) transmits a request to light the lamps to the central electronic module (CEM) (4/56) using serial communication. The central electronic module (CEM) transmits the request to the rear electronic module (REM) (4/58) via the Controller area network (CAN). The rear electronic module (REM) activates the relay (2/49) and the lamps are supplied with power via the relay.

Central Electronic Module (CEM) transmits information:
- back to the light switch module (LSM) to light the LED in the button
- via the Controller area network (CAN) to the driver information module (DIM) (5/1) to light the indicator lamp for the rear fog lamps.

Information about the lamp circuit is obtained by the rear electronic module (REM) via a shunt (20/29). The rear electronic module (REM) sends the status of the lamp fault via the Control area network (CAN) to the central electronic module (CEM). In the event of a fault, the central electronic module (CEM) transmits data via the Control area network (CAN) to the driver information module (DIM) which displays a text message.

Back-up (reversing) lamp







Manual transmissions
The back-up (reversing) lamps (10/48, 10/55) are activated when back-up (reverse) gear is selected. The switch (3/10) on the transmission is then closed. A directly connected signal is transmitted to the central electronic module (CEM) (4/56) indicating that back-up (reverse) gear is selected. The central electronic module (CEM) transmits the information via the Controller area network (CAN) to the rear electronic module (REM) (4/58) to activate the back-up (reversing) lamps. The rear electronic module (REM) activates the relay (2/80) and the lamps are supplied with power via the relay.

Automatic transmission
The back-up (reversing) lamps (10/48, 10/55) are activated when back-up (reverse) gear is selected. The transmission control module (TCM) (4/28) transmits information via the Control area network (CAN) to the central electronic module (CEM) (4/56) indicating that back-up (reverse) gear is selected. The central electronic module (CEM) transmits the information via the Controller area network (CAN) to the rear electronic module (REM) (4/58) to activate the back-up (reversing) lamps. The rear electronic module (REM) activates the relay (2/80) and the lamps are supplied with power via the relay.

Stop lamps







The stop lamps (10/43, 10/50) are activated when the brake switch is (3/9) closed. A directly connected signal is transmitted via the central electronic module (CEM) (4/56) to the rear electronic module (REM) (4/58) and activates the relay (2/79). The lamps are powered via the relay. The central electronic module (CEM) transmits the data via the Controller area network (CAN) to the rear electronic module (REM) indicating that the stop lamp switch is activated. Information about the lamp circuit is obtained by the rear electronic module (REM) via a shunt (20/31). The rear electronic module (REM) sends status information for the lamp fault via the Control area network (CAN) to the central electronic module (CEM). In the event of a fault, the central electronic module (CEM) transmits data via the Control area network (CAN) to the driver information module (DIM) (5/1) which displays a text message.

High level stop lamp







When the stop lamp switch (3/9) is closed, a signal is transmitted to the central electronic module (CEM) (4/56). The signal is transmitted from the central electronic module (CEM) to the rear electronic module (REM) (4/58) via a directly connected cable. The high mounted stop lamp is supplied with power directly from the rear electronic module (REM). The stop lamp is supplied with power for as long as the stop lamp switch is closed.

Rear Demist







Rear demist (9/2) is activated by pressing the switch on the climate control module (CCM) (3/112). The climate control module (CCM) transmits the data via the Control area network (CAN) to the central electronic module (CEM) (4/56). The central electronic module (CEM) checks that the conditions to start the demist have been met. If the conditions are met, a request is sent via the Control area network (CAN) to the rear electronic module (REM) (4/58) to activate the relay (2/82). The rear electronic module (REM) powers the relay and the demister is powered.

The central electronic module (CEM) also transmits a request via the Control area network (CAN) back to the climate control module (CCM) to light the LED in the switch.

Rear 12 V Socket







When a power consuming component is connected to the rear 12V socket (17/19), the power consumption is measured via a directly connected shunt (20/39) on the rear electronic module (REM) (4/58). The rear electronic module (REM) transmits status data via the control area network (CAN) to the driver information module (DIM) (5/1) which displays a text message (applies only to factory mounted 12V sockets).

The text message is also displayed if a power consuming component is connected when changing from
ignition position:
- II to I
- I to 0 and
- 0 to the key is removed.
There is also an audible warning note when the key is removed.