Curiosii for ever!: Car repair manuals for everyone.

Control Module, Electronic Accessories



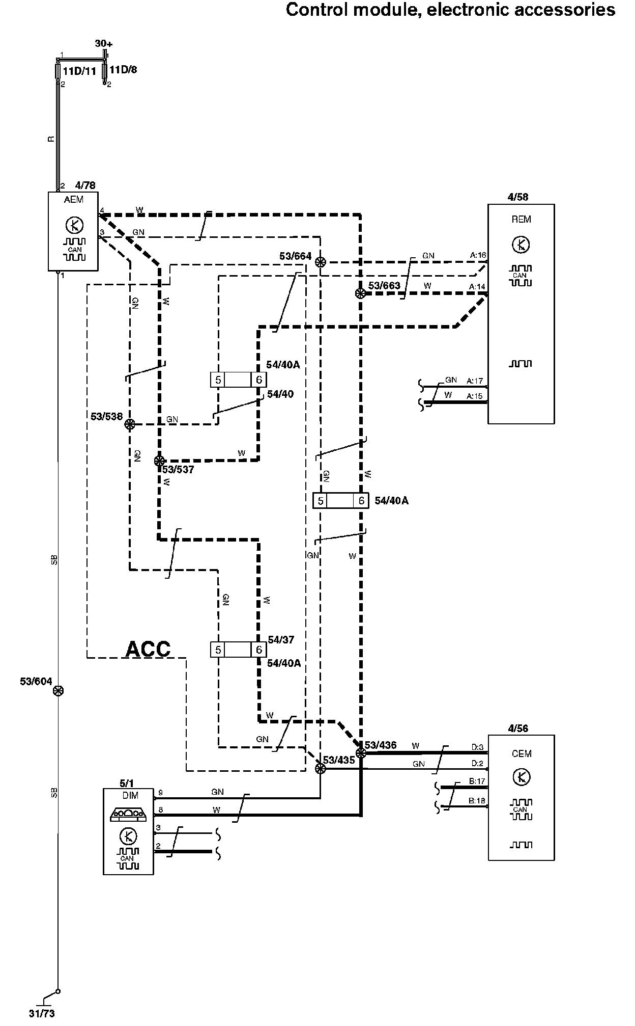
Control Module, Electronic Accessories

Control Module, Electronic Accessories:





Diagram Legend: Diagram Legend

Wire Color Code Identification and Other Abbreviations: Wire Color Code Identification and Other Abbreviations