Curiosii for ever!: Car repair manuals for everyone.

Central Electronic Module (CEM), Replacing




Exposing And Removing The Relay Box In The Passenger Compartment

CAUTION: The customer-programmed data must be read off before the control module is replaced. The information must then be entered into the new control module after it has been installed. This is carried out via VADIS/VIDA vehicle communication.

NOTE:
- For cars with Volvo On Call (see the carphone keypad), the battery negative lead must be disconnected first. Otherwise an automatic alarm call may be made to the emergency services.
- The driver information module (DIM) must not be replaced at the same time. This would erase the mileage.

CAUTION: New software can only be ordered after the control module has been installed in the car. VADIS/VIDA reads off the new control module identity which is required to order the correct software

- Key codes must be programmed before the central electronic module (CEM) will accept the keys that belong to the car. This is carried out in "Add/Remove keys" via VADIS/VIDA vehicle communication.

Removing the soundproofing panel on the driver's side
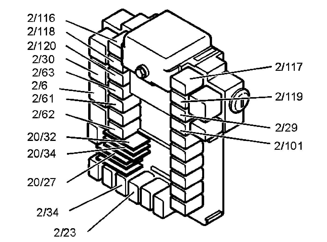
The central electronic module (CEM) is a separate unit in the relay box.







- Remove the 2 screws.

HINT: The soundproofing panel sits in grooves at the pedal box.

- Pull the soundproofing panel straight down at the dashboard
- Pull the soundproofing panel backward
- Lift out the soundproofing panel
- Remove the side panel covering the fuses on the left-hand side of the dashboard (part of the bracket is visible).

Removing the relay box







- Insert a screwdriver between the bracket and the relay box. Turn the screwdriver so that the bracket opens out. At the same time, pull the relay box out of the bracket towards the underside of the dashboard
- Lift the relay box off the bracket. Pull the relay box downward under the dashboard.

Replacing the relay and/or shunt







- Expose the relay box for better access.
- Replace the relay and/or shunt.

Installing the relay box in the passenger compartment
- Install the relay box on the bracket
- Press the relay box forward so that the catches engage in the bracket and "click"
- Install the soundproofing panel on the driver's side.

Removing the control module

Preparations

CAUTION: The customer-programmed data must be read off before the control module is replaced. The information must then be entered into the new control module after it has been installed. This is carried out via VADIS/VIDA vehicle communication.

NOTE: The driver information module (DIM) must not be replaced at the same time. This would erase the mileage.

CAUTION: New software can only be ordered after the control module has been installed in the car. VADIS/VIDA reads off the new control module identity which is required to order the correct software

NOTE: Remove fuses 11C/32, 11C/25 and 11C/21 before disconnecting the control module connector.

Always check that the control module and control module box connectors do not have bent or damaged terminals or sleeves. This may have been the cause of the fault.

Removing the connector and the cover







- Slacken off the screw holding the connector so that it releases from the threads. Check that the screw is free with your fingers.

NOTE: Do not damage the terminal pins.

- Use pliers to disconnect the connector. Grip the screw and pull it straight outwards so that the connector and cover follow.







- Remove all relays and shunts bridged to the control module. Note the locations.







- Release the catch on the rear. Use a screwdriver
- Lift and pull out the control module.







Check that the control module connector is intact.







Installing the control module
- Press the control module into place so that the catch on the rear engages
- Position the connector. Carefully press the connector down.

NOTE: The pins are fragile. Check that the connector goes straight down into the control module.

- Tighten the screw for the connector
- Check that the connector cover is correctly positioned. Remedy if necessary
- Install the relays and shunts.
- Install the relay box.
- Install the soundproofing panel on the driver's side.

Key codes must be programmed before the central electronic module (CEM) will accept the keys that belong to the car. This is carried out in Add/Remove keys via VADIS/VIDA vehicle communication.

Finishing
- Program in the data read off from the old control module (customer-programmed data for example). This is carried out via VADIS/VIDA vehicle communication
- Reset the service reminder indicator (SRI). Otherwise the lamp will receive incorrect reference data. (Global time is reset when the central electronic module (CEM) is replaced.)
- Check that the control area network (CAN) is functioning. This is done by reading off the control module ID for, for example, the central electronic module (CEM), rear electronic module (REM) and engine control module (ECM) via VADIS/VIDA vehicle communication.