Curiosii for ever!
: Car repair manuals for everyone.
Home
>>
Volvo
>>
2000
>>
V70 AWD L5-2.5L Turbo VIN 56 B5254T
>>
Repair and Diagnosis
>>
Powertrain Management
>>
Computers and Control Systems
>>
Testing and Inspection
>>
Component Tests and General Diagnostics
>>
Component Access/Replace Procedures
>>
Combined Instrument Panel, Replacing
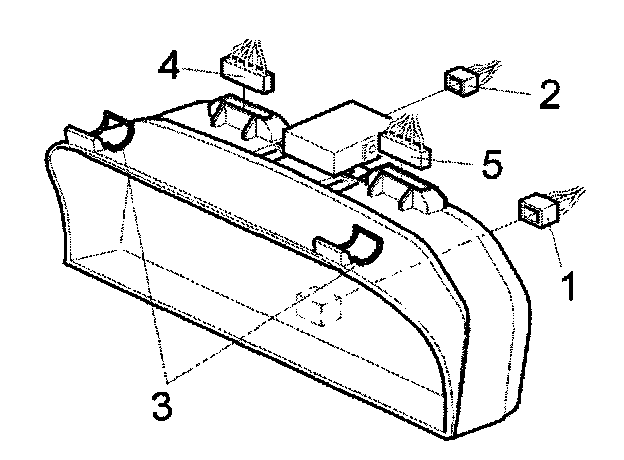
Combined Instrument Panel, Replacing
REMOVING THE COMBINED INSTRUMENT PANEL
Remove:
dashboard panel according to
Panel and SRS Passenger Airbag Module
combined instrument panel.
Disconnect connectors.
lock and alarm receiver.