Curiosii for ever!: Car repair manuals for everyone.

Separate The Connector






Separate the connector


Warning! SRSNor cable repair or other repair work may be carried out on the SRS wiring. For repairs to the SRS system refer to the instructions in the SRS Service Manual.

If the connector halves (socket housing and pin housing) are connected together or if the connector is connected to a component, then the connector halves must first be separated.

General instructions
Note that these are general instructions, variations can occur in practice.
Regard the examples shown and the procedures described as guidelines.

Types of catches and locks
The connector halves are connected to each other by different types of lock tabs/eyes.
Separation

Note! Never pull the cables when separating. Hold the connector halves.




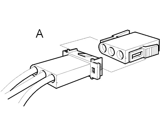
Active locking
For active locking systems (Fig. A) a catch must be pressed down to release the lock.




Passive locking
For passive locking systems (Fig. B) the catch is released when force is applied to separate the connector halves.

Reconnecting
The connector halves are physically located with a guide pin.
Always turn the connector halves to the correct position when reconnecting.
Check that connector halves lock properly into each other.